Curiosii for ever!: Car repair manuals for everyone.

Fuel System Monitoring



.06.00.00 Fuel System Monitoring

.06.01.00 General Description

Fuel Injection System
In comparison to conventional systems the gasoline is not injected into the intake manifold but directly into the combustion chamber.
Due to the higher pressure level in the combustion chamber, e.g. during the compression stroke, a high pressure fuel injection system is used.

Mixture Pilot Control
The air flow sucked in by the engine the engine speed and fuel pressure are measured. These signals are used to calculate an injection signal. This mixture pilot control follows fast load and speed changes.

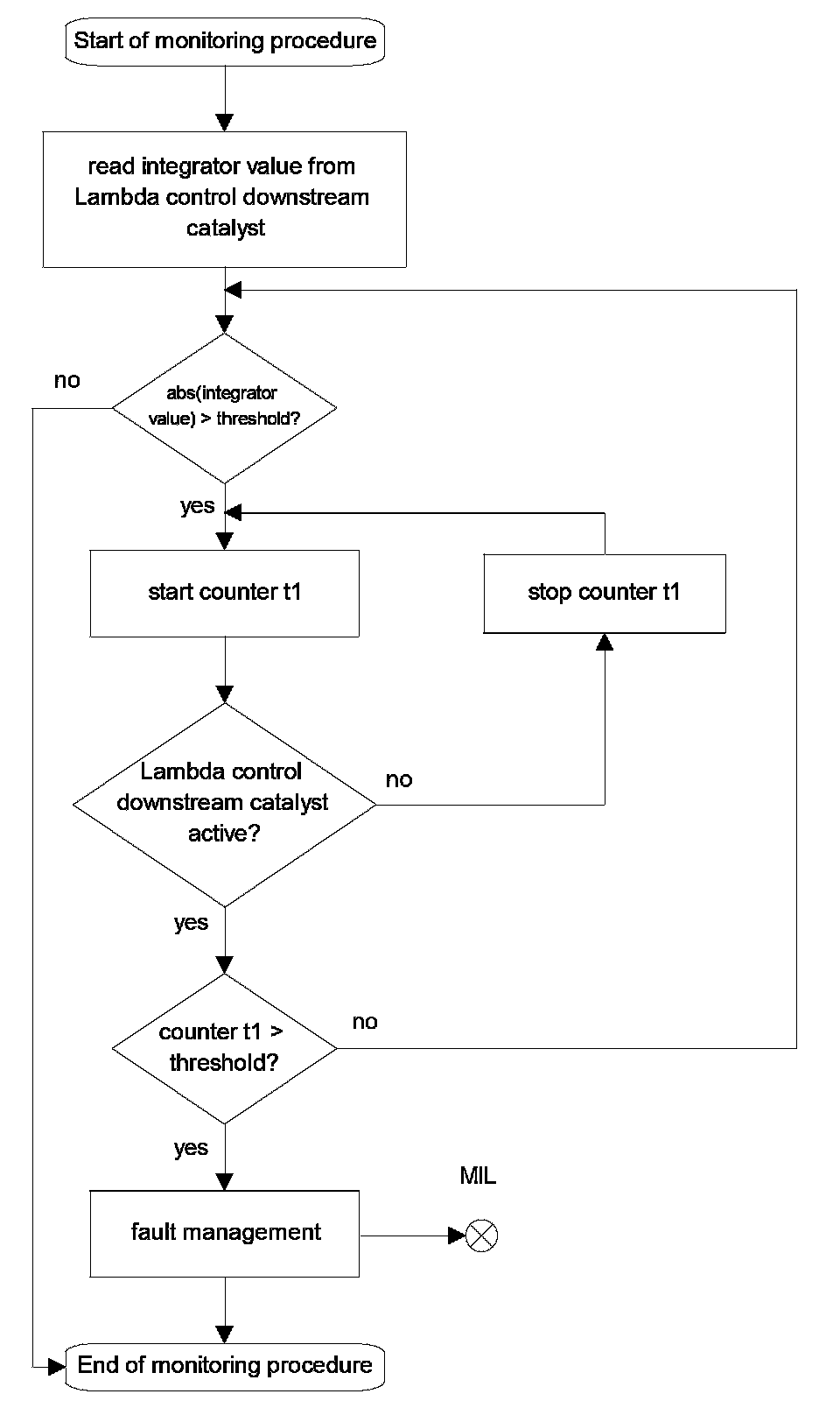
Lambda-controller
The ECM compares the Oxygen sensor signal upstream the catalyst with a reference value and calculates a correction factor for the pilot control.

.06.00.02 Monitoring function description

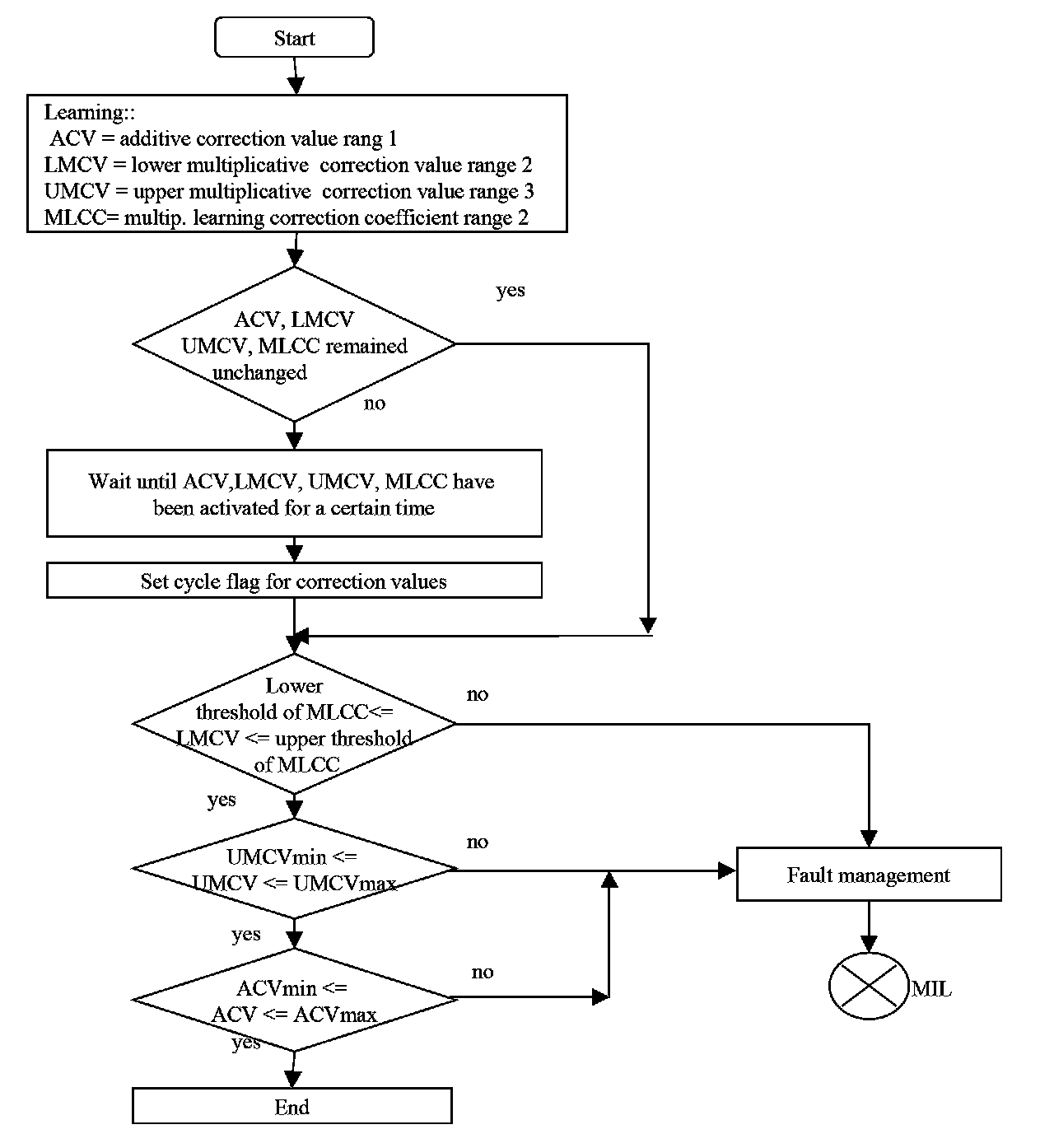
Adaptive pilot control
Drifts and faults in sensors and actuators of the fuel delivery system as well as unmeasured air leakage influences the pilot control. The controller corrects amplitudes increases. If there are different correction values needed in different load speed ranges, a certain time passes until the correction is complete. The correction values will be determined in three different ranges.

Fuel trim
The basic air/fuel ratio control using the signal from the front O2 sensors(s) is corrected by an adaptation calculation. This adaptation results in a factor which is applicable for the whole working range. (e.g. 20%)
A further trim control based on the signal(s) from the rear O2 sensor(s) is correcting the adaption factor. Therefore this trim control is working in the same way in the whole range.
If the trim control reaches the allowed limit (e.g. 2%) the fault code for fuel delivery trim control is set.
Any deviation from the characteristic curve of oxygen sensor upstream catalyst due to poison will be detected by the control loop downstream catalyst.

.06.00.03 Chart(s) and flow chart(s)







Lambda deviations in range 1 are compensated by an additive correction value multiplied by an engine speed term. This creates an additive correction per time unit.
Lambda deviations in range 2 are compensated by multiplication of a factor.
Lambda deviations in range 3 are compensated by multiplication of a factor (optional depending on individual calibration).
A combination of all two (three) ranges will be correctly separated and compensated.
Each value is adapted in its corresponding range only. But each adaptive value corrects the pilot control within the whole load/speed range by using a linear interpolation formula. The stored adaptive values are included in the calculation of the pilot control just before the closed loop control is active.

Diagnosis of the fuel delivery system
Faults in the fuel delivery system can occur which cannot be compensated for by the adaptive pilot control.
In this case, the adaptive values exceed a predetermined range.
If the adaptive values exceed their plausible ranges, then the MIL is illuminated and the fault is stored.







Flow chart: Fuel trim