Ignition Lock: Service and Repair
Lock Cylinder
CAUTION!
When disconnecting and connecting the Battery ( A), the procedure must be followed as described in the Repair Information. Refer to => [ Battery A, Disconnecting and Connecting ] Battery A, Disconnecting and Connecting.
Special tools, testers and auxiliary items required
• Steel Wire (approximately dia. 1.2 mm)
Removing
- Remove the steering column trim.
- Carefully remove the Anti-Theft Immobilizer Reading Coil (D2) - arrow - from the lock cylinder.
• The Anti-Theft Immobilizer Reading Coil (D2) is attached to the lock cylinder and cannot be replaced separately.
- Insert ignition key into lock cylinder and turn it to "Drive ".
Key positions of lock cylinder:
1. Position "Off"
2. Position "Run"
3. Position "Start"
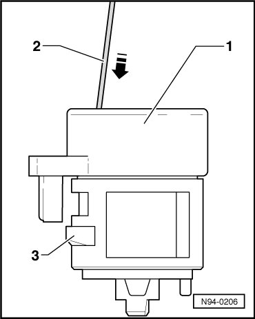
- Insert a steel wire (approximately dia. 1.2 mm) into the hole - arrow - next to the key.
- Unlock the lever on the lock cylinder with the steel wire - arrow - and pull the lock cylinder out of the steering lock housing.
1. Lock Cylinder
2. Steel wire (approximately dia. 1.2 mm)
3. Securing lever
Installing
- Insert ignition key into lock cylinder and turn it to "Drive ".
- Unlock the lever with a steel wire (approximately dia. 1,2 mm) and install the lock cylinder into the steering lock housing.
• When inserting lock cylinder, make sure connection for Anti-Theft Immobilizer Reading Coil (D2) is inside the guide in the steering lock housing.
- Pull the steel wire out of the lock cylinder and then check to make sure the lock cylinder fits securely in the steering lock housing.
- Connect the connector - arrow - from the Anti-Theft Immobilizer Reading Coil (D2) to the lock cylinder.