Curiosii for ever!: Car repair manuals for everyone.

Engine Speed (RPM) Sensor, Checking



Engine Speed (RPM) Sensor, Checking

Function
The Engine speed (RPM) sensor -G28- detects engine speed and reference marks. Without an engine speed signal, the engine will not start. If the engine speed signal fails while the engine is running, the engine will stop immediately.

Recommended special tools and equipment
- V.A.G 1526 multimeter or V.A.G 1715 multimeter
- V.A.G 1594 connector test kit
- Wiring diagram

Work sequence







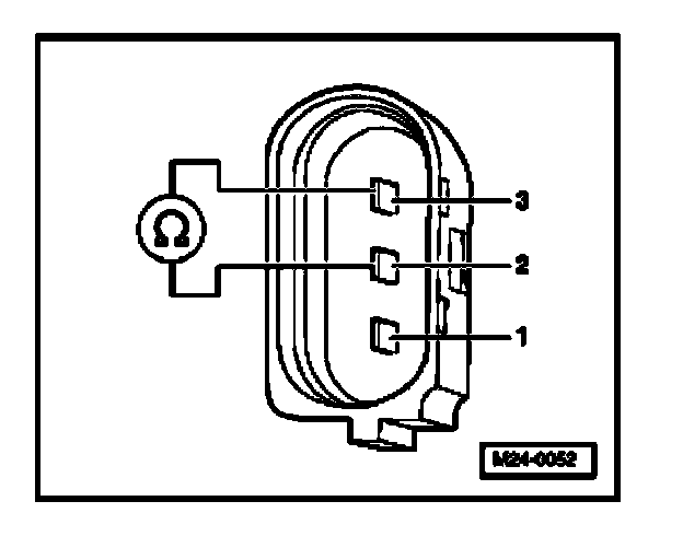
- Disconnect gray 3-pin harness connector (arrow) to engine speed (RPM) sensor.







- Measure sensor resistance between terminals 2 + 3 at connector to sensor.
Vehicles with engine code AEG:

Specified value: 480 to 1000 Ohms

Vehicles with engine code AVH, AZG, BDC, BEV, BGD:

Specified value: 730 to 1000 Ohms

Continued for all vehicles
- Check sensor for short circuit between terminals 1+2 and 1+3.

Specified value: Infinite Ohms

If specified values are not obtained:
- Replace Engine speed (RPM) sensor -G28-
- Erase DTC memory of Engine Control Module (ECM). Diagnostic mode 4: Reset/erase diagnostic data. Diagnostic Mode 4: Reset/Erase Diagnostic Data
- Generate readiness code. Monitors, Trips, Drive Cycles and Readiness Codes

If no malfunction is found on sensor:
- Connect test box to control module wiring harness. connect test box for wiring test. Test Box, Connecting For Wiring Test

Vehicles with engine code AEG







- Check wires between test box and 3-pin connector for open circuit according to wiring diagram.

Terminal 1 + socket 67
Terminal 2 + socket 63
Terminal 3 + socket 56

Wire resistance: max. 1.5 Ohms

Vehicles with engine code AVH, AZG, BDC, BEV, BGD







- Check wires between test box and 3-pin connector for open circuit according to wiring diagram.

Terminal 1 + socket 108
Terminal 2 + socket 90
Terminal 3 + socket 82

Wire resistance: max. 1.5 Ohms

Continued for all vehicles
- Check wires for short circuit to each other, to vehicle Ground (GND) and to B+.

Specified value: Infinite Ohms

If no malfunctions are found in wires:
- Remove sensor and check sensor wheel for secure fit, damage, and run-out.

NOTE: There is a larger-sized gap on the sensor wheel. This gap is the reference mark and does not mean that the sensor wheel is damaged.

If nothing seems to be wrong with the sensor wheel:
- Replace Motronic Engine Control Module (ECM) -J220-.