Engine Coolant Temperature Sensor, Checking
Engine Coolant Temperature Sensor, Checking
CAUTION!
• Cooling system is under pressure.
• Danger of scalding when opening!
• Use only gold-plated terminals when servicing terminals in the electrical harness connector of Engine Coolant Temperature (ECT) Sensor (G62).
Special tools, testers and auxiliary items required
• Multimeter.
• jumper wire.
• Wiring diagram.
Test requirements
• The Motronic Engine Control Module (ECM) (J220) fuses OK.
• Battery voltage at least 12.5 volts.
• All electrical consumers such as, lights and rear window defroster, switched off.
• Vehicles with automatic transmission, shift selector lever into position "P" or "N".
• A/C switched off.
• Ground (GND) connections between engine/transmission/chassis OK.
• Ignition switched off.
• Engine cold.
Test procedure
- Perform a preliminary check to verify the customers complaint. Refer to => [ Engine Control Module, Replacing ] Engine Control Module, Replacing
Start diagnosis
- Connect the scan tool.
- Switch the ignition on.
- Using the scan tool, check the coolant temperature:
If the specified value is not obtained:
- Continue test according to the following table:
If the specified value was obtained:
- Start the engine and let it run at idle.
The temperature value must increase uniformly in increments of 1.0° C.
If the engine shows problems in certain temperature ranges and if the temperature does not climb uniformly, the temperature signal is intermittent.
- Replace the the Engine Coolant Temperature (ECT) Sensor (G62)
Checking internal resistance
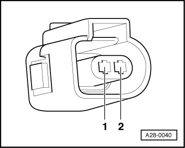
- Disconnect the Engine Coolant Temperature (ECT) Sensor (G62) electrical harness connector - arrow -.
- Using a multimeter, check the Engine Coolant Temperature (ECT) Sensor (G62) terminals 1 to 2 for resistance.
Use the chart below for the specified values:
• Area A: Resistance values 0 to 50° C.
• Area B: Resistance values 50 to 100° C.
Specified values:
• Range A, 30° C equals a resistance of 1.5 to 2.0 kohms
• Range B, 80° C equals a resistance of 275 to 375ohms
If any of the specified values was not obtained:
- Replace the Engine Coolant Temperature (ECT) Sensor (G62)
°Testing if display is approx. - 40.0 C
- Disconnect the Engine Coolant Temperature (ECT) Sensor (G62) electrical harness connector - arrow -.
- Using a jumper wire, connect the Engine Coolant Temperature (ECT) Sensor (G62) electrical harness connector terminals 1 to 2.
- Check the value indicated on the scan tool display.
If the value jumps to approx. 140.0 °C
- End of diagnosis and switch the ignition off.
- Replace the Engine Coolant Temperature (ECT) Sensor (G62)
If indication remains at approx. -40.0 °C:
°Testing if display approx. 140.0 C
- Disconnect the Engine Coolant Temperature (ECT) Sensor (G62) electrical harness connector - arrow -.
If indication jumps to approx. -40.0 °C:
- End of diagnosis and switch ignition off.
- Replace the Engine Coolant Temperature (ECT) Sensor (G62)
If indication remains at approx. 140.0 °C:
Checking wiring
If the manufacturers test box is being used. Perform the following step.
- Install the Adapter Cable (121-pin) (VAG1598/31)
If the manufacturers test box is not being used. Perform the following step.
- Remove the Motronic Engine Control Module (ECM) (J220). Refer to => [ Engine Control Module, Replacing ] Engine Control Module, Replacing.
- Using a Multimeter, check the Engine Coolant Temperature (ECT) Sensor (G62) electrical harness connector terminals to the Motronic Engine Control Module (ECM) (J220) electrical harness connector T121 terminals for resistance.
Specified value: 1.5 ohms Max.
If the specification was not obtained:
- Check the wiring for an open circuit, short circuit to each other, Battery (+), and Ground (GND).
- Check the electrical harness connector for damage, corrosion, loose or broken terminals.
- If necessary, repair the faulty wiring connection.
If no malfunction is detected in the wiring:
- Erase the DTC memory. Refer to => [ Diagnostic Mode 04 - Erase DTC Memory ] Diagnostic Mode 04 - Erase DTC Memory.
- Perform a road test to verify repair.
If the DTC does not return:
Repair complete, Generate readiness code. Refer to => [ Readiness Code ] Readiness Code.
- End of diagnosis.
If the DTC does return and no malfunction is detected in the wiring and the voltage supply was not OK:
- Replace the Motronic Engine Control Module (ECM) (J220). Refer to => [ Engine Control Module, Replacing ] Engine Control Module, Replacing.
Final procedures
After the repair work, the following work steps must be performed in the following sequence:
1. Check the DTC memory. Refer to => [ Diagnostic Mode 03 - Read DTC Memory ] Diagnostic Mode 03 - Read DTC Memory.
2. If necessary, erase the DTC memory. Refer to => [ Diagnostic Mode 04 - Erase DTC Memory ] Diagnostic Mode 04 - Erase DTC Memory.
3. If the DTC memory was erased, generate readiness code. Refer to => [ Readiness Code ] Readiness Code.