Curiosii for ever!: Car repair manuals for everyone.

Camshaft Position Sensor: Testing and Inspection






Camshaft Position Sensor, Checking

Use only gold-plated terminals when servicing terminals in harness connector of Camshaft Position (CMP) Sensor (G40).

Special tools, testers and auxiliary items required

Multimeter.

Wiring diagram.

Test requirements

The Motronic Engine Control Module (ECM) (J220) fuses OK.

All electrical consumers such as, lights and rear window defroster, switched off.

Vehicles with automatic transmission, shift selector lever into position "P" or "N".

A/C switched off.

Ground (GND) connections between engine/transmission/chassis OK.

Ignition switched off.

Test procedure

- Perform a preliminary check to verify the customers complaint. Refer to => [ Engine Control Module, Replacing ] Engine Control Module, Replacing.

Start diagnosis

- Remove the engine cover with air filter.

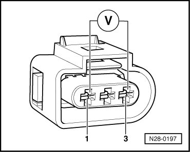
- Disconnect the Camshaft Position (CMP) Sensor (G40) electrical harness connector - arrow -.





- Switch the ignition on.

- Using a Multimeter, Check the Camshaft Position (CMP) Sensor (G40) electrical harness connector terminals 1 to 3 for voltage.





Specified value: about 5.0 V

- Switch the ignition off.

If the specification was not obtained:

Checking wiring

If the manufacturers test box is being used. Perform the following step.

- Install the Adapter Cable (121-pin) (VAG1598/31)

If the manufacturers test box is not being used. Perform the following step.

- Remove the Motronic Engine Control Module (ECM) (J220). Refer to => [ Engine Control Module, Replacing ] Engine Control Module, Replacing.

- Using a Multimeter, Check the Camshaft Position (CMP) Sensor (G40) electrical harness connector to the Motronic Engine Control Module (ECM) (J220) electrical harness connector T121 for resistance.









Specified value: 1.5 ohms Max.

If the specified value was not obtained:

- Check the wiring connection for an open circuit, short circuit to Battery (+) or Ground (GND).

- Check the wiring connection for damage, corrosion, loose or broken terminals.

- If necessary, repair the faulty wiring connection.

If no malfunction is found in the wiring and voltage supply was OK:

- Replace the Camshaft Position (CMP) Sensor (G40).

- Erase the DTC memory. Refer to => [ Diagnostic Mode 04 - Erase DTC Memory ] Diagnostic Mode 04 - Erase DTC Memory.

- Perform a road test to verify repair.

If the DTC does not return:

Repair complete, Generate readiness code. Refer to => [ Readiness Code ] Readiness Code.

- End of diagnosis.

If the DTC does return and no malfunction is detected in the wiring and the voltage supply was not OK:

- Replace the Motronic Engine Control Module (ECM) (J220). Refer to => [ Engine Control Module, Replacing ] Engine Control Module, Replacing.

- Assembly is performed in the reverse of the removal.

Final procedures

After the repair work, the following work steps must be performed in the following sequence:

1. Check the DTC memory => [ Diagnostic Mode 03 - Read DTC Memory ] Diagnostic Mode 03 - Read DTC Memory.

2. If necessary, erase the DTC memory => [ Diagnostic Mode 04 - Erase DTC Memory ] Diagnostic Mode 04 - Erase DTC Memory.

3. If the DTC memory was erased, generate readiness code => [ Readiness Code ] Readiness Code.