Curiosii for ever!: Car repair manuals for everyone.

Ignition Switch Lock Cylinder: Service and Repair



Lock Cylinder, Removing And Installing

CAUTION:
Before beginning repairs on the electrical system:
- Obtain the anti-theft radio security code.
- Switch off all electrical consumers.
- Switch ignition off and remove ignition key.
- Disconnect negative ( - ) battery terminal.
- When disconnecting and reconnecting battery terminals, observe all applicable Notes and torque specifications, as well as instructions on performing OBD program and electrical system function checks

Removing
- Disconnect battery.
- Remove steering column switches.







- Where applicable, carefully disconnect electrical connection for the induction coil for anti-theft immobilizer from lock cylinder.

NOTE: If equipped, the induction coil for anti-theft immobilizer is integrated with the lock cylinder and cannot be serviced separately.

- Insert ignition key in lock cylinder and turn to position "Drive".

Position of key in lock cylinder:
1. Position "Stop"
2. Position "Drive"
3. Position "Start"







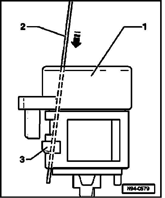
- Insert steel wire (approx. dia. 1.2 mm) in drilling next to ignition key -arrow-.

NOTE: To enable steel wire to be inserted straight into hole, ignition key may have to be dismantled and inserted into lock cylinder without key head.

- Dismantling ignition key







- Release lock cylinder securing lever using wire -arrow- and remove lock cylinder from steering lock housing.

1. Lock cylinder
2. Steel wire (approx. dia. 1.2 mm)
3. Securing lever

Installing
- Insert ignition key in lock cylinder and turn to position "Drive".
- Release securing lever using wire (approx. dia. 1.2 mm) and insert lock cylinder in steering lock housing.

NOTE: Where applicable, ensure immobilizer induction coil electrical connection orientation in lock cylinder housing guide.

- Pull wire out of lock cylinder and ensure lock cylinder is secured properly in steering lock housing.







- Where applicable, reconnect immobilizer reading coil electrical connector -arrow- to lock cylinder.
- Install steering column switches and steering wheel.
- Reconnect battery.