Curiosii for ever!: Car repair manuals for everyone.

EVAP System, Assembly Overview



EVAP System, Assembly Overview (Engine Codes AVH, BEV)







1. Tank flap unit
2. Fuel tank
3. Fuel delivery unit
4. Intake hose
5. Throttle valve control module -J338-
6. Intake manifold
7. Fuel rail with injectors
8. Fuel pressure regulator
9. Fuel filter
- Installed position: Arrow points in direction of flow
10. Evaporative Emissions (EVAP) canister purge regulator valve -N80-
- Installed position: Arrow points in direction of flow
- Valve will be activated by engine control module (pulsed)
11. Test connection
12. Gravity valve
13. Pressure retention valve
14. Change-over valve
15. Evaporative Emissions (EVAP) canister
- In right rear wheelhousing, behind wheelhousing liner
16. Leak Detection Pump (LDP) -V144-
- In right rear wheelhousing, behind wheelhousing liner
- Pump will be activated by engine control module (pulsed)
17. Air filter for Leak Detection Pump (LDP) -V144-







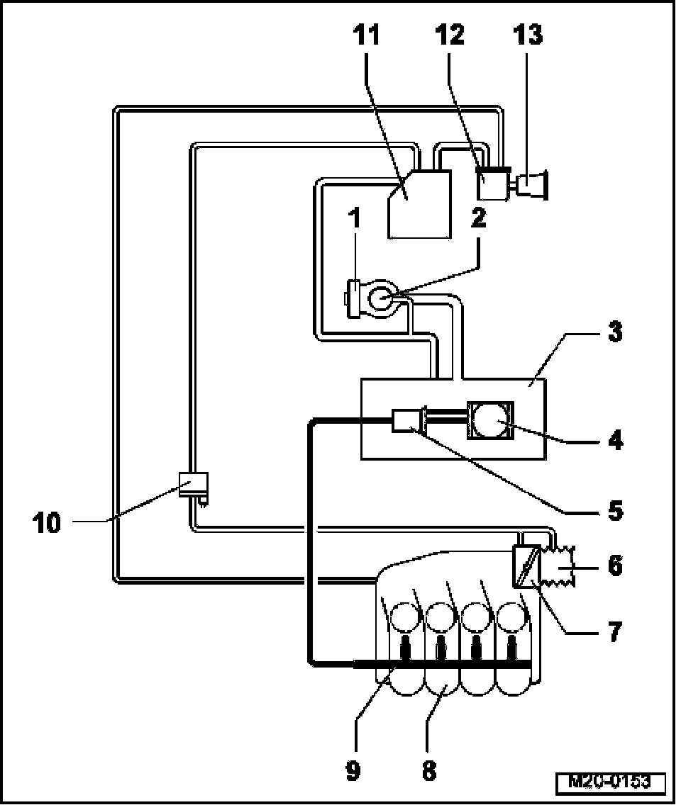
Engine Code BBW
1. Tank flap unit
2. Non-return valve
3. Fuel tank
4. Fuel delivery unit
5. Fuel filter
- Installed position: Arrow points in direction of flow
6. Intake hose
7. Throttle valve control module -J338-
8. Intake manifold
9. Fuel rail with injectors
10. Evaporative Emissions (EVAP) canister purge regulator valve -N80-
- Right front in engine compartment
- Installed position: Arrow points in direction of flow
- Valve will be activated by engine control module (pulsed)
11. Evaporative Emissions (EVAP) canister
- In right rear wheelhousing, behind wheelhousing liner
12. Leak Detection Pump (LDP) -V144-
- In right rear wheelhousing, behind wheelhousing liner
- Pump will be activated by engine control module (pulsed)
13. Air filter for Leak Detection Pump -V144-