Curiosii for ever!: Car repair manuals for everyone.

EVAP Canister System, Overview



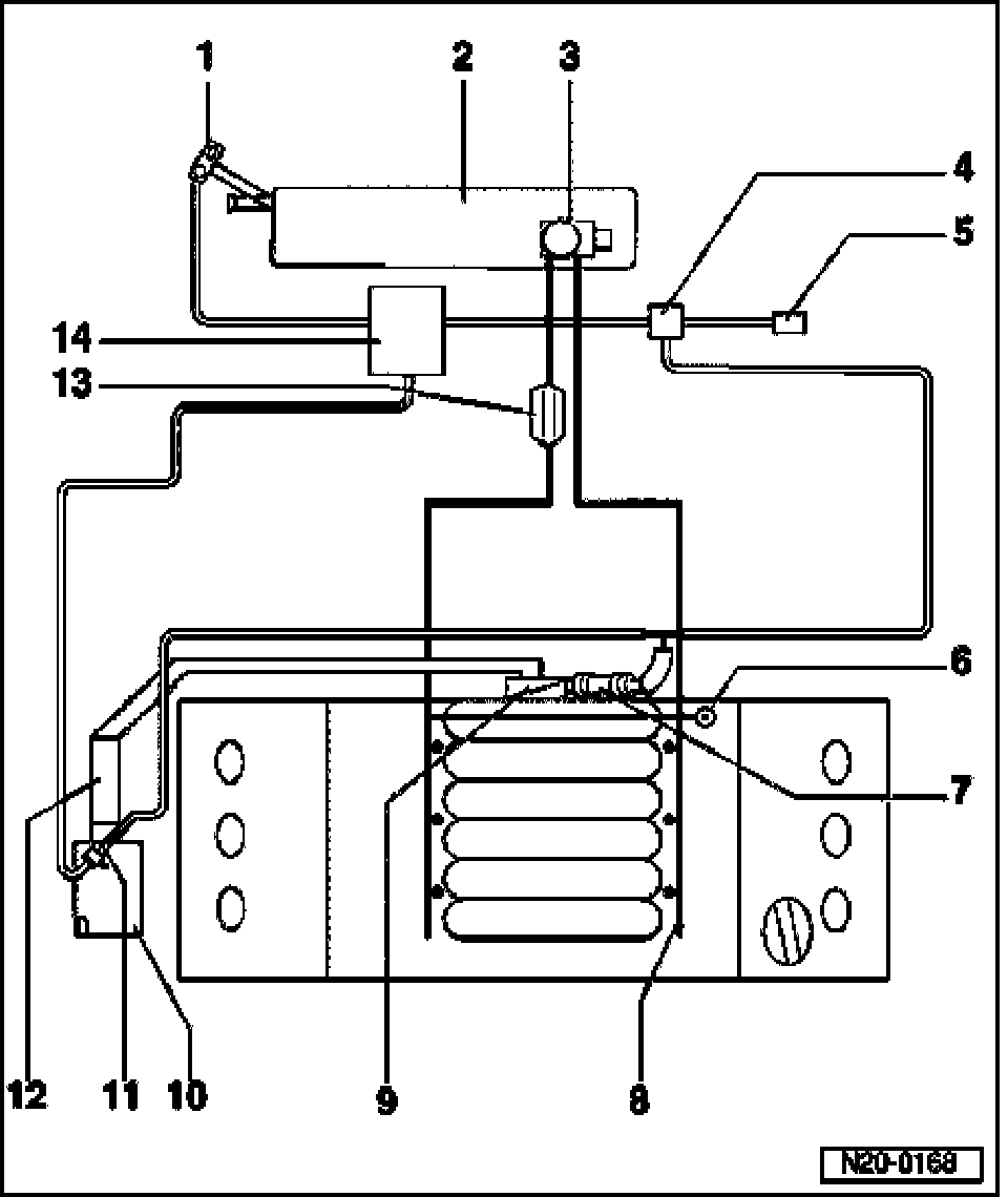
EVAP canister system, overview







1 Tank lid unit
- with rubber cap
2 Fuel tank
3 Fuel Pump (FP)
4 Leak detection pump (LDP) -V144-*
- Under wheelhousing liner in rear left wheelhousing
5 Air filter for diagnostic pump
6 Fuel pressure regulator
7 Vacuum booster
8 Fuel rail with fuel injectors
9 Throttle Valve Control Module -J338-*
10 Air filter housing
11 Evaporative Emission (EVAP) Canister Purge Regulator Valve -N80-*
- Installation position: Arrow points in direction of flow
12 Mass Air Flow (MAF) Sensor -G70-*
13 Fuel filter
- Installation position: Arrow points in direction of flow
14 EVAP canister
- In spare wheel well at vehicle floor.