Curiosii for ever!: Car repair manuals for everyone.

Radio Frequency Remote Control Batteries, Replacement



Radio Frequency Remote Control Batteries, Removing And Installing







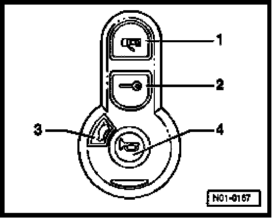
1 Button for unlocking Vehicle
2 Button for locking Vehicle
3 Button for rear compartment door release
4 Panic button (horn/signal lights)







1 Upper housing (transmitter with buttons)
2 Battery
3 Metal contact
4 Battery
5 Lower housing

Removing







- Using screwdriver or coin, separate upper housing from lower housing.







- Using screwdriver, remove upper battery -1- from bracket -2- in direction of arrow.







- Metal contact -1- has two straight edges. Turn these edges toward catches and remove metal contact.
- Remove lower battery using screwdriver.

Installing
When installing batteries, make sure batteries are installed correctly according to polarity.







- Install battery -4- positive side down in lower housing -5-.
- Place metal contact -3- on battery -4-.
- Place battery -2- plus side down on metal contact -3- and lock in place.
- Attach upper housing -1- with transmitter to lower housing -2- and lock in place.