Curiosii for ever!: Car repair manuals for everyone.

Ignition Lock (With Automatic Transmission), Checking


Ignition lock (with automatic transmission), checking





- Turn ignition key to position -B- (ignition on)

Must be possible to move selector lever out of park

If selector lever will not move, adjust the ignition lock cable.

Refer to Transmission and Drivetrain; Automatic Transaxle Transmission Ignition lock cable: remove and installing

Notes:

^ Ignition key can only be removed with selector lever in park "P" position.

^ With ignition key in off position, the selector lever must not move out of park.

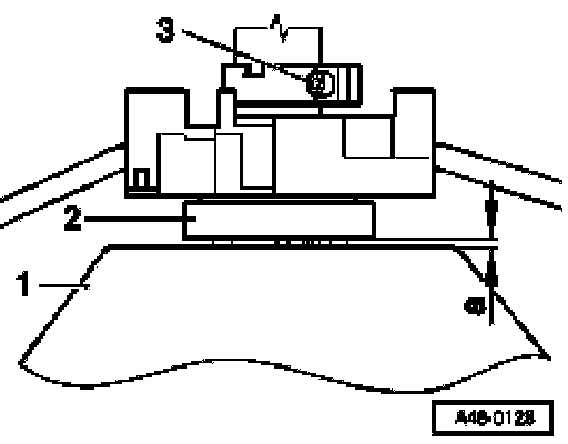
Ignition switch, installing





If ignition switch has been removed, dimension -a- between steering wheel and spiral spring must be readjusted

1. Steering wheel
2. Spiral spring housing
3. Ignition switch bolt

a - = Approx. 2.5 mm (0.10 inch)

- Install ignition switch





- Install steering wheel so marked line -arrow A- on steering wheel and center punch mark -arrow B- on steering column align.

- Steering columns supplied as replacement parts do not have a center punch mark.

- Install steering wheel bolt and tighten.
- Align ignition switch horizontally.





- Set gap -a- to approx. 2.5 mm. (0.10 inch).
- Tighten bolt -3-.
- Remove steering wheel again.
- Install trim in reverse order of removal.
- Install steering wheel bolt and tighten.

Multi-point socket head bolt: 50 Nm (37 lbs.)

- Make one center punch mark on multi-point socket head bolt.

Note:

Multi-point socket head bolts with five center punch marks must be replaced.

If a new steering column has been installed, center point can be determined via test drive.





- Install steering wheel in straight ahead position.
- Mark steering column after center point has been determined

A - Mark on hub of steering wheel
B - Mark on steering column

- Install airbag module

WARNING:

When connecting battery make sure no one is in vehicle!