Curiosii for ever!: Car repair manuals for everyone.

Electronic Throttle Control Module: Testing and Inspection



Throttle valve control module, checking

Note: Use only gold-plated terminals when servicing terminals in harness connector of throttle valve control module.

Vehicles with engine code BDC, BEV, BGD (121-pin ECM)

Function

The throttle valve activation occurs via an electric motor (throttle drive) in the throttle valve control module. It is activated by the Engine Control Module (ECM) according to specifications of the two sensors, Throttle Position (TP) sensor -G79- and Sender 2 for accelerator pedal position -G185-

Components of throttle valve control module -J338-:
^ Throttle drive (power accelerator actuation) -G186-
^ Angle sensor 1 for throttle drive (power accelerator actuation) -G187-
^ Angle sensor 2 for throttle drive (power accelerator actuation) -G188-

Recommended special tools and equipment
^ V.A.G 1526 multimeter or V.A.G 1715 multimeter
^ V.A.G 1594 connector test kit
^ Wiring diagram

Requirements





^ The respective fuses of Motronic Engine Control Module (ECM) -J220- must be OK:
^ Battery voltage must be at least 11.5 volts.
^ All electrical consumers such as, lights and rear window defroster must be switched off.
^ Parking brake must be engaged or else daylight driving lights will be switched on.
^ If vehicle is equipped with an A/C system, it must be switched off.
^ Ground (GND) connections between engine and chassis must be OK.
^ Throttle valve must not be damaged or dirty.
^ Coolant temperature must be at least 80°C

Function test

- Connect diagnostic tester.
- Switch ignition on.
- Under address word 33, select "Diagnostic mode 1: Check measured values."
- Select measuring value "PID 17: Throttle valve position (absolute)."
- Check specified value of throttle valve position (absolute) at idle stop:





- Slowly depress accelerator pedal to Wide Open Throttle (WOT) stop while observing the percentage display.

The percentage display must increase uniformly.

- Check specified value of throttle valve position (absolute) at Wide Open Throttle (WOT) stop:





- End diagnosis and switch ignition off.

If specified values are not obtained:





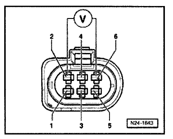
- Disconnect 6-pin connector (arrow) at throttle valve control module.

Checking resistance





- Measure resistance of Throttle drive (power accelerator actuation) -G186- in Throttle Valve Control Module -J338- between terminals 3 + 5
Specified value: 1.0 to 5.0 ohms

If specified value is not obtained:

- Replace throttle valve control module:
- Erase DTC memory of Engine Control Module (ECM)
- Generate readiness code

If specified value is obtained:


- Check voltage supply of throttle valve control module and wiring to control module
- - Check Throttle Position (TP) sensor -G79- and Sender 2 for accelerator pedal position -G185-

If voltage supply and wires are OK:

- Replace Motronic Engine Control Module (ECM) -J220-

Checking voltage supply and wiring to control module





- Connect multimeter to connector terminals 2 + 6 for voltage measurement.
- Switch ignition on.

Specified value: at least 4.5 V

- Switch ignition off.
- Connect test box to control module wiring harness
Engine Control Module (ECM) is not connected.





- Check wires between test box and 6-pin connector for open circuit according to wiring diagram:

^ Terminal 1 + test box socket 92
^ Terminal 2 + test box socket 83
^ Terminal 3 + test box socket 117
^ Terminal 4 + test box socket 84
^ Terminal 5 + test box socket 118
^ Terminal 6 + test box socket 91
^ Wire resistance: max. 1.5 ohms

- Check wires for short circuit to each other, to vehicle Ground (GND) and to battery + and Ground (GND).

Specified value: infinite ohms

If no malfunctions are found in wires:
- Check voltage supply of Engine Control Module (ECM)
- Erase DTC memory of Engine Control Module (ECM)
- Generate readiness code