Curiosii for ever!: Car repair manuals for everyone.

Overview Plan of EVAP Canister System



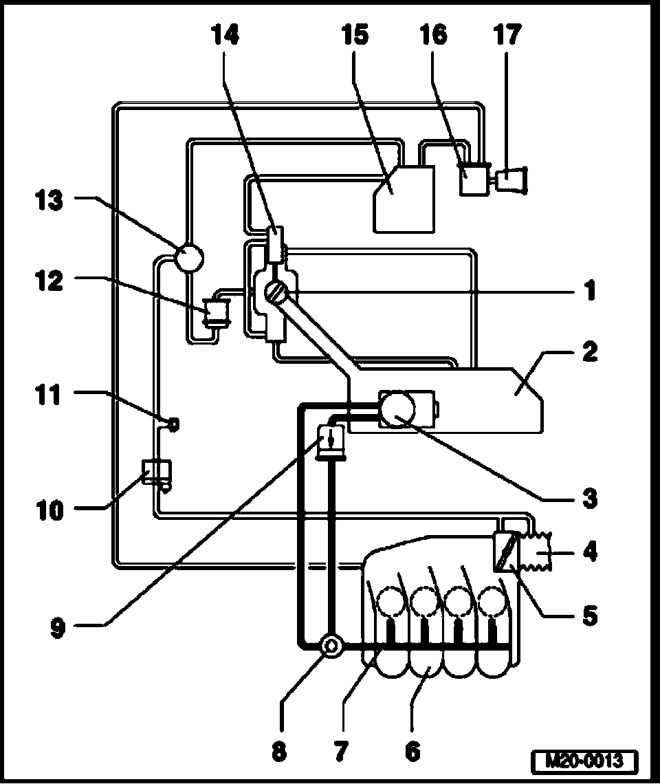
Overview Plan Of EVAP Canister System (Vehicles With Engine Code BDC)







1 Tank lid unit
- with rubber cap
2 Fuel tank
3 Fuel pump
4 Intake hose
5 Throttle valve control unit (J338)*
6 Upper part of intake manifold
7 Fuel rail with fuel injectors
8 Fuel pressure regulator
9 Fuel filter
- Installation position: Arrow points in direction of flow
10 Evaporative Emission (EVAP) Canister Purge Regulator Valve -N80-*
- Installation position: Arrow points in direction of flow
11 Test connection
- not available on all vehicles
12 Gravity valve
13 Pressure retention valve
14 Change-over valve
15 EVAP canister
- Under wheel housing liner in rear right wheel housing
16 Leak Detection Pump (LDP) -V144-*
- Under wheel housing liner in rear right wheel housing
17 Air filter for diagnostic pump