Curiosii for ever!: Car repair manuals for everyone.

Test Step 15



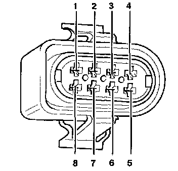
Multi-Function Transmission Range (TR) Switch -F125-

- Disconnect connector from multi-function TR switch







Connector pin assignment
1 - To Pin 63 of TCM connector
2 - To Pin 40 of TCM connector
3 - To Pin 1 of TCM connector (Ground)
4 - Vacant
5 - To Pin 18 of TCM connector
6 - To Pin 62 of TCM connector
7 - To Pin 23 of TCM connector (voltage supply terminal 15)


Checking supply voltage.
- Connect VAG 1598/18 test box.
- Switch multimeter to 20 V measuring range.
- Switch ignition ON.







- Measure between terminal 7 and terminal 3 (Ground) on disconnected multi-function TR switch connector.

Specification: Battery voltage

- Measure from terminal 7 of connector to socket 1 on 1598/18 (Ground).
- Measure from socket 23 (terminal 15) on 1598/18 to socket 1 on 1598/18 (Ground).

Specification: Battery voltage

If the specifications are not obtained: Repair wiring according to wiring diagram.

If the specifications are obtained: Check wiring further
- Switch ignition OFF
- Remove relay for Park/Neutral Position (PNP) Relay -J226-.
- Set multimeter to 200 Ohms resistance measuring range.

Check the wiring between the multi-pin connector on the TCM and the connector on the multi-function TR switch.

- Measure between sockets 1 and 18 on VAG 1598/18.

Specification: Infinity Ohms

- Measure between sockets 23 and 18 on VAG 1598/18.

Specification: Infinity Ohms

- Measure between socket 18 on VAG 1598/18 and terminal 5 on connector.

Specification: Less than 1.5 Ohms

If the specifications are not obtained: Repair wiring using wiring diagram.

If the specifications are obtained: Check wiring further:
- Measure between sockets 1 and 63 on VAG 1598/18.

Specification: Infinity Ohms


- Measure between sockets 23 and 63 on VAG 1598/18.

Specification: Infinity Ohms

- Measure between socket 63 on VAG 1598/18 and terminal 1 on connector.

Specification: Less than 1.5 Ohms

If the specifications are not obtained: Repair wiring according to the wiring diagram.

If the specifications are obtained: Check wiring further:
- Measure between sockets 1 and 62 on VAG 1598/18.

Specification: Infinity Ohms
- Measure between sockets 23 and 62 on VAG 1598/18.

Specification: Infinity Ohms

- Measure between socket 62 on VAG 1598/18 and terminal 6 on connector.

Specification: Less than 1.5 Ohms

If the specifications are not obtained: Repair wiring using wiring diagram.

If the specifications are obtained, check wiring further:
Measure between sockets 1 and 40 on VAG 1598/18.

Specification: Infinity Ohms
- Measure between sockets 23 and 40 on VAG 1598/18.

Specification: Infinity Ohms

- Measure between socket 40 on VAG 1598/18 and terminal 2 on connector.

Specification: Less than 1.5 Ohms

If the specifications are not obtained: Repair wiring using wiring diagram.

If the specifications are obtained: Replace multi-function TR switch.

- Install Park/Neutral Position (PNP) Relay -J226-.