Curiosii for ever!: Car repair manuals for everyone.

EVAP Canister System, Assembly Overview







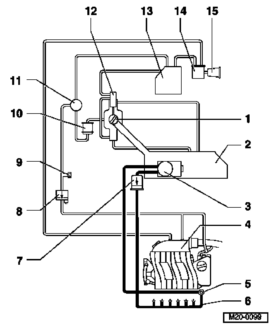
EVAP canister system, assembly overview
1. Tank flap unit
2. Fuel tank
3. Fuel delivery unit
4. Intake manifold
5. Fuel pressure regulator
6. Fuel rail with injectors
7. Fuel filter
^ Installation position: Arrow points in direction of flow
8. EVAP canister purge regulator valve -N80
9. Test union
10. Gravity valve
11. Pressure retention valve
12. Change-over valve
13. EVAP canister
^ In rear right wheel housing, behind wheel housing liner
14. Leak Detection Pump (LDP) -V144
15. Air filter for LDP