Electronic Throttle Control Module: Diagrams
Evaporative Emissions System, Overview
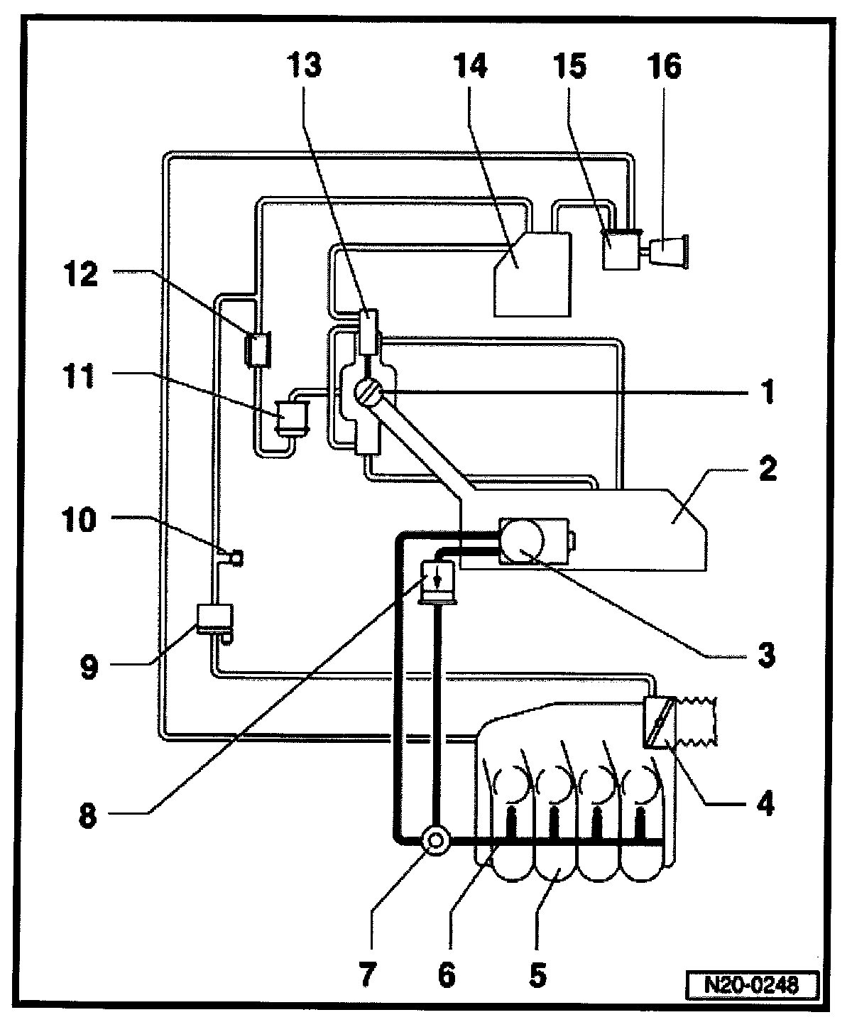
Component Overview:
1 - Tank cap unit
- With rubber cup
2 - Fuel tank
- Support with VAG 1383 A engine/transmission jack when removing
3 - Fuel delivery unit
4 - Throttle Control Module J338
5 - Intake manifold upper section
6 - Fuel rail with injectors
7 - Fuel pressure regulator
8 - Fuel filter
- Installation position: Arrow points in direction of flow
9 - 10 EVAP canister purge regulator valve N80*/**
- In right engine compartment, over wheel housing
- Installation position: Arrow points in direction of flow
11 - Test connection
12 - Gravity/overflow valve
13 - Pressure retention valve
- For fuel tank breathing
14 - Change over valve
15 - EVAP canister
- In right rear wheel housing under wheel housing liner
- Mounted on body
16 - Leak Detection Pump (LDP) V144
- On EVAP canister
17 - Air cleaner for leak detection pump (LDP)
- For Leak Detection Pump