Curiosii for ever!: Car repair manuals for everyone.

Transmission Vehicle Speed Sensor (VSS), Checking



Transmission Vehicle Speed Sensor (VSS), checking (vehicles with 01M transmission)

Recommended special tools and equipment
V.A.G 1526 multimeter or V.A.G 1715 multimeter
V.A.G 1594 connector test kit
Wiring diagram

Requirements
- Respective fuses must be OK:
- Selector lever must be in -P- position.
- All electrical consumers such as, lights and rear window defroster must be switched off.
- Parking brake must be engaged.
- Ground (GND) connections to transmission must be OK.
- Ignition switched off.

Test sequence





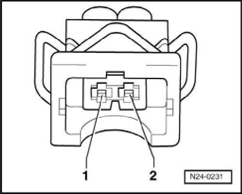
- Disconnect connector from Transmission Vehicle Speed Sensor (VSS) -G38-.
- Observe safety precautions.
- Check harness connector for contact corrosion and ingress of water.

If harness connector is not OK:
- Repair the malfunction.
- Erase DTC memory of Transmission Control Module (TCM), Diagnostic mode 4: Reset/erase diagnostic data.
- Generate readiness code. Monitors, Trips, Drive Cycles and Readiness Codes

If harness connector is OK:
- Check wires to Transmission Control Module (TCM) according to wiring diagram.

Checking wires to Transmission Control Module (TCM)
- Connect test box to control module wiring harness, connect test box for wiring test.






- Check wires between test box and 2-pin connector to Transmission Control Module (TCM) for open circuit according to wiring diagram.
Terminal 1 + socket 66
Terminal 2 + socket 21
Wire resistance: max. 1.5 ohms
Check wires for short circuit to each other, to vehicle Ground (GND) and to B+.
Specified value: infinte ohms

If no malfunctions are found in wires
- Replace Transmission Vehicle Speed Sensor (VSS) -G38-
- Erase DTC memory of Transmission Control Module (TCM), Diagnostic mode 4: Reset/erase diagnostic data.
- Generate readiness code. Monitors, Trips, Drive Cycles and Readiness Codes