Curiosii for ever!: Car repair manuals for everyone.

Throttle Position Sensor: Testing and Inspection

NOTE: IF The Throttle Valve Control Module -J338- Is Removed And Installed Or Replaced, "Basic Setting" Function O4 Must Be Initiated For Matching Of System Components.


Special Tools, Testers And Auxiliary Items
- VAG 1551/1552 Scan Tool With VAG 1551/3 Adapter Cable
- VAG 1598/18 Test Box
- Multimeter (Fluke 83 Or Equivalent)
- Connector Test Kit VW 1594
- Wiring Diagram

Checking Voltage Supply




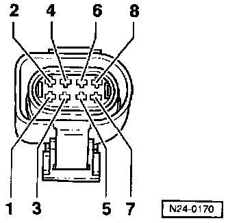
- Separate 8-pin connector to throttle valve control module -J338-.
- Connect multimeter using test leads from VW 1594 to measure voltage at terminals 3 and 7 of connector.
- Switch ignition on.
Specification: 9.0-14.5 volts
- Connect multimeter using adapter cables from VW 1594 to measure voltage at terminals 4 and 7 of connector.
Specification: 4.0-6.0 volts
- Switch ignition off.

If the specifications are not attained:




- Connect VAG 1598/18 test box to ECM wiring harness.




- Check wiring between test box and 8-pin connector for open circuit according to wiring diagram.
- Terminal 3 and test box socket 10
- Terminal 4 and test box socket 41
- Terminal 7 and test box socket 33
- Resistance: Maximum 1.5 ohms




- Check wiring at 8-pin connector for short circuit to each other.
- Terminal 7 and test box socket 10
- Terminal 7 and test box socket 41
- Terminal 4 and test box socket 33
- Specification: Infinite Ohms
- Reconnect connector.

If no wiring malfunction is detected:
- Replace Engine Control Module-J220-.
- Read the readiness code, If DTC memory has been erased, repair must be verified via appropriate display group: Readiness code, creating.

Checking Closed Throttle Position Switch

- Engine running at idle
- Connect VAG 1551/1552 scan tool and select "Engine Electronics" address word 01.

Indicated On Display

Rapid data transfer HELP
Select function XX

- Press buttons -0- and -8- to select "Read Measuring Value Block" function 08 and press -Q- button to confirm input.

Indicated On Display

Read Measuring Value Block HELP
Input display group number XXX

- Press buttons -0-, -0- and -5- for display group 005 and press -Q- button to confirm input.

Indicated On Display (1-4 Display Fields)

Read Measuring Value Block 5-->
1 2 3 4

- Check closed throttle position switch (display field 4).




Display Group 005: General Engine Data

Continuation

- Switch ignition off.




- Connect VAG 1598/18 test box to ECM wiring harness.
- With throttle valve closed connect multimeter measure resistance at test box sockets 10 and 33.
Specification: Maximum 5.0 ohms
- Slowly open throttle.
Specification: Infinite Ohms

If the specifications are not attained:





- Separate 8-pin connector to throttle valve control module -J338-.
- Check wiring between test box and 8-pin connector for open circuit according to wiring diagram.
- Terminal 3 and test box socket 10
- Terminal 7 and test box socket 33
Resistance: Maximum 1.5 ohms
- Check wiring at 8-pin connector for short circuit between terminal 7 and test box socket 10.
Specification:Infinite Ohms
- Reconnect connector.

If no wiring malfunction is detected:
- Replace throttle valve control module -J338-.
- Read the readiness code, If DTC memory has been erased, repair must be verified via appropriate display group: Readiness code, creating.

Checking Throttle Position Actuator And Throttle Position Sensor

Test Conditions
- Coolant temperature at least 80°C(176°F)

Test sequence
- Engine running at idle
- Connect VAG 1551/1552 scan tool and select "Engine Electronics" address word 01.

Indicated On Display

Rapid data transfer HELP
Select function XX

- Press buttons -0- and -8- to select "Read Measuring Value Block" function 08 and press -Q- button to confirm input.

Indicated On Display

Read Measuring Value Block HELP
Input display group number XXX

- Press buttons -0-, -3- and -7- for display group 037 and press -Q- button to confirm input.

Indicated On Display (1-4 = Display Fields)

Read Measuring Value Block 37-->
1 2 3 4




Display Group 037: Idle Control


- Check the specifications for the idle control (display field 1-4).
- Press -C- button.
- Press buttons -0-, -3- and -6- for display group number 036 and press -Q- button to confirm input.

Indicated On Display (1-4 Display Fields).

Read Measuring Value Block 36 -->
1 2 3 4

- Check the specifications for the idle control (display field 2 and 3).




Display Group 036: Idle Control




Evaluating Display Group 037




Evaluating Display Group 036

Continuation
- Switch ignition off.





- Connect VAG 1598/18 test box to ECM wiring harness.
- Switch ignition on.
- With throttle closed connect multimeter to measure resistance at test box sockets 27 and 53.
Specification: 3-200 ohms

If the specification is not attained:




- Disconnect 8-pin connector from throttle valve control module -J338-.
- Repeat resistance measurements of throttle valve control module at terminals 1 + 2
Specification: 3-200 ohms

If the specification is not attained:
- Replace throttle valve control module -J338-.

If the specification is attained:
- Check wiring between test box and 8-pin connector for open circuit according to wiring diagram.
- Terminal 1 and test box socket 27
- Terminal 2 and test box socket 53
- Terminal 7 and test box socket 33
- Terminal 8 and test box socket 62
Resistance: Maximum 1.5 ohms
- Check wiring at 8-pin connector for short circuit to each other according to wiring diagram.
- Terminal 1 and test box socket 53
- Terminal 1 and test box socket 62
- Terminal 1 and test box socket 33
- Terminal 2 and test box socket 33
- Terminal 2 and test box socket 62
- Terminal 7 and test box socket 62
Specification: Infinite Ohms
- Read the readiness code, If DTC memory has been erased, repair must be verified via appropriate display group: Readiness code, creating.

Checking Throttle Position Sensor

- Connect VAG 1551/1552 scan tool and select "Engine Electronics" address word 01.
- When doing this the ignition must be switched on but engine not running.

Indicated On Display

Rapid data transfer HELP
Select function XX

- Press buttons -0- and -8- to select "Read Measuring Value Block" function 08 and press -Q- button to confirm input.

Indicated On Display

Read Measuring Value Block HELP
Input display group number XXX

- Press buttons -0-, -0- and -3- for display group 003 and press -Q- button to confirm input.

Indicated on display (1-4 Display fields)

Read measuring Value Block 3-->
1 2 3 4

- Check the TP sensor specification (display field 3).




Display Group: 036 Display Field: 2

- Slowly open throttle valve and watch angle display in display field 3.
- The value must increase uniformly over the complete range.
- Press -> button.
- Press buttons -0- and -6- to select "End Output" function 06 and press -Q- button to confirm input.
- Switch ignition off.


NOTE:
The displayed value is dependent on the tolerances of the Throttle Position sensor and does not correspond to the actual opening angle. The maximum permissible displayed value is 90.0 <°.

If the value does not increase uniformly:
- Replace throttle valve control module -J338-.
- Read the readiness code, If DTC memory has been erased, repair must be verified via appropriate display group: Readiness code, creating.




Evaluating Display Group 003

Check Wiring




- Connect VAG 1598/18 test box to ECM wiring harness.
- Connect multimeter using test leads from VW 1594 to measure resistance attest box sockets 01 and 40 and check wiring for short circuit to Ground.
Specification: Infinite Ohms
- Set multimeter to voltage measurement range.
- Switch ignition on.
- Check wiring for short circuit to positive (B+). If necessary, note voltage value.
- Switch ignition off.





- Separate 8-pin connector to throttle valve control module - J338-.

Continuation If Voltage Is Present:

If voltage of about 5 volts was present:
- Connect multimeter using test leads from VW 1594 to measure resistance at test box sockets 40 and 41 and check for short circuits to each other.
Specification: Infinite Ohms

If the voltage was approx. battery voltage:
- Check wiring at 8-pin connector terminal 5 for short circuit to battery positive (B+) according to wiring diagram.

Continuation If No Voltage Is Present:

- Check wiring between test box and 8-pin connector for open circuit according to wiring diagram.
Terminal 5 and test box socket 40
Resistance: Maximum 1.5 ohms

If no wiring malfunction is detected:

- Replace throttle valve control module -J338-.
- Read the readiness code: If DTC memory has been erased, repair must be verified via appropriate display group: Readiness code, creating.