Curiosii for ever!: Car repair manuals for everyone.

Hall Effect Sensor: Description and Operation

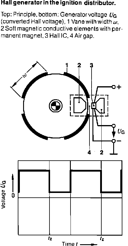
Hall Sender Location:





The hall sender or "Generator", which is located within the ignition distributor, creates a square wave signal which is used by the E.C.U. as a reference for calculating ignition timing and engine speed.

Hall Generator:





It consists of a semiconductor wafer element, and a permanent magnet. A rotating shutter called the trigger wheel acts as a switching device to produce an "ON", "OFF", signal for ignition control.

The Hall Effect:





When current is applied to the permanent magnet and the open section of shutter wheel is in place, the semiconductor produces a measureable voltage. When this voltage signal is present, the control unit switches the coil primary current "Off", discharging the coil. As the trigger wheel rotates through the magnetic field, interrupting the Hall voltage, an off input to the control unit is produced. This voltage off signal to the control unit switches the coil primary current "ON" beginning the coil saturation period (dwell).
Maximum dwell is determined by the area of the shutter wheel, however, it is electronically adjusted by the control unit depending on engine conditions.