Curiosii for ever!: Car repair manuals for everyone.

Auxiliary Air Regulator, Checking



Auxiliary Air Regulator, Checking

Note: When engine is cold, regulator is open fully, allowing additional air to engine

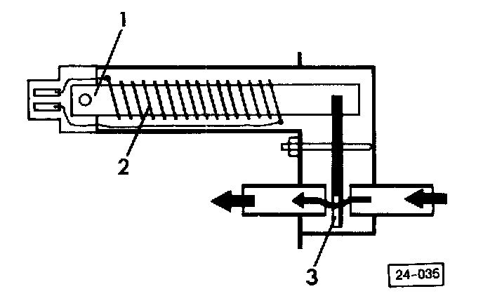
Auxiliary Air Regulator Components:





1 = Bimetal spring
2 = Heating coil
3 = Rotary gate valve

- Check regulator electrically by pulling connector off and attaching ohmmeter to both terminals
Meter should read approx. 30 ohms

- Check mechanically by pulling off both hoses and blowing into regulator
With engine cold, regulator must be open
With engine warm, regulator must be closed

- Turn ignition ON
After 5 minutes, regulator must close