Curiosii for ever!: Car repair manuals for everyone.

Alignment: Specifications




Front Wheel Alignment Specifications (Unloaded Vehicle)






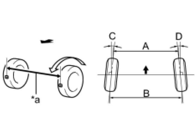
Measuring Points


Vehicle Height (Unloaded Vehicle):





Camber (Unloaded Vehicle):





Caster (Unloaded Vehicle):





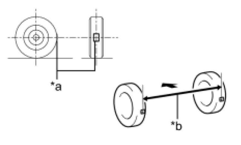
Measuring Points

Steering Axis Inclination (Unloaded Vehicle):






NOTICE:
Inspect while the vehicle is unloaded.
The tolerance for the difference between the left and right
wheels is 30' (0.5�) or less for both the camber and
caster.

Inspection Toe-in (Unloaded Vehicle):











Wheel Turning Angle

Wheel Turning Angle (Unloaded Vehicle):







Rear Wheel Alignment (Unloaded Vehicle)

Camber (Unloaded Vehicle):