Curiosii for ever!
: Car repair manuals for everyone.
Home
>>
Toyota
>>
2013
>>
Matrix AWD L4-2.4L (2AZ-FE)
>>
Repair and Diagnosis
>>
Relays and Modules
>>
Relays and Modules - Power and Ground Distribution
>>
Relay Box
>>
Diagrams
>>
Electrical Diagrams
>>
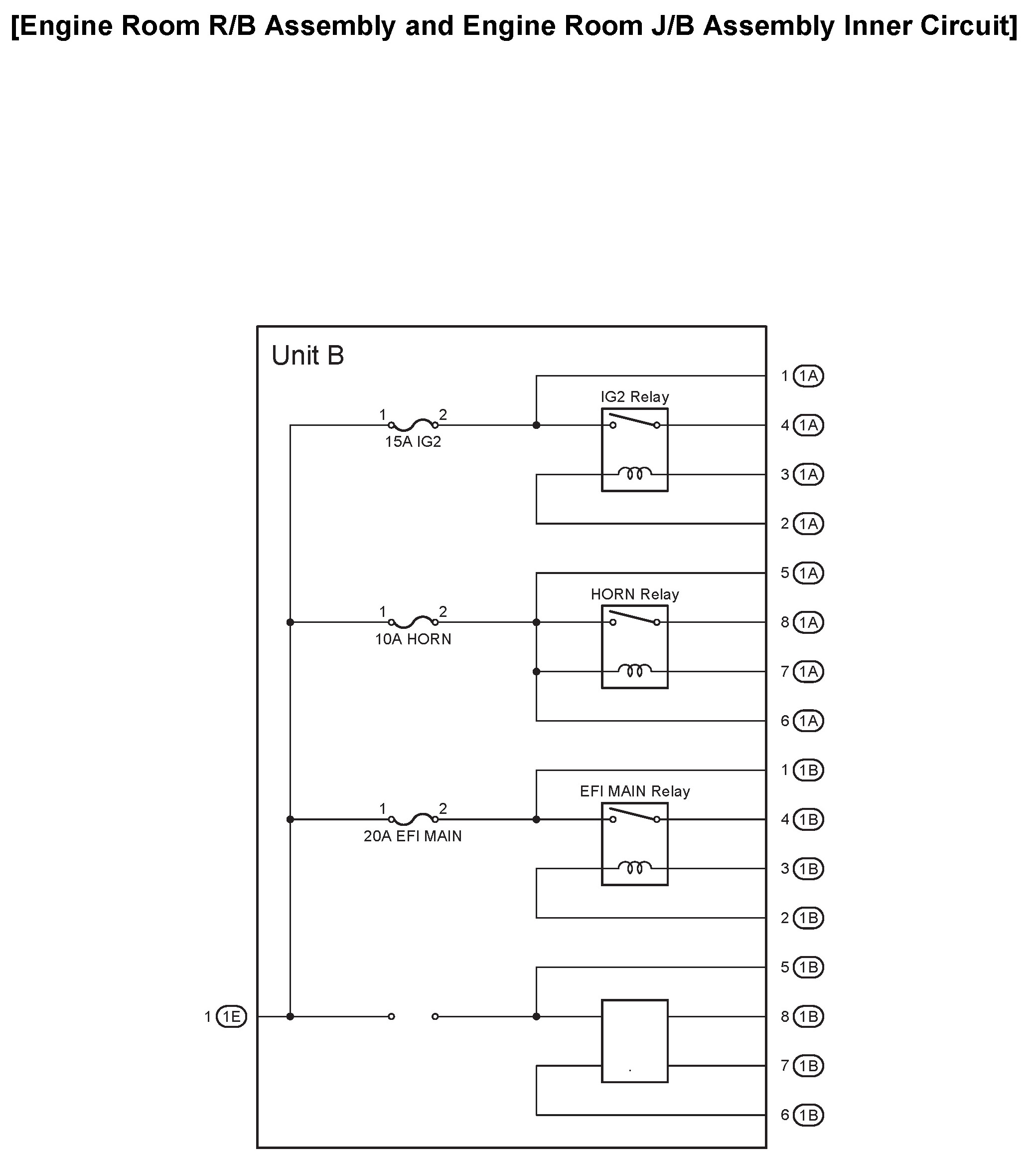
27 - Engine Room R/B Assembly and Engine Room J/B Assembly Inner Circuit
27 - Engine Room R/B Assembly and Engine Room J/B Assembly Inner Circuit
Engine Room R/B Assembly and Engine Room J/B Assembly Inner Circuit: