Curiosii for ever!: Car repair manuals for everyone.

Repair and Diagnosis: Service Precautions





INTRODUCTION: REPAIR INSTRUCTION: PRECAUTION; 2013 MY Corolla [07/2012 -]

1. BASIC REPAIR HINT

(a) HINTS ON OPERATIONS









CAUTION:
*: Be sure to perform these checks properly, Not performing these checks properly after finishing work can lead to serious accident or injury.

(b) JACKING UP AND SUPPORTING VEHICLE

(1) Care must be taken when jacking up and supporting the vehicle. Be sure to lift and support the vehicle at the proper locations.

(c) PRECOATED PARTS





(1) Precoated parts are bolts and nuts that are coated with a seal lock adhesive at the factory.

(2) If a precoated part is retightened, loosened or moved in any way, it must be recoated with the specified adhesive.

(3) When reusing a precoated part, clean off the old adhesive and dry the part with compressed air. Then apply new seal lock adhesive appropriately to that part.

(4) Some seal lock agents harden slowly. You may have to wait for the seal lock adhesive to harden.

(d) GASKETS

(1) When necessary, use a sealer on gaskets to prevent leaks.

(e) BOLTS, NUTS AND SCREWS

(1) Carefully follow all the specifications for tightening torques. Always use a torque wrench.

(f) FUSES





(1) When inspecting a fuse, check that the wire of the fuse is not broken.

(2) If the wire of a fuse is broken, confirm that there are no shorts in its circuit.

(3) When a fuse is replaced, a fuse with the same amperage rating must be used.





(g) CLIPS

(1) The removal and installation methods of typical clips used for vehicle body parts are shown in the table below.

HINT
If clips are damaged during a procedure, always replace the damaged clips with new ones.









(h) CLAWS

(1) The removal and installation methods of typical claws used for vehicle body parts are shown in the table below.

HINT
If claws are damaged during a procedure, always replace the cap or cover that has damaged claws with a new one.





(i) HINGES, GUIDES, CLAMPS, PINS, ETC.

(1) The removal and installation methods of typical hinges, guides, clamps and pins used for vehicle body parts are shown in the table below.

HINT
If clamps are damaged during a procedure, always replace the cap or cover that has damaged clamps with a new one.





(j) REMOVAL AND INSTALLATION OF VACUUM HOSES





To disconnect a vacuum hose, pull and twist from the end of the hose. Do not pull from the middle of the hose as this may damage the hose.

(2) When disconnecting vacuum hoses, use tags to identify where they should be reconnected.





(3) After completing any hose related repairs, double check that the vacuum hoses are properly connected. The label under the hood shows the proper layout.

(4) When using a vacuum gauge, never force the hose onto a connector that is too large. If a hose has been stretched, air may leak. Use a step-down adapter if necessary.

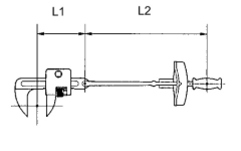
(k) TORQUE WHEN USING TORQUE WRENCH WITH EXTENSION TOOL





(1) Use the formula below to calculate special torque values for situations where SST or an extension tool is combined with the torque wrench.





* Formula

T' = (L2/(L1 + L2))*T





NOTICE:
If an extension tool or SST is combined with a torque wrench and used to tighten to a torque specification in this information, the actual torque will be excessive and parts will be damaged.

2. FOR VEHICLES EQUIPPED WITH SRS AIRBAG AND SEAT BELT PRETENSIONER

This vehicle is equipped with a Supplemental Restraint System (SRS).

CAUTION:
* Before performing pre-disposal deployment of any SRS component, review and closely follow all applicable environmental and hazardous material regulations. Pre-disposal deployment may be considered hazardous material treatment.
* Failure to carry out the service operations in the correct sequence could cause the SRS to unexpectedly deploy during servicing and lead to serious injury. Furthermore, if a mistake is made when servicing the SRS, it is possible that the SRS may fail to operate properly. Before servicing (including removal or installation of parts, inspection or replacement), be sure to read the following information carefully.
(a) GENERAL NOTICE

(1) As malfunctions of the SRS are difficult to confirm, the Diagnostic Trouble Codes (DTCs) become the most important source of information when troubleshooting. When troubleshooting the SRS, always check for DTCs before disconnecting the battery.

(2) Work must be started at least 90 seconds after the ignition switch is turned off and after the cable is disconnected from the negative (-) battery terminal.

The SRS is equipped with a back-up power source. If work is started within 90 seconds after turning the ignition switch off and disconnecting the cable from the negative (-) battery terminal, the SRS may deploy.

When the cable is disconnected from the negative (-) battery terminal, the clock and audio system memory is erased. Before starting work, make a note of the settings of each memory system. When work is finished, reset the clock and audio system as before.

CAUTION:
Never use a back-up power source (battery or other) to avoid erasing the system memory. The back-up power source may inadvertently power the SRS and cause it to deploy.

(3) If the vehicle has been involved in a minor collision where the SRS does not deploy, the steering pad, front passenger airbag assembly, front seat side airbag assembly, curtain shield airbag assembly and front seat outer belt assembly should be inspected before further use of the vehicle.

(4) Never use the SRS parts from another vehicle. When replacing parts, use new parts.

(5) Before repairs, remove the airbag sensor assemblies if impacts are likely to be applied to the sensor during repairs.

(6) Never disassemble and attempt to repair any airbag sensor assemblies or airbag assemblies.

1 Steering pad

2 Front passenger airbag assembly

3 Front seat side airbag assembly

4 Curtain shield airbag assembly

5 Front seat outer belt assembly

(7) Replace the airbag sensor assemblies and the airbag assemblies if: 1) damage has occurred from being dropped, or 2) cracks, dents or other defects in the case, bracket or connector are present.

(8) Do not directly expose the airbag sensor assemblies or airbag assemblies to hot air or flames.

(9) Use a voltmeter/ohmmeter with high impedance (minimum = 10 kOhms) for troubleshooting electrical circuits.

(10) Information labels are attached to the SRS components. Follow the instructions on the labels.

(11) After work on the SRS is completed, check the SRS warning light.

(b) SPIRAL CABLE

(1) The steering wheel must be fitted correctly to the steering column with the spiral cable at the neutral position, as otherwise cable disconnection and other problems may occur. Refer to the information about correct installation of the steering wheel Installation.

(c) STEERING PAD

(1) Always place a removed or new steering pad surface upward. Placing the steering pad with the pad surface facing down could cause a serious accident if the airbag deploys. Also, do not place anything on top of the steering pad.

(2) Never measure the resistance of the airbag squib. This may cause the airbag to deploy, which could cause serious injury.

(3) Grease or detergents of any kind should not be applied to the steering pad.

(4) Store the steering pad in an area where the ambient temperature is below 93°C (200°F), the humidity is not high and there is no electrical noise.

(5) Before using an electric welder anywhere on the vehicle, disconnect the center airbag sensor assembly connectors. These connectors contain shorting springs. This feature reduces the possibility of the airbag deploying due to current entering the squib wiring.

(6) When disposing of the vehicle or the steering pad by itself, the airbag should be deployed using SST before disposal Steering Pad. Deploy the airbag in a safe place away from electrical noise.

(d) FRONT PASSENGER AIRBAG ASSEMBLY

(1) Always place a removed or new front passenger airbag assembly with the pad surface facing upward. Placing the airbag assembly with the airbag deployment direction facing downword could cause a serious accident if the airbag deploys.

(2) Never measure the resistance of the airbag squib. This may cause the airbag to deploy, which could cause serious injury.

(3) Grease or detergents of any kind should not be applied to the front passenger airbag assembly.

(4) Store the airbag assembly in an area where the ambient temperature is below 93°C (200°F), the humidity is not high and there is no electrical noise.

(5) Before using an electric welder anywhere on the vehicle, disconnect the center airbag sensor assembly connectors. These connectors contain shorting springs. This feature reduces the possibility of the airbag deploying due to current entering the squib wiring.

(6) When disposing of the vehicle or the airbag assembly unit by itself, the airbag should be deployed using SST before disposal Front Passenger Airbag Assembly. Deploy the airbag in a safe place away from electrical noise.

(e) FRONT SEAT SIDE AIRBAG ASSEMBLY

(1) Always place a removed or new front seat side airbag assembly with the airbag deployment direction facing upward.

(2) Never measure the resistance of the airbag squib. This may cause the airbag to deploy, which could cause serious injury.

(3) Grease or detergents of any kind should not be applied to the front seat side airbag assembly.

(4) Store the airbag assembly in an area where the ambient temperature is below 93°C (200°F), the humidity is not high and there is no electrical noise.

(5) Before using an electric welder anywhere on the vehicle, disconnect the center airbag sensor assembly connectors. These connectors contain shorting springs. This feature reduces the possibility of the airbag deploying due to current entering the squib wiring.

(6) When disposing of a vehicle or the airbag assembly unit by itself, the airbag should be deployed using SST before disposal Front Seat Side Airbag Assembly. Deploy the airbag in a safe place away from electrical noise.

(f) CURTAIN SHIELD AIRBAG ASSEMBLY

(1) Always place a removed or new curtain shield airbag assembly in a clear plastic bag, and keep it in a safe place.

CAUTION:
The plastic bag should be disposed of after use.

NOTICE:
Never disassemble the curtain shield airbag assembly.

(2) Never measure the resistance of the airbag squib. This may cause the airbag to deploy, which could cause serious injury.

(3) Grease or detergents of any kind should not be applied to the curtain shield airbag assembly.

(4) Store the airbag assembly in an area where the ambient temperature is below 93°C (200°F), the humidity is not high and there is no electrical noise.

(5) Before using an electric welder anywhere on the vehicle, disconnect the center airbag sensor assembly connectors. These connectors contain shorting springs. This feature reduces the possibility of the airbag deploying due to current entering the squib wiring.

(6) When disposing of a vehicle or the airbag assembly unit by itself, the airbag should be deployed using SST before disposal Curtain Shield Airbag Assembly. Deploy the airbag in a safe place away from electrical noise.

(g) FRONT SEAT OUTER BELT ASSEMBLY (SEAT BELT PRETENSIONER)

(1) Never measure the resistance of the front seat outer belt assembly. This may cause the pretensioner of the front seat outer belt assembly to activate, which could cause serious injury.

(2) Never disassemble the front seat outer belt assembly.

(3) Never install the front seat outer belt assembly on another vehicle.

(4) Store the front seat outer belt assembly in an area where the ambient temperature is below 80°C (176°F), the humidity is not high and there is no electrical noise.

(5) Before using an electric welder anywhere on the vehicle, disconnect the center airbag sensor assembly connectors. These connectors contain shorting springs. This feature reduces the possibility of the airbag deploying due to current entering the squib wiring.

(6) When disposing of a vehicle or the front seat outer belt assembly unit by itself, the front seat outer belt assembly should be activated before disposal Procedures. Activate the front seat outer belt assembly in a safe place away from electrical noise.

(7) As the front seat outer belt assembly is hot after being activated, allow some time for it to cool down sufficiently before disposal. Never apply water to cool down the front seat outer belt assembly.

(8) Grease, detergents, oil or water should not be applied to the front seat outer belt assembly.

(h) CENTER AIRBAG SENSOR ASSEMBLY

(1) Never reuse a center airbag sensor assembly that has been involved in a collision where the SRS has deployed.

(2) The connectors to the center airbag sensor assembly should be connected or disconnected with the sensor installed to the vehicle. If the connectors are connected or disconnected while the center airbag sensor assembly is not installed, the SRS may activate.

(3) Work must be started at least 90 seconds after the ignition switch is turned off and the cable is disconnected from the negative (-) battery terminal, even if only loosening the bolts of the center airbag sensor assembly.

(i) WIRE HARNESS AND CONNECTOR

(1) All the connectors in the system are a standard yellow color. If an SRS wire harness has an open circuit or a connector is broken, replace it.

3. ELECTRONIC CONTROL





(a) REMOVAL AND INSTALLATION OF BATTERY TERMINAL

(1) Before performing electrical work, disconnect the cable from the negative (-) battery terminal to prevent component and wire damage caused by accidental short circuits.

(2) When disconnecting the cable, turn the ignition switch and headlight switch off and loosen the cable nut completely. Perform these operations without twisting or prying the cable. Then disconnect the cable.

(3) Clock settings, radio settings, audio system memory, DTCs and other data are erased when the cable is disconnected from the negative (-) battery terminal. Write down any necessary data before disconnecting the cable.

(b) HANDLING OF ELECTRONIC PARTS





(1) Do not open the cover or case of the ECU unless absolutely necessary. If the IC terminals are touched, the IC may be rendered inoperative by static electricity.

(2) Do not pull the wires when disconnecting electronic connectors. Pull the connector itself.

(3) Do not drop electronic components, such as sensors or relays. If they are dropped on a hard surface, they should be replaced.

(4) When cleaning the engine with steam, protect the electronic components, air filter and emission-related components from water.

(5) Never use an impact wrench to remove or install temperature switches or temperature sensors.

(6) When measuring the resistance between terminals of a wire connector, insert the tester probe carefully to prevent terminals from bending.

4. REMOVAL AND INSTALLATION OF FUEL CONTROL PARTS

(a) PLACE FOR REMOVING AND INSTALLING FUEL SYSTEM PARTS

(1) Work in a location with good air ventilation that does not have welders, grinders, drills, electric motors, stoves, or any other ignition sources.

(2) Never work in a pit or near a pit as vaporized fuel will collect in those places.

(b) REMOVING AND INSTALLING FUEL SYSTEM PARTS

(1) Prepare a fire extinguisher before starting the operation.

(2) To prevent static electricity, install a ground wire to the fuel changer, vehicle and fuel tank, and do not spray the surrounding area with water. Be careful when performing work in this area, as the work surface will become slippery. Do not clean up gasoline spills with water, as this may cause the gasoline to spread, and possibly create a fire hazard.

(3) Avoid using electric motors, work lights and other electric equipment that can cause sparks or high temperatures.

(4) Avoid using iron hammers as they may create sparks.

(5) Dispose of fuel-contaminated cloth separately using a fire resistant container.

5. REMOVAL AND INSTALLATION OF ENGINE INTAKE PARTS





(a) If any metal particles enter intake system parts, this may damage the engine.

(b) When removing and installing intake system parts, cover the openings of the removed parts and engine openings. Use adhesive tape or other suitable materials.

(c) When installing intake system parts, check that no metal particles have entered the engine or installed parts.

6. HANDLING OF HOSE CLAMPS





(a) Before removing a hose, check the clamp position so that it can be reinstalled in the same position.

(b) Replace any deformed or dented clamps with new ones.

(c) When reusing a hose, attach the clamp on the clamp track portion of the hose.

(d) For a spring type clamp, you may want to spread the tabs slightly after installation by pushing in the direction of the arrows as shown in the illustration.

7. FOR VEHICLES EQUIPPED WITH MOBILE COMMUNICATION SYSTEMS





(a) Install the antenna as far away from the ECU and sensors of the vehicle electronic systems as possible.

(b) Install an antenna and feeder at least 20 cm (7.87 in.) away from the ECU and sensors of the vehicle electronic systems. For details about ECU and sensor locations, refer to the information on the applicable components.

(c) Keep the antenna and feeder separate from other wiring as much as possible. This will prevent signals sent from the communication equipment from affecting vehicle equipment and vice-versa.

(d) Check that the antenna and feeder are correctly adjusted.

(e) Do not install high-powered mobile communication system.

8. FOR VEHICLES EQUIPPED WITH TRACTION CONTROL (TR(A)C) AND VEHICLE STABILITY CONTROL (VSC) SYSTEMS

When testing with a 2-wheel drum tester such as a speedometer tester, a combination speedometer and brake tester, or a chassis dynamometer, or when jacking up the front wheels and turning the wheels, perform the following procedure to enter inspection mode and disable the TR(A)C and VSC systems.

HINT
* The vehicle may slip unexpectedly out of the dynamometer because of TR(A)C and VSC operations.
* Pressing the VSC OFF switch (for vehicles with the VSC OFF switch) does not disable TR(A)C and VSC operation completely.

NOTICE:
* Make sure that the SLIP indicator light is blinking.
* Secure the vehicle with chains for safety.

(a) Activating inspection mode (Not using the Techstream)

HINT
* Perform steps "D" to "H" within 30 seconds.
* Perform steps "F" and "G" within 15 seconds each.

(1) Ensure that the ignition switch is off and the engine is stopped. (Step "A")

(2) Make sure that the shift lever is in P. (Step "B")

(3) Start the engine. (Step "C")

(4) Apply the parking brake by pulling the parking brake lever. (Step "D")

(5) Depress and release the brake pedal twice. (Step "E")

(6) While holding the brake pedal down, release and apply the parking brake twice. (Step "F")

(7) With the parking brake applied, depress and release the brake pedal twice. (Step "G")

(8) Check if the SLIP indicator light comes on. (Step "H")





HINT
* If the SLIP indicator light does not come on in step "H", repeat the steps from "A" to "H".
* Turning the ignition switch off ends inspection mode.

(b) Activating inspection mode (Using the Techstream)

(1) Ensure that the ignition switch is off and the engine is stopped. (Step "A")

(2) Make sure that the shift lever is in P. (Step "B")

(3) Connect the Techstream to the DLC3. (Step "C")

(4) Start the engine. (Step "D")

(5) Turn the Techstream main switch on. (Step "E")

(6) Enter the following menus: Chassis / ABS/VSC/TR(A)C / Utility / Inspection Mode. (Step "F")

(7) Check that the SLIP indicator light comes on. (Step "G")





HINT
* If the SLIP indicator light does not come on in step "G", repeat the steps from "A" to "G".
* Turning the ignition switch off ends inspection mode.

9. PRECAUTIONS FOR TOWING FRONT WHEEL DRIVE VEHICLES

(a) Use one of the following methods to tow the vehicle.

(b) If the vehicle has trouble with the chassis or drivetrain, use method 1 (flatbed truck).





NOTICE:
Do not use any towing method other than those shown above.

(c) If a tow truck is not available, in an emergency the vehicle may be temporarily towed using a cable or chain secured to the emergency towing eyelet(s). This should only be attempted on hard surfaced roads for distances of less than 80 km, and at speeds below 30 km/h (19 mph).

A driver must be in the vehicle to steer and operate the brakes. The vehicle's wheels, drivetrain, axles, steering and brakes must be in good condition.

NOTICE:
If the towing speed or distance exceeds the above limits, or the vehicle is towed in a backward direction with the front wheels on the ground, the transaxle may be damaged.

(1) Emergency towing procedure

1 Turn the ignition switch ON.

2 Depress the brake pedal and move the shift lever to N.

3 Release the parking brake.

4 Release the brake pedal slowly.

NOTICE:
* Use extreme caution when towing the vehicle. Avoid sudden starts or erratic driving maneuvers which place excessive stress on the emergency towing eyelet and the cables or chains.
* Do not turn off the ignition switch. Turning off the ignition switch may result in engagement of the steering lock, resulting in a hazardous situation or accident.

(d) The towing methods shown below are dangerous and can damage the vehicle, so do not use them.





(1) Do not tow the vehicle facing rearward with the front wheels on the ground.

NOTICE:
* If the vehicle is towed facing rearward with the front wheels on the ground, the drivetrain may overheat and be damaged.
* In addition, if the vehicle is equipped with the VSC system, the system may apply the brakes to the rotating wheels.

(2) Do not use a sling-type towing method either from the front or rear.

NOTICE:
If a sling-type tow truck is used, damage may occur to the vehicle body.

10. FOR VEHICLES EQUIPPED WITH CATALYTIC CONVERTER

CAUTION:
If a large amount of unburned gasoline or gasoline vapors flow into the converter, it may cause converter overheating and create a fire hazard. To prevent this, observe the following precautions.

(a) Use only unleaded gasoline.

(b) Avoid idling the engine for more than 20 minutes.

(c) Avoid performing unnecessary spark tests.

(1) Perform a spark test only when absolutely necessary. Perform this test as rapidly as possible.

(2) While testing, never race the engine unless instructed.

(d) Avoid a prolonged engine compression measurement. Engine compression measurements must be performed as rapidly as possible.

(e) Do not run the engine when the fuel tank is nearly empty. This may cause the engine to misfire and create an extra load on the converter.

11. EXPRESSIONS OF IGNITION SWITCH

(a) The type of ignition switch used on this model differs according to the specifications of the vehicle.

The expressions listed in the table below are used in this information.