Curiosii for ever!: Car repair manuals for everyone.

Reassembly





2ZR-FE BATTERY / CHARGING: GENERATOR: REASSEMBLY; 2013 MY Corolla [07/2012 -]

1. INSTALL GENERATOR DRIVE END FRAME BEARING

(a) Using SST and a press, press in a new generator drive end frame bearing.





SST : 09950-60010

09951-00470

SST : 09950-70010

09951-07100

(b) Fit the tabs of the bearing retainer plate into the cutouts on the drive end frame to install the bearing retainer plate.





(c) Install the 4 screws.

Torque : 2.3 Nm (23 kgf-cm, 20 in-lbf)

2. INSTALL GENERATOR ROTOR ASSEMBLY

(a) Place the drive end frame on the clutch pulley.

(b) Install the generator rotor assembly to the drive end frame.





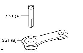
3. INSTALL GENERATOR CLUTCH PULLEY

(a) Temporarily install the clutch pulley onto the rotor shaft.

(b) Mount the generator drive end frame in a vise tightly.

(c) Confirm SST (A) and (B) shown in the illustration.





SST : 09820-63021

(d) Place the rotor shaft end into SST (A).





(e) Fit SST (B) to the clutch pulley.





(f) Tighten the pulley by turning SST (B) in the direction shown in the illustration.





without SST - Torque : 80 Nm (816 kgf-cm, 59 ft-lbf)

with SST - Torque : 64 Nm (653 kgf-cm, 47 ft-lbf)

NOTICE:
* The "with SST" torque value is effective when using SST with a fulcrum length of 100 mm (3.94 in.) and a torque wrench with a fulcrum length of 400 mm (1.312 ft.) Service Precautions.
* The "with SST" torque value is effective when SST is parallel to the torque wrench.
* Check that the drive end frame is secured in the vise tightly.
* Hold SST (A) tightly during the operation.

(g) Remove SST from the generator assembly.

(h) Check that the clutch pulley rotates smoothly.

(i) Install a new clutch pulley cap to the clutch pulley.

4. INSTALL GENERATOR COIL ASSEMBLY

(a) Place the generator washer on the generator rotor.





(b) Using SST and a press, slowly press in the generator coil assembly.





SST : 09612-70100

09612-07240

(c) Install the 4 bolts.





Torque : 5.8 Nm (59 kgf-cm, 51 in-lbf)

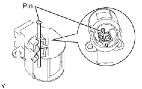
5. INSTALL GENERATOR BRUSH HOLDER ASSEMBLY

(a) While pushing the 2 brushes into the generator brush holder assembly, insert a 1.0 mm (0.0394 in.) pin into the brush holder hole.





(b) Install the brush holder assembly to the generator coil with the 2 screws.





Torque : 1.8 Nm (18 kgf-cm, 16 in-lbf)

(c) Pull out the pin from the generator brush holder.





6. INSTALL GENERATOR TERMINAL INSULATOR

(a) Install the terminal insulator to the generator coil.





NOTICE:
Make sure to install the terminal insulator in the direction shown in the illustration.

7. INSTALL GENERATOR REAR END COVER

(a) Install the generator rear end cover to the generator coil with the 3 nuts.





Torque : 4.6 Nm (47 kgf-cm, 41 in-lbf)