Curiosii for ever!: Car repair manuals for everyone.

Cylinder Head Assembly






















Cylinder Head

The cylinder head bolts are tightened in 2 progressive steps.

Using several passes, uniformly install and tighten the 10 cylinder head set bolts and plate washers with a 10 mm bi-hexagon wrench in the order shown in the illustration.





Torque 49 Nm (500 kgf-cm, 36 ft-lbf)

Mark the front side of the cylinder head bolts with paint.





Further tighten the cylinder head bolts an additional 90°, then once more 45° as shown in the illustration.
Check that the paint mark is now at a 135° angle to the front.

Surface Variation

Maximum Warpage
Cylinder block side 0.05 mm (0.0020 in.)
Intake manifold side 0.10 mm (0.0039 in.)
Exhaust manifold side 0.10 mm (0.0039 in.)

Cylinder head set bolt
Standard bolt length 146.8 to 148.2 mm (5.7795 to 5.8346 in.)
Maximum bolt length 149.2 mm (5.874 in.)
Standard outside diameter 9.77 to 9.96 mm (0.3846 to 0.3921 in.)
Minimum outside diameter 9.4 mm (0.3701 in.)

Ring pin (Cylinder head)
Protrusion 6.5 to 7.5 mm (0.26 to 0.30 in.)

Cylinder block
Maximum warpage 0.05 mm (0.0020 in.)
Standard cylinder bore diameter 80.500 to 80.513 mm (3.1693 to 3.1698 in.)
Maximum cylinder bore diameter 80.633 mm (3.1745 in.)
Protrusion height (ring pin) 7.5 to 8.5 mm (0.295 to 0.335 in.)
Protrusion height (straight pin)
Pin A 18.5 to 19.5 mm (0.729 to 0.768 in.)
Pin B 5.0 to 7.0 mm (0.197 to 0.276 in.)
Pin C 11 to 13 mm (0.433 to 0.512 in.)
Pin D 5.0 to 7.0 mm (0.197 to 0.276 in.)
Pin E 5.0 to 6.0 mm (0.197 to 0.236 in.)

Camshaft Bearing Cap

Install the bearing caps with the bolts in the order shown in the illustration.









Tighten the 10 bolts in the order shown in the illustration.





Torque 16 Nm (163 kgf-cm, 12 ft-lbf)

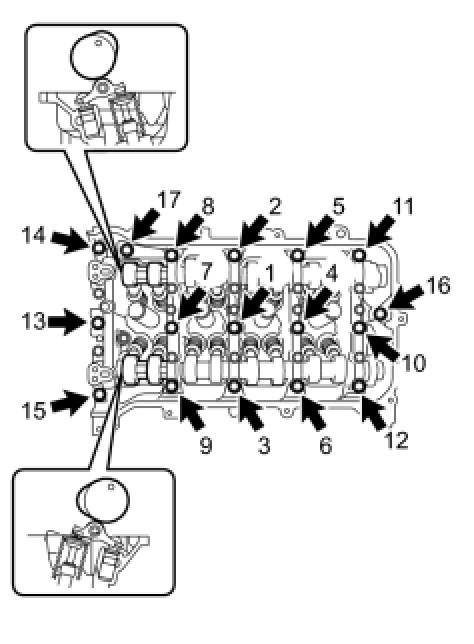
Camshaft Housing





Install the camshaft housing and tighten the 17 bolts in the order shown in the illustration.

Torque 27 Nm (275 kgf-cm, 20 ft-lbf)

Intake Manifold Torque and Sequence Specifications

Exhaust Manifold Torque and Sequence Specifications

Camshaft Gear/Sprocket Torque Specifications