Curiosii for ever!: Car repair manuals for everyone.

ECM Power Source Circuit





1NZ-FE ENGINE CONTROL: SFI SYSTEM (for Sedan): ECM Power Source Circuit
- ECM Power Source Circuit

DESCRIPTION

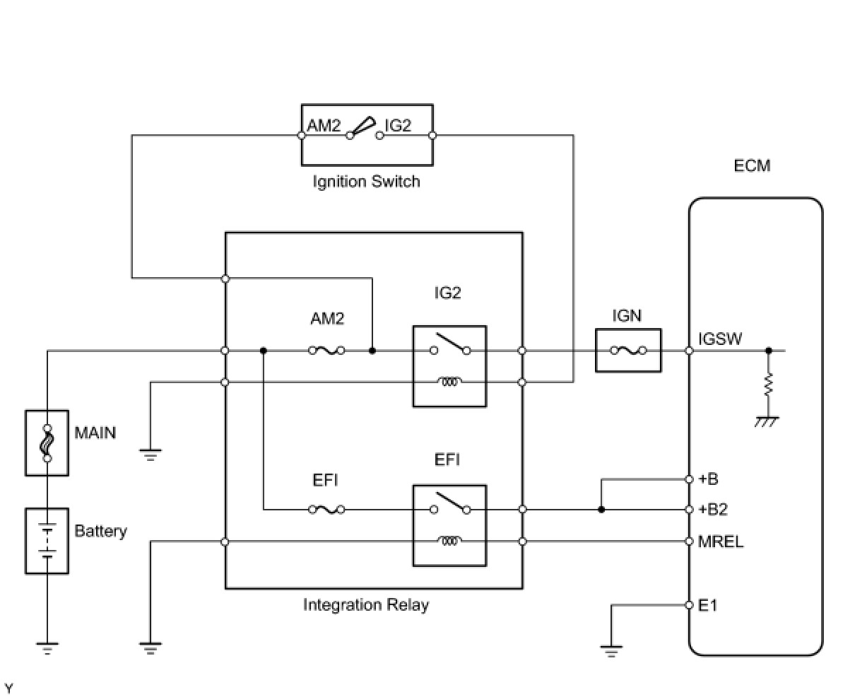
When the ignition switch is turned to ON, the battery voltage is applied to the IGSW of the ECM. The output signal from the MREL terminal of the ECM causes a current to flow to the coil, closing the contacts of the integration relay (EFI relay) and supplying power to terminals +B and +B2 of the ECM.

WIRING DIAGRAM





INSPECTION PROCEDURE

PROCEDURE

1. INSPECT INTEGRATION NO.1 RELAY (POWER SOURCE OF INTEGRATION RELAY)

(a) Remove the integration relay from the engine room relay block.





(b) Measure the voltage between the terminal of the integration relay and body ground.

Standard voltage:





(c) Reinstall the integration relay.

NG -- REPAIR OR REPLACE HARNESS OR CONNECTOR (BATTERY - INTEGRATION RELAY)
OK -- Continue to next step.

2. INSPECT INTEGRATION NO.1 RELAY (EFI RELAY AND IG2 RELAY)





(a) Remove the integration relay from the engine room relay block.

(b) Inspect the EFI fuse and the AM2 fuse.

(1) Remove the EFI fuse and AM2 fuse from the integration relay.

(2) Check the resistance of the EFI fuse and AM2 fuse.

Standard resistance:

Below 1 Ohms

(3) Reinstall the EFI fuse and the AM2 fuse.

(c) Inspect the EFI relay and the IG2 relay.

(1) Check the resistance between the terminals shown below.

Standard resistance:





(2) Reinstall the integration relay.

NG -- REPLACE INTEGRATION NO.1 RELAY
OK -- Continue to next step.

3. CHECK HARNESS AND CONNECTOR (+B, +B2 AND MREL CIRCUIT)

(a) Check the harness and the connectors between the integration relay and the ECM.





(1) Remove the integration relay from the engine room relay block.

(2) Disconnect the A21 ECM connector.

(3) Check the resistance.

Standard resistance (Check for open):





Standard resistance (Check for short):





(b) Check the harness and the connector between the integration relay and body ground.

(1) Check the resistance.

Standard resistance (Check for open):





(c) Reinstall the integration relay.

(d) Reconnect the ECM connector.

NG -- REPAIR OR REPLACE HARNESS OR CONNECTOR
OK -- Continue to next step.

4. CHECK HARNESS AND CONNECTOR (ECM - BODY GROUND)

(a) Disconnect the C20 ECM connector.





(b) Check the resistance.

Standard resistance (Check for open):





(c) Reconnect the ECM connector.

NG -- REPAIR OR REPLACE HARNESS OR CONNECTOR
OK -- Continue to next step.

5. INSPECT ECM (IGSW VOLTAGE)

(a) Disconnect the C20 and A21 ECM connectors.





(b) Turn the ignition switch to ON.

(c) Measure the voltage between the terminals of the C20 and A21 ECM connectors.

Standard voltage:





(d) Reconnect the ECM connectors.

NG -- INSPECT FUSE (IGN FUSE)

OK -- REPLACE ECM Removal

6. INSPECT FUSE (IGN FUSE)





(a) Remove the IGN fuse from the main body ECU.

(b) Check the IGN fuse resistance.

Standard resistance:

Below 1 Ohms

(c) Reinstall the IGN fuse.

NG -- CHECK FOR SHORTS IN ALL HARNESSES AND CONNECTORS CONNECTED TO FUSE AND REPLACE FUSE
OK -- Continue to next step.

7. CHECK HARNESS AND CONNECTOR (INTEGRATION RELAY - ECM)





(a) Remove the integration relay from the engine room relay block.

(b) Disconnect the A21 ECM connector.

(c) Check the resistance.

Standard resistance (Check for open):





Standard resistance (Check for short):





(d) Reinstall the integration relay.

(e) Reconnect the ECM connector.

NG -- REPAIR OR REPLACE HARNESS OR CONNECTOR
OK -- Continue to next step.

8. CHECK HARNESS AND CONNECTOR (INTEGRATION RELAY - IGNITION SWITCH)





(a) Check the harness and the connectors between the integration relay and the ignition switch.

(1) Remove the integration relay from the engine room relay block.

(2) Disconnect the D8 ignition switch connector.

(3) Check the resistance.

Standard resistance (Check for open):





Standard resistance (Check for short):





(b) Check the harness and the connectors between the integration relay and body ground.

(1) Check the resistance.

Standard resistance (Check for open):





(c) Reinstall the integration relay.

(d) Reconnect the ignition switch connector.

NG -- REPAIR OR REPLACE HARNESS OR CONNECTOR
OK -- Continue to next step.

9. INSPECT IGNITION SWITCH





(a) Disconnect the D8 ignition switch connector.

(b) Check the resistance between the terminals shown below.

Standard resistance:





(c) Reconnect the ignition switch connector.

NG -- REPLACE IGNITION SWITCH

OK -- REPAIR OR REPLACE HARNESS OR CONNECTOR (IGNITION SWITCH - INTEGRATION RELAY)