Curiosii for ever!: Car repair manuals for everyone.

Steering System (for Hatchback)





STEERING COLUMN: STEERING SYSTEM (for Hatchback): ADJUSTMENT

1. ADJUST STEERING WHEEL OFF CENTER

(a) Inspect steering wheel off center.

(1) Apply masking tape on the top center of the steering wheel and steering column upper cover.





Text in Illustration





(2) Drive the vehicle in a straight line for 100 meters at a constant speed of 56 km/h (35 mph), while holding the steering wheel to maintain the course.

(3) Draw a line on the masking tape as shown in the illustration.





Text in Illustration





(4) Turn the steering wheel to the center position.

HINT
Look at the upper surface of the steering wheel, steering spoke, and SRS airbag line to find the center position.

(5) Draw a new line on the masking tape on the steering wheel as shown in the illustration.





Text in Illustration





(6) Measure the distance between the 2 lines on the masking tape on the steering wheel.

(7) Convert the measured distance to steering angle.

Standard:

Measured distance 1 mm (0.0397 in.) = Steering angle approximately 1 deg.

HINT
Make a note of the steering angle.

(b) Adjust steering angle.

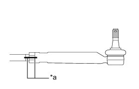
(1) Draw a matchmark on the RH and LH tie rod ends and rack ends respectively where it can be easily seen.





Text in Illustration





(2) Using a paper gauge, measure the distance from the RH and LH tie rod ends to the rack end screws.





HINT
* Measure both the RH and LH sides.
* Make a note of the measured values.

(3) Remove the RH and LH boot clips from the rack boots.

(4) Loosen the RH and LH lock nuts.

(5) Turn the RH and LH rack ends by the same amount (but in different directions) according to the steering angle.

Standard:





(6) Tighten the RH and LH lock nuts to the specified torque.

Torque : 75 Nm (765 kgf-cm, 55 ft-lbf)

NOTICE:
Make sure that the difference in length between the RH and LH tie rod ends and rack end screws is within 1.5 mm (0.0591 in.).

(7) Using pliers, install the RH and LH boot clips as shown in the illustration.





Text in Illustration





NOTICE:
* Install the clip so that its claws are within the clip installation range.
* Make sure that the rack boots are not twisted.