Curiosii for ever!: Car repair manuals for everyone.

Keyless Entry Transmitter: Testing and Inspection





DOOR LOCK: DOOR CONTROL TRANSMITTER (for Hatchback): INSPECTION

1. INSPECT DOOR CONTROL TRANSMITTER MODULE SET SUB-ASSEMBLY

(a) Inspect operation of the door control transmitter module set sub-assembly (for Type A).

(1) Remove the transmitter battery from the door control transmitter module set sub-assembly Transmitter Battery (for Hatchback).

(2) Install a new or non-depleted transmitter battery Transmitter Battery (for Hatchback).

NOTICE:
When replacing the transmitter battery, before starting work, remove static electricity that has built up in the body by touching, for example, the vehicle to prevent the electrical key transmitter from being damaged.





Text in Illustration





HINT
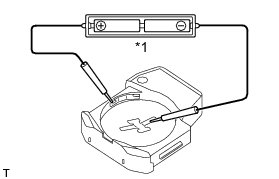
When a new or non-depleted battery is not available, first connect 2 new 1.5 V batteries in series. Then connect leads to the batteries and apply 3 V to the door control transmitter module set sub-assembly, as shown in the illustration.

(3) From outside the vehicle, approximately 1 m (3.28 ft) from the driver door outside door handle, test the door control transmitter module set sub-assembly by pointing its key plate at the vehicle and pressing a door control transmitter module set sub-assembly switch.

OK:

The door lock can be operated via the door control transmitter module set sub-assembly.

The LED illuminates when each switch is pressed.

HINT
* The operational area differs depending on the user, the way the door control transmitter module set sub-assembly is held and the location.
* The door control transmitter module set sub-assembly uses weak radio waves that may be affected if the area has strong radio waves or electrical noise. The door control transmitter module set sub-assembly operation area may be shortened or the door control transmitter module set sub-assembly may not function.

(b) Inspect the battery capacity.

HINT
* The charge of the battery can be checked only when the battery is installed in the transmitter. If a lithium battery used in the transmitter is tested when it is not installed in the transmitter, a voltage of more than 2.5 V will be shown on the tester until the battery power is completely discharged. Therefore, it is necessary to measure the voltage with the battery installed in the transmitter (a resistance of 1.2 kOhms is applied to the battery) to check the amount of energy left in the battery.
* If the transmitter is faulty, the amount of energy left in the battery might not be checked correctly.

(1) Remove the battery from the door control transmitter module set sub-assembly that does not operate. Attach a lead wire (0.6 mm (0.0236 in.) in diameter or less including wire sheath) with tape or equivalent to the negative terminal Transmitter Battery (for Hatchback).

NOTICE:
Do not wrap the lead wire around a terminal, wedge it between the terminals, or solder it. A terminal may be deformed or damaged, and the battery will not be able to be installed correctly.

(2) Carefully pull the lead wire out from the position shown in the illustration and install the previously removed transmitter battery.

NOTICE:
When replacing the transmitter battery, before starting work, remove static electricity that has built up in the body by touching, for example, the vehicle to prevent the electrical key transmitter from being damaged.





Text in Illustration





(3) Check the transmitter battery voltage.





HINT
Measure the transmitter battery voltage while pressing the lock or unlock switch on the door control transmitter module set sub-assembly.

Standard voltage:





If the result is not as specified, replace the transmitter battery.

(c) Remove the battery.

(d) Remove the tape and wire.

(e) Install the battery Transmitter Battery (for Hatchback).

(f) Inspect operation of the door control transmitter module set sub-assembly (for Type B).

(1) Remove the transmitter battery from the door control transmitter module set sub-assembly Transmitter Battery (for Hatchback).

(2) Install a new or non-depleted transmitter battery Transmitter Battery (for Hatchback).

NOTICE:
When replacing the transmitter battery, before starting work, remove static electricity that has built up in the body by touching, for example, the vehicle to prevent the electrical key transmitter from being damaged.





Text in Illustration





HINT
When a new or non-depleted battery is not available, first connect 2 new 1.5 V batteries in series. Then connect leads to the batteries and apply 3 V to the door control transmitter module set sub-assembly, as shown in the illustration.

(3) From outside the vehicle, approximately 1 m (3.28 ft) from the driver door outside door handle, test the door control transmitter module set sub-assembly by pointing its key plate at the vehicle and pressing a door control transmitter module set sub-assembly switch.

OK:

The door lock can be operated via the door control transmitter module set sub-assembly.

HINT
* The operational area differs depending on the user, the way the door control transmitter module set sub-assembly is held and the location.
* The door control transmitter module set sub-assembly uses weak radio waves that may be affected if the area has strong radio waves or electrical noise. The door control transmitter module set sub-assembly operation area may be shortened or the door control transmitter module set sub-assembly may not function.

(g) Inspect the battery capacity.

HINT
* The charge of the battery can be checked only when the battery is installed in the transmitter. If a lithium battery used in the transmitter is tested when it is not installed in the transmitter, a voltage of more than 2.5 V will be shown on the tester until the battery power is completely discharged. Therefore, it is necessary to measure the voltage with the battery installed in the transmitter (a resistance of 1.2 kOhms is applied to the battery) to check the amount of energy left in the battery.
* If the transmitter is faulty, the amount of energy left in the battery might not be checked correctly.

(1) Remove the battery from the door control transmitter module set sub-assembly that does not operate. Attach a lead wire (0.6 mm (0.0236 in.) in diameter or less including wire sheath) with tape or equivalent to the negative terminal Transmitter Battery (for Hatchback).

NOTICE:
Do not wrap the lead wire around a terminal, wedge it between the terminals, or solder it. A terminal may be deformed or damaged, and the battery will not be able to be installed correctly.

(2) Carefully pull the lead wire out from the position shown in the illustration and install the previously removed transmitter battery.

NOTICE:
When replacing the transmitter battery, before starting work, remove static electricity that has built up in the body by touching, for example, the vehicle to prevent the electrical key transmitter from being damaged.





Text in Illustration





(3) Check the transmitter battery voltage.





HINT
Measure the transmitter battery voltage while pressing the lock or unlock switch on the door control transmitter module set sub-assembly.

Standard voltage:





If the result is not as specified, replace the transmitter battery.

(h) Remove the battery.

(i) Remove the tape and wire.

(j) Install the battery Transmitter Battery (for Hatchback).