Curiosii for ever!: Car repair manuals for everyone.

Part 1





NETWORKING: CAN COMMUNICATION SYSTEM: Check CAN Bus Line for Short to +B
- Check CAN Bus Line for Short to +B

DESCRIPTION

There may be a short circuit between the CAN bus main wire and +B when no resistance exists between terminals 6 (CANH) and 16 (BAT) or 14 (CANL) and 16 (BAT) of the DLC3.





WIRING DIAGRAM









INSPECTION PROCEDURE

NOTICE:
* Turn the ignition switch off before measuring the resistances between CAN bus main wires and between CAN bus branch wires.
* Turn the ignition switch off before inspecting CAN bus wires for a ground short.
* After the ignition switch is turned off, check that the key reminder warning system and light reminder warning system are not operating.
* Before measuring the resistance, leave the vehicle as is for at least 1 minute and do not operate the ignition switch, any other switches or the doors. If any doors need to be opened in order to check connectors, open the doors and leave them open.

HINT
* Operating the ignition switch, any other switches or a door triggers related ECU and sensor communication on the CAN. This communication will cause the resistance value to change.
* Even after DTCs are cleared, if a DTC is stored again after driving the vehicle for a while, the malfunction may be occurring due to vibration of the vehicle. In such a case, wiggling the ECUs or wire harness while performing the inspection below may help determine the cause of the malfunction.

PROCEDURE

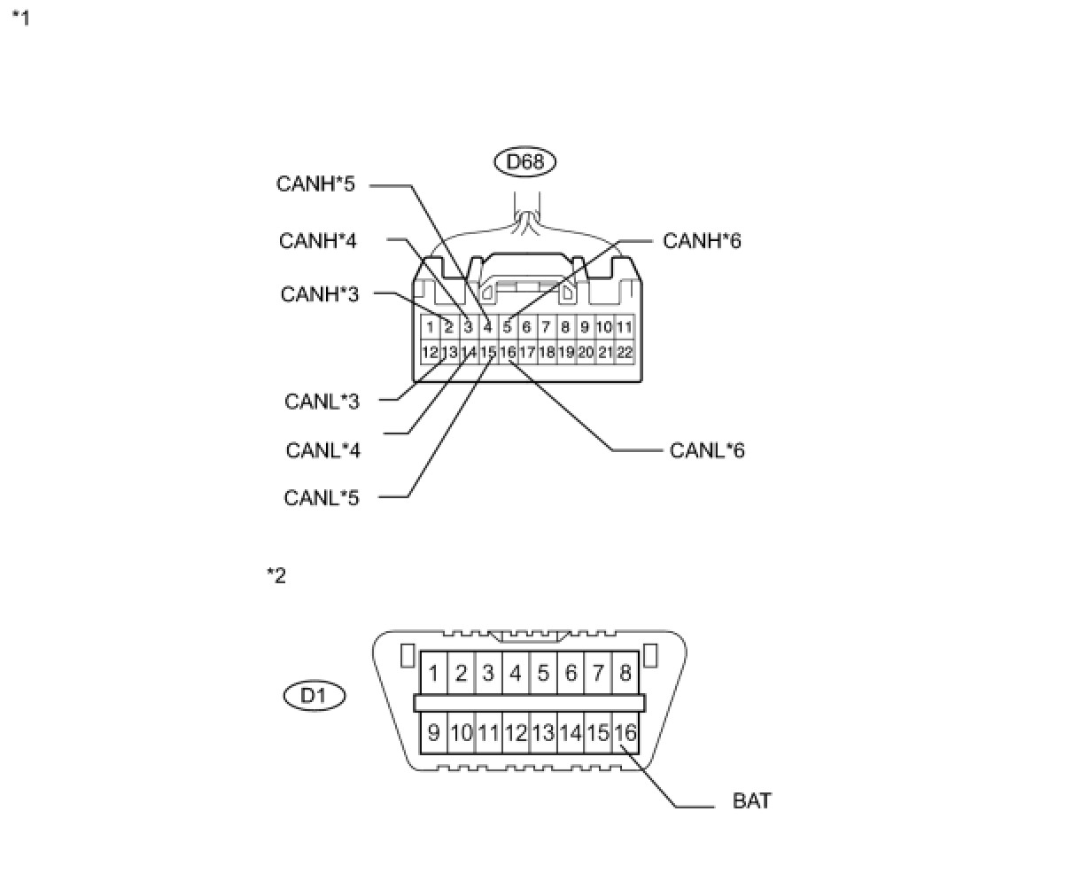
1. CHECK FOR SHORT TO +B IN CAN BUS WIRE (CAN NO. 1 JUNCTION CONNECTOR)

(a) Disconnect the cable from the negative (-) battery terminal.

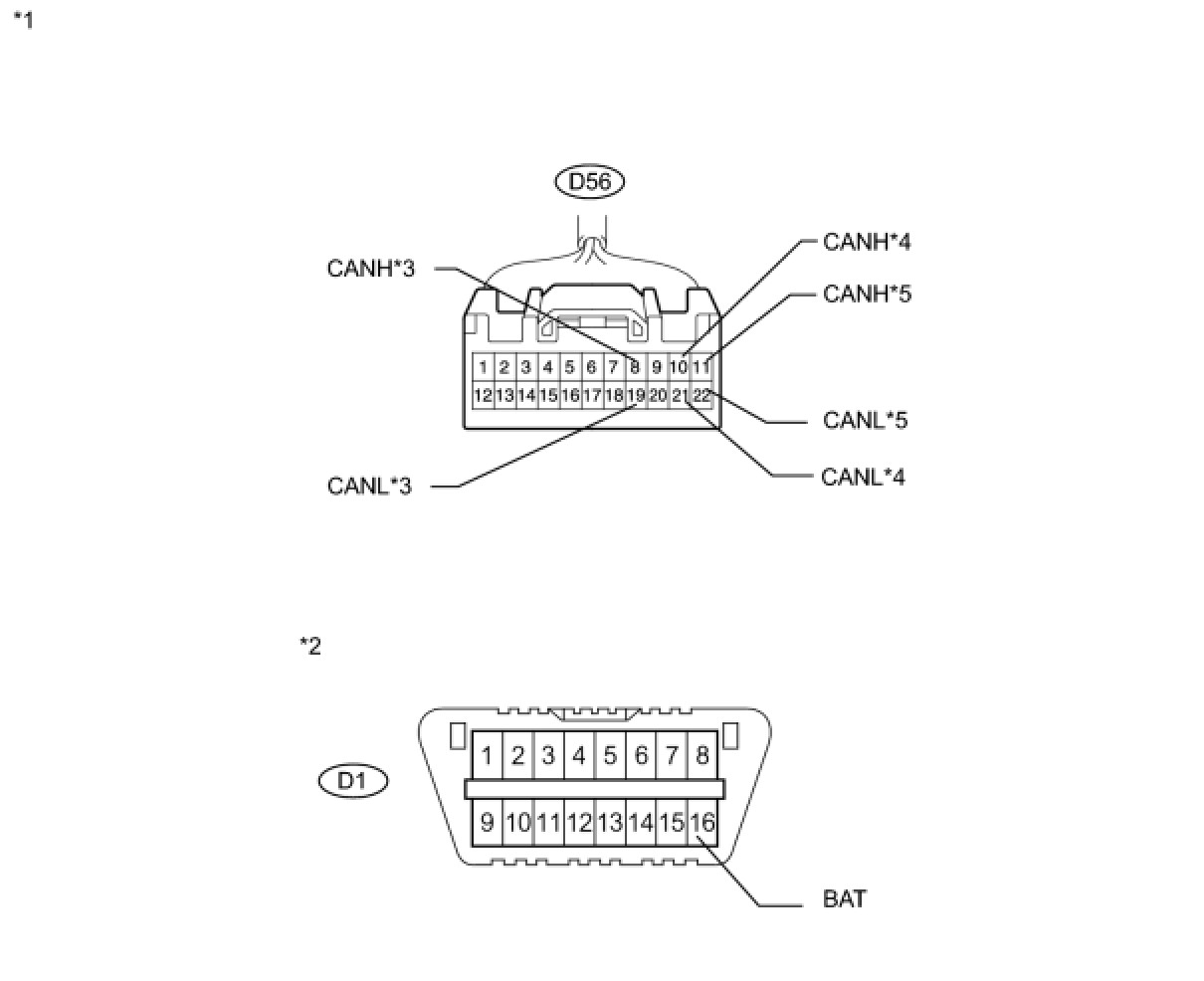
(b) Disconnect the CAN No. 1 junction connector (D56).





Text in Illustration





(c) Measure the resistance according to the value(s) in the table below.





Standard Resistance:





Text in Illustration





NG -- CHECK FOR SHORT TO +B IN CAN BUS WIRE (CAN NO. 2 JUNCTION CONNECTOR - CAN NO. 1 JUNCTION CONNECTOR)
OK -- Continue to next step.

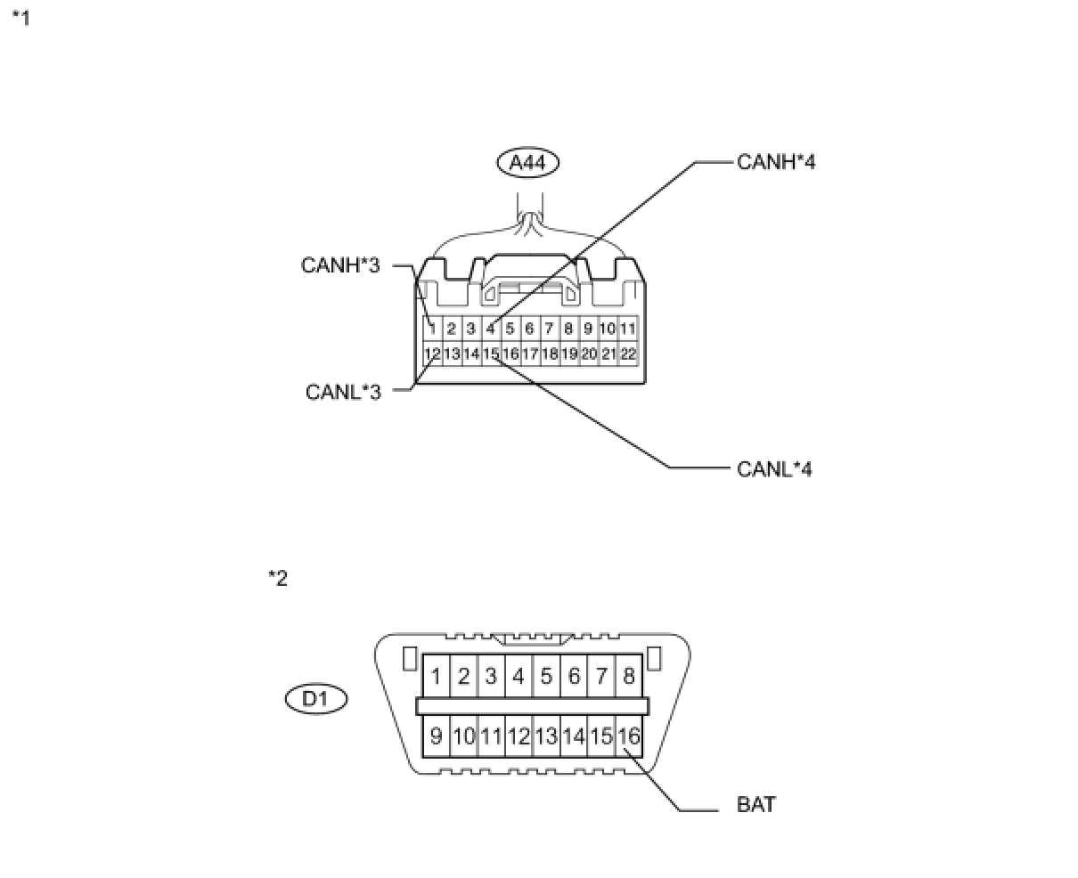
2. CHECK FOR SHORT TO +B IN CAN BUS WIRE (CAN NO. 1 JUNCTION CONNECTOR)

(a) Disconnect the CAN No. 1 junction connector (A44).





Text in Illustration





(b) Measure the resistance according to the value(s) in the table below.

Standard Resistance:





Result:





B -- CHECK FOR SHORT TO +B IN CAN BUS WIRE (CAN NO. 1 JUNCTION CONNECTOR - SKID CONTROL ECU)

C -- CHECK FOR SHORT TO +B IN CAN BUS WIRE (CAN NO. 1 JUNCTION CONNECTOR - ECM)
A -- Continue to next step.

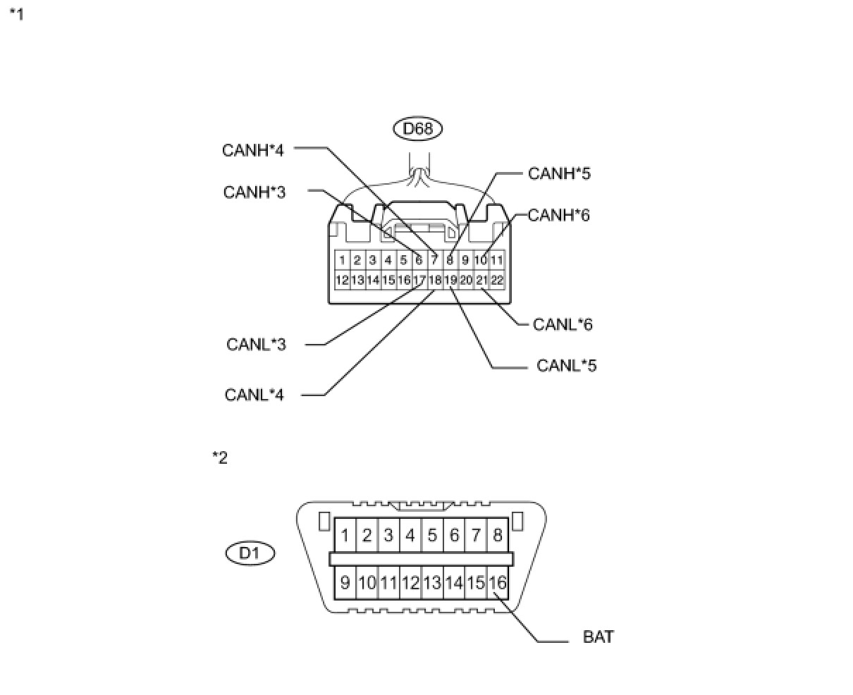
3. CHECK FOR SHORT TO +B IN CAN BUS WIRE (CAN NO. 1 JUNCTION CONNECTOR)

(a) Disconnect the CAN No. 1 junction connector (D56).





Text in Illustration





(b) Measure the resistance according to the value(s) in the table below.

Standard Resistance:





Result:





B -- CHECK FOR SHORT TO +B IN CAN BUS WIRE (CAN NO. 1 JUNCTION CONNECTOR - AIR CONDITIONING AMPLIFIER)

C -- CHECK FOR SHORT TO +B IN CAN BUS WIRE (CAN NO. 1 JUNCTION CONNECTOR - POWER MANAGEMENT CONTROL ECU)

D -- CHECK FOR SHORT TO +B IN CAN BUS WIRE (CAN NO. 1 JUNCTION CONNECTOR - 4WD CONTROL ECU)

A -- REPLACE CAN NO. 1 JUNCTION CONNECTOR

4. CHECK FOR SHORT TO +B IN CAN BUS WIRE (CAN NO. 2 JUNCTION CONNECTOR - CAN NO. 1 JUNCTION CONNECTOR)

(a) Disconnect the CAN No. 2 junction connector.





Text in Illustration





(b) Measure the resistance according to the value(s) in the table below.

Standard Resistance:





NG -- REPAIR OR REPLACE CAN BUS MAIN WIRE OR CONNECTOR (CAN NO. 2 JUNCTION CONNECTOR - CAN NO. 1 JUNCTION CONNECTOR)
OK -- Continue to next step.

5. CHECK FOR SHORT TO +B IN CAN BUS WIRE (CAN NO. 2 JUNCTION CONNECTOR)

(a) Measure the resistance according to the value(s) in the table below.





Standard Resistance:





Text in Illustration





Result:





B -- CHECK FOR SHORT TO +B IN CAN BUS WIRE (CAN NO. 2 JUNCTION CONNECTOR - CENTER AIRBAG SENSOR ASSEMBLY)

C -- CHECK FOR SHORT TO +B IN CAN BUS WIRE (CAN NO. 2 JUNCTION CONNECTOR - YAW RATE SENSOR)

D -- CHECK FOR SHORT TO B+ IN CAN BUS WIRE (CAN NO. 2 JUNCTION CONNECTOR - MAIN BODY ECU)

E -- CHECK FOR SHORT TO B+ IN CAN BUS WIRE (CAN NO. 2 JUNCTION CONNECTOR - STEERING ANGLE SENSOR)
A -- Continue to next step.

6. CHECK FOR SHORT TO +B IN CAN BUS WIRE (CAN NO. 2 JUNCTION CONNECTOR)

(a) Measure the resistance according to the value(s) in the table below.





Standard Resistance:





Text in Illustration





Result:





B -- REPAIR OR REPLACE CAN BRANCH WIRE CONNECTED TO DLC3

C -- CHECK FOR SHORT TO B+ IN CAN BUS WIRE (CAN NO. 2 JUNCTION CONNECTOR - POWER STEERING ECU)

D -- CHECK FOR SHORT TO B+ IN CAN BUS WIRE (CAN NO. 2 JUNCTION CONNECTOR - COMBINATION METER)

E -- CHECK FOR SHORT TO B+ IN CAN BUS WIRE (CAN NO. 2 JUNCTION CONNECTOR - CERTIFICATION ECU)

A -- REPLACE CAN NO. 2 JUNCTION CONNECTOR

7. CHECK FOR SHORT TO +B IN CAN BUS WIRE (CAN NO. 1 JUNCTION CONNECTOR - SKID CONTROL ECU)

(a) Disconnect the skid control ECU connector.





Text in Illustration





(b) Measure the resistance according to the value(s) in the table below.





Standard Resistance:





Text in Illustration





NG -- REPAIR OR REPLACE CAN BUS BRANCH WIRE OR CONNECTOR (CAN NO. 1 JUNCTION CONNECTOR - SKID CONTROL ECU)

OK -- REPLACE BRAKE ACTUATOR (SKID CONTROL ECU) Removal

8. CHECK FOR SHORT TO +B IN CAN BUS WIRE (CAN NO. 1 JUNCTION CONNECTOR - ECM)

(a) Disconnect the ECM connector.





Text in Illustration





(b) Measure the resistance according to the value(s) in the table below.





Standard Resistance:





Text in Illustration





Result:





B -- REPLACE ECM Removal

C -- REPAIR OR REPLACE CAN BUS MAIN WIRE OR CONNECTOR (CAN NO. 1 JUNCTION CONNECTOR - ECM)

A -- REPLACE ECM Removal

9. CHECK FOR SHORT TO +B IN CAN BUS WIRE (CAN NO. 1 JUNCTION CONNECTOR - AIR CONDITIONING AMPLIFIER)

(a) Disconnect the air conditioning amplifier connector.





Text in Illustration





(b) Measure the resistance according to the value(s) in the table below.





Standard Resistance:





Text in Illustration





NG -- REPAIR OR REPLACE CAN BUS BRANCH WIRE OR CONNECTOR (CAN NO. 1 JUNCTION CONNECTOR - AIR CONDITIONING AMPLIFIER)

OK -- REPLACE AIR CONDITIONING AMPLIFIER Removal