Curiosii for ever!
: Car repair manuals for everyone.
Home
>>
Toyota
>>
2012
>>
Venza AWD L4-2.7L (1AR-FE)
>>
Repair and Diagnosis
>>
Powertrain Management
>>
Ignition System
>>
Description and Operation
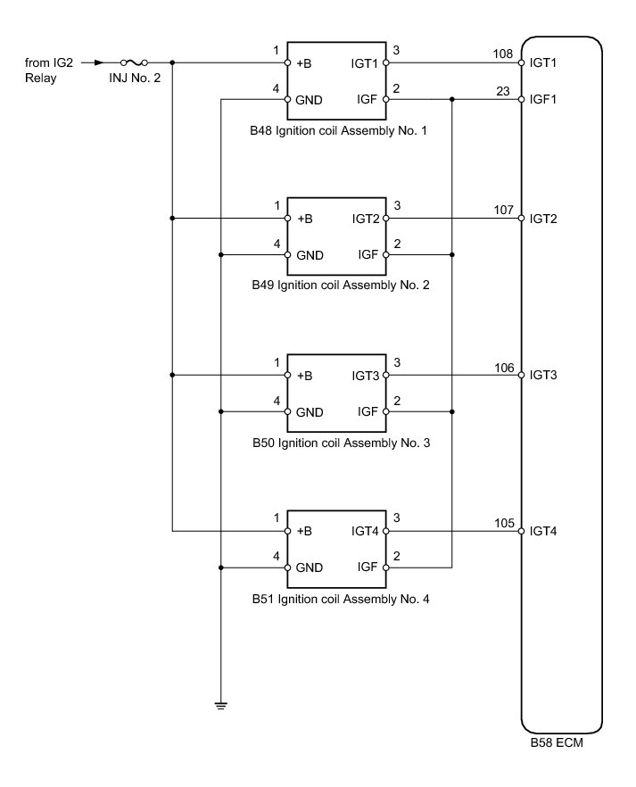
Ignition System: Description and Operation
1AR-FE ENGINE CONTROL:
IGNITION SYSTEM
: SYSTEM DIAGRAM