Curiosii for ever!: Car repair manuals for everyone.

Open in CAN Main Bus Line





NETWORKING: CAN COMMUNICATION SYSTEM: Open in CAN Main Bus Line
- Open in CAN Main Bus Line

DESCRIPTION

There may be an open circuit one of the V bus main lines and/or a DLC3 branch line when the resistance between terminals 6 (CANH) and 14 (CANL) of the DLC3 is 70 Ohms or higher.





This malfunction is not related to the lines of a CAN main bus branch or to ECUs or sensor connected a CAN main bus branch.

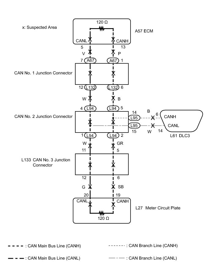
WIRING DIAGRAM





INSPECTION PROCEDURE

NOTICE:
* Before measuring the resistance of the CAN bus, turn the power switch off and leave the vehicle for 1 minute or more without operating the key, switches or opening or closing the doors. After that, disconnect the cable from the negative (-) auxiliary battery terminal and leave the vehicle for 1 minute or more before measuring the resistance.
* After turning the power switch off, waiting time may be required before disconnecting the cable from the negative (-) auxiliary battery terminal. Therefore, make sure to read the disconnecting the cable from the negative (-) auxiliary battery terminal notices before proceeding with work Service Precautions.
* Because the order of diagnosis is important to allow correct diagnosis, make sure to begin troubleshooting using How to Proceed with Troubleshooting when CAN communication system related DTCs are output How to Proceed With Troubleshooting.
* After performing repairs, perform the DTC check procedure and confirm that the DTCs are not output again.
* DTC check procedure: Turn the power switch on (IG), turn the cruise control system on using the cruise control switch (ON/OFF switch), wait at least 60 seconds, and then drive the vehicle at a speed of 50 km/h (31 mph) or more for at least 1.72 seconds.
* After the repair, perform CAN Bus Check and check that all the ECUs and sensors connected to the CAN communication system are displayed Diagnosis System.

HINT
* Operating the power switch, any other switches or a door triggers related ECU and sensor communication on the CAN. This communication will cause the resistance value to change.
* Even after DTCs are cleared, if a DTC is stored again after driving the vehicle for a while, the malfunction may be occurring due to vibration of the vehicle. In such a case, wiggling the ECUs or wire harness while performing the inspection below may help determine the cause of the malfunction.

PROCEDURE

1. CHECK FOR OPEN IN CAN BUS LINES (DLC3 BRANCH LINE)

(a) Disconnect the cable from the negative (-) auxiliary battery terminal.

(b) Measure the resistance according to the value(s) in the table below.





Standard Resistance:





Text in Illustration





NOTICE:
When the measured value is 133 Ohms or higher and a CAN communication system DTC is output, there may be a fault besides disconnection of the DLC3 branch line. For that reason, troubleshooting should be performed again from How to Proceed with Troubleshooting after repairing the trouble area How to Proceed With Troubleshooting.

NG -- REPAIR OR REPLACE CAN BRANCH LINE CONNECTED TO DLC3
OK -- Continue to next step.

2. CHECK FOR OPEN IN CAN BUS LINES (ECM)

(a) Disconnect the ECM connector.





(b) Measure the resistance according to the value(s) in the table below.

Standard Resistance:





Text in Illustration





NG -- CHECK FOR OPEN IN CAN BUS LINES (METER CIRCUIT PLATE)

OK -- REPLACE ECM Removal

3. CHECK FOR OPEN IN CAN BUS LINES (METER CIRCUIT PLATE)

(a) Reconnect the ECM connector.

(b) Disconnect the meter circuit plate connector.





(c) Measure the resistance according to the value(s) in the table below.

Standard Resistance:





Text in Illustration





NG -- CHECK FOR OPEN IN CAN BUS LINES (CAN NO. 2 J/C)

OK -- REPLACE METER CIRCUIT PLATE Disassembly

4. CHECK FOR OPEN IN CAN BUS LINES (CAN NO. 2 J/C)

(a) Reconnect the meter circuit plate connector.

(b) Disconnect the wire harness connector from the CAN No. 2 junction connector (instrument panel connector holder left side).





(c) Measure the resistance according to the value(s) in the table below.

Standard Resistance:





Text in Illustration





Result:





B -- CHECK FOR OPEN IN CAN BUS LINES (CAN NO. 2 J/C - CAN NO. 1 J/C)

C -- CHECK FOR OPEN IN CAN BUS LINES (CAN NO. 3 J/C)

A -- REPLACE CAN NO. 2 JUNCTION CONNECTOR

5. CHECK FOR OPEN IN CAN BUS LINES (CAN NO. 2 J/C - CAN NO. 1 J/C)

(a) Reconnect the wire harness connector to the CAN No. 2 junction connector (instrument panel connector holder left side).

(b) Disconnect the wire harness connector from the CAN No. 1 junction connector (instrument panel wire side).





(c) Measure the resistance according to the value(s) in the table below.

Standard Resistance:





Text in Illustration





NG -- REPAIR OR REPLACE CAN MAIN BUS LINE OR CONNECTOR (CAN NO. 1 J/C - CAN NO. 2 J/C)
OK -- Continue to next step.

6. CHECK FOR OPEN IN CAN BUS LINES (CAN NO. 1 J/C - ECM)

(a) Disconnect the wire harness connector from the CAN No. 1 junction connector (engine room main wire side).





(b) Measure the resistance according to the value(s) in the table below.

Standard Resistance:





Text in Illustration





NG -- REPAIR OR REPLACE CAN MAIN BUS LINE OR CONNECTOR (CAN NO. 1 J/C - ECM)

OK -- REPLACE CAN NO. 1 JUNCTION CONNECTOR

7. CHECK FOR OPEN IN CAN BUS LINES (CAN NO. 3 J/C)

(a) Reconnect the wire harness connector to the CAN No. 2 junction connector (instrument panel connector holder left side).

(b) Disconnect the wire harness connector from the CAN No. 3 junction connector (instrument panel wire side).





(c) Measure the resistance according to the value(s) in the table below.

Standard Resistance:





Text in Illustration





Result:





B -- REPAIR OR REPLACE CAN MAIN BUS LINE OR CONNECTOR (CAN NO. 2 J/C - CAN NO. 3 J/C)

C -- REPAIR OR REPLACE CAN MAIN BUS LINE OR CONNECTOR (CAN NO. 3 J/C - METER CIRCUIT PLATE)

A -- REPLACE CAN NO. 3 JUNCTION CONNECTOR