Curiosii for ever!: Car repair manuals for everyone.

All Door Entry Lock/Unlock Functions Do Not Operate, But Wireless Functions Operate





THEFT DETERRENT / KEYLESS ENTRY: SMART KEY SYSTEM (for Entry Function): All Door Entry Lock/Unlock Functions do not Operate, but Wireless Functions Operate
- All Door Entry Lock/Unlock Functions do not Operate, but Wireless Functions Operate

DESCRIPTION

When the wireless operation can be used to lock and unlock the doors, communication between the door control receiver and certification ECU (smart key ECU assembly) is normal. If the entry lock and unlock functions do not operate, the entry cancel function may be set through the customize function, there may be communication problems between the electrical key transmitter sub-assembly and vehicle, or there may be electric wave interference.

INSPECTION PROCEDURE

NOTICE:
* The smart key system (for Entry Function) uses a multiplex communication system (LIN communication system) and the CAN communication system. Inspect the communication function by following How to Proceed with Troubleshooting How To Proceed With Troubleshooting. Troubleshoot the smart key system (for Entry Function) after confirming that the communication systems are functioning properly.
* When using the Techstream with the power switch off to troubleshoot:
Connect the Techstream to the DLC3 and turn a courtesy light switch on and off at 1.5-second intervals until communication between the Techstream and vehicle begins.
* Check that there are no electrical key transmitter sub-assemblies in the vehicle.
* Before performing the inspection, check that DTC B1242 (wireless door lock control) is not output Reading and Clearing Diagnostic Trouble Codes.
* Before replacing the certification ECU (smart key ECU assembly), refer to the smart key system (for Entry Function) Smart Key System (for Entry Function).
* After repair, confirm DTC not reoccur with performing the "DTC Output Confirmation Operation".

PROCEDURE

1. READ VALUE USING TECHSTREAM (KEY CANCEL SWITCH)

(a) Using the Techstream, read the Data List Smart Key System (for Entry Function).

Smart Key





Result





B -- PERFORM CANCELLATION OF ENTRY KEY CANCEL FUNCTION Smart Key System (for Entry Function)
A -- Continue to next step.

2. CHECK WAVE ENVIRONMENT

(a) Move the electrical key transmitter sub-assembly as described below and perform the operation inspection Operation Check.

HINT
* When the electrical key transmitter sub-assembly is brought near the front door outside handle assembly (for driver door) or electrical key antenna, the possibility of wave interference decreases, and it can be determined if wave interference is causing the problem symptom.
* The transmitting wave of the wireless function and entry function are the same, but the wave logic is different. As a result, it is possible that only the wireless function or only the entry function is affected by wave interference.

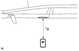
(1) Bring the electrical key transmitter sub-assembly approximately 0.3 m (0.98 ft.) from the front door outside handle assembly (for driver door) and perform a driver door entry lock and unlock operation check.





Text in Illustration





NOTICE:
If the electrical key transmitter sub-assembly is brought within 0.2 m (0.66 ft.) of the door handle, communication may not possible.

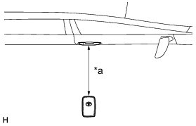
(2) Bring the electrical key transmitter sub-assembly approximately 0.3 m (0.98 ft.) from the front door outside handle assembly (for front passenger door) and perform a front passenger door entry lock and unlock operation check.





Text in Illustration





NOTICE:
If the electrical key transmitter sub-assembly is brought within 0.2 m (0.66 ft.) of the door handle, communication may not possible.

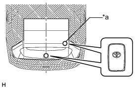
(3) Bring the electrical key transmitter sub-assembly approximately 0.3 m (0.98 ft.) from the electrical key antenna (outside luggage) and perform an entry back door lock and unlock function check.





Text in Illustration





NOTICE:
If the electrical key transmitter sub-assembly is brought within 0.2 m (0.66 ft.) of the rear bumper, communication may not possible.

HINT
* If the inspection result is that the problem only occurs in certain locations or at certain times of day, the possibility of wave interference is high. Also, added vehicle components may cause wave interference. If installed, remove them and perform the operation check.
* If electric wave interference seems to be the likely cause of the problem, ask the customer if the problem occurs in specific locations.
* Move the vehicle to a different location, perform the following procedure and check if the symptoms can be reproduced.
* If a tool for checking electric waves, such as a signal strength meter, is available, move around the area while observing both the LF band (used by the vehicle antenna to form the electrical key transmitter sub-assembly detection area) and RF band (used by the electrical key transmitter sub-assembly for transmission) to check for locations where there is wave interference.

Result





B -- AFFECTED BY WAVE INTERFERENCE

C -- GO TO OTHER PROBLEM (PROCEED TO PROBLEM SYMPTOMS TABLE FOR EACH DOOR) Problem Symptoms Table
A -- Continue to next step.

3. CHECK ELECTRICAL KEY ANTENNAS IN KEY DIAGNOSTIC MODE

(a) Check the following antennas in the key diagnostic mode System Description.

(1) Check the electrical key antenna (for driver door):





Text in Illustration





When the electrical key transmitter sub-assembly is brought within 0.7 to 1 m (2.30 to 3.28 ft.) of the front door outside handle assembly (for driver door), check that the wireless door lock buzzer sounds.

(2) Check the electrical key antenna (for front passenger door):





Text in Illustration





When the electrical key transmitter sub-assembly is brought within 0.7 to 1 m (2.30 to 3.28 ft.) of the front door outside handle assembly (for front passenger door), check that the wireless door lock buzzer sounds.

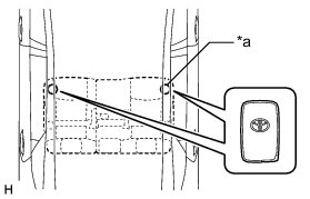
(3) Check the No. 1 indoor electrical key antenna (front floor):





Text in Illustration





When the electrical key transmitter sub-assembly is at the inspection point, check that the wireless door lock buzzer sounds.

(4) Check the No. 3 indoor electrical key antenna (rear floor):





Text in Illustration





When the electrical key transmitter sub-assembly is at the inspection point, check that the wireless door lock buzzer sounds.

(5) Check the No. 2 indoor electrical key antenna (inside luggage):





Text in Illustration





When the electrical key transmitter sub-assembly is at the inspection point, check that the wireless door lock buzzer sounds.

(6) Check the electrical key antenna (outside luggage):





Text in Illustration





When the electrical key transmitter sub-assembly is brought within 0.7 to 1 m (2.30 to 3.28 ft.) of the electrical key antenna (outside luggage), check that the wireless door lock buzzer sounds.

OK:

Wireless door lock buzzer sounds.

Result





B -- GO TO OTHER FLOWCHART (PROCEED TO PROBLEM SYMPTOM FLOWCHART FOR EACH DOOR) Problem Symptoms Table

C -- GO TO OTHER FLOWCHART Room Oscillator Does Not Recognize Key

D -- GO TO OTHER FLOWCHART Back Door Entry Unlock Function Does Not Operate

E -- REPLACE CERTIFICATION ECU (SMART KEY ECU ASSEMBLY) Removal
A -- Continue to next step.

4. INSPECT ELECTRICAL KEY TRANSMITTER SUB-ASSEMBLY

(a) Check if there is another electrical key transmitter sub-assembly available that is already registered to the vehicle.

Result





B -- CHECK OPERATION
A -- Continue to next step.

5. REPLACE ELECTRICAL KEY TRANSMITTER SUB-ASSEMBLY

(a) Register a new electrical key transmitter sub-assembly.

NEXT -- Continue to next step.

6. CHECK OPERATION

(a) Check the operation of the entry lock function Operation Check.

OK:

Entry lock function operates normally.

NG -- REPLACE CERTIFICATION ECU (SMART KEY ECU ASSEMBLY) Removal

OK -- END (ELECTRICAL KEY TRANSMITTER SUB-ASSEMBLY WAS DEFECTIVE)