Curiosii for ever!
: Car repair manuals for everyone.
Home
>>
Toyota
>>
2012
>>
Prius L4-1.8L (2ZR-FXE) Hybrid
>>
Repair and Diagnosis
>>
Specifications
>>
Mechanical Specifications
>>
Body and Frame
>>
System Specifications
>>
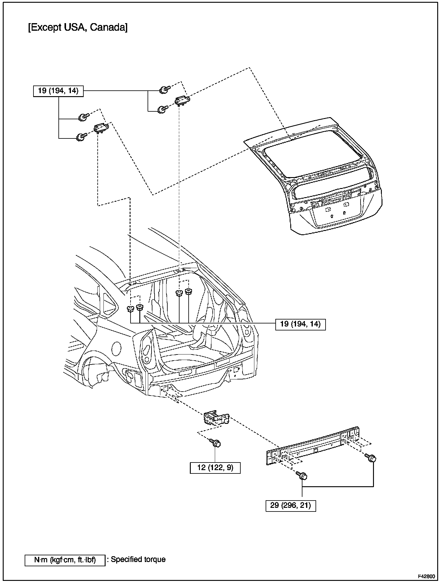
Outer Panel Installation Torque
Outer Panel Installation Torque