Curiosii for ever!: Car repair manuals for everyone.

Part 1





INTRODUCTION: REPAIR INSTRUCTION: PRECAUTION

1. BASIC REPAIR HINT

(a) HINTS ON OPERATIONS









CAUTION:
*: Be sure to perform these checks properly, Not performing these checks properly after finishing work can lead to serious accident or injury.

(b) JACKING UP AND SUPPORTING VEHICLE

(1) Care must be taken when jacking up and supporting the vehicle. Be sure to lift and support the vehicle at the proper locations.

(c) PRECOATED PARTS





Text in Illustration





(1) Precoated parts are bolts and nuts that are coated with seal lock adhesive at the factory.

(2) If a precoated part is retightened, loosened or moved in any way, it must be recoated with the specified adhesive.

(3) When reusing a precoated part, clean off the old adhesive and dry the part with compressed air. Then apply new seal lock adhesive appropriately to that part.

(4) Some seal lock agents harden slowly. You may have to wait for the seal lock adhesive to harden.

(d) GASKETS

(1) When necessary, use a sealer on gaskets to prevent leaks.

(e) BOLTS, NUTS AND SCREWS

(1) Carefully follow all the specifications for tightening torque. Always use a torque wrench.

(f) FUSES





Text in Illustration





(1) When inspecting a fuse, check that the wire of the fuse is not broken.

(2) If the wire of a fuse is broken, confirm that there are no shorts in its circuit.

(3) When a fuse is replaced, a fuse with the same amperage rating must be used.





(g) CLIPS

(1) The removal and installation methods of typical clips used for vehicle body parts are shown in the table below.

HINT
If clips are damaged during a procedure, always replace the damaged clips with new ones.









(h) CLAWS

(1) The removal and installation methods of typical claws used for vehicle body parts are shown in the table below.

HINT
If claws are damaged during a procedure, always replace the cap or cover that has damaged claws with a new one.





(i) HINGES, GUIDES, CLAMPS, PINS, ETC.

(1) The removal and installation methods of typical hinges, guides, clamps and pins used for vehicle body parts are shown in the table below.

HINT
If clamps are damaged during a procedure, always replace the cap or cover that has damaged clamps with a new one.





(j) REMOVAL AND INSTALLATION OF VACUUM HOSES

(1) To disconnect a vacuum hose, pull and twist it from the end of the hose. Do not pull it from the middle of the hose as this may damage the hose.





Text in Illustration





(2) When disconnecting vacuum hoses, use tags to identify where they should be reconnected.





(3) After completing any hose related repairs, double-check that the vacuum hoses are properly connected. The label under the hood shows the proper layout.

(4) When using a vacuum gauge, never force the hose onto a connector that is too large. If a hose has been stretched, air may leak. Use a step-down adapter if necessary.

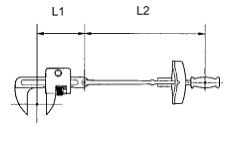
(k) TORQUE WHEN USING TORQUE WRENCH WITH EXTENSION TOOL





(1) Use the formula below to calculate special torque values for situations where SST or an extension tool is combined with a torque wrench.





* Formula

T' = (L2/(L1 + L2))*T





NOTICE:
If an extension tool or SST is combined with a torque wrench and used to tighten to a torque specification in this manual, the actual torque will be excessive and parts will be damaged.

2. PRECAUTIONS FOR HIGH-VOLTAGE CIRCUIT INSPECTION AND SERVICE

CAUTION:
The vehicle has a hybrid system that operates at voltages up to 650 V. The hybrid system uses an HV battery that contains an electrolyte which is a strong alkali solution that includes potassium hydroxide. Be sure to follow the instructions in this manual to handle the system correctly. Failure to do so may result in serious injury or electrocution.

(a) Technicians must undergo special training to be able to service and inspect the high-voltage system.

(b) All high-voltage wire harnesses and connectors are colored orange. The HV battery and other high-voltage components have "High Voltage" caution labels. Do not carelessly touch these wires or components.

(c) When there is a problem with the wire harness or connector of a high-voltage circuit, repairs to the harness or connector should not be attempted. Replace damaged or malfunctioning high voltage cables or connectors.

(d) Before inspecting or servicing the high-voltage system, be sure to follow all safety measures, such as wearing insulated gloves and removing the service plug to prevent electrocution. Carry the removed service plug in your pocket to prevent other technicians from accidentally reconnecting it while you are servicing the vehicle.





NOTICE:
After removing the service plug grip, do not turn the power switch on (READY), unless instructed by the repair manual because this may cause a malfunction.

(e) After removing the service plug, wait 10 minutes before touching any of the high-voltage connectors and terminals.

HINT
Waiting for at least 10 minutes is required to discharge the high-voltage capacitor inside the inverter with converter assembly.

(f) Before using insulated gloves, be sure to check them for cracks, tears and other types of damage by performing the following procedure.





(1) Place the glove on its side.

(2) Roll the opening up 2 or 3 times.

(3) Fold the opening in half to close it.

(4) Confirm that there are no air leaks.

(g) When servicing the vehicle, do not carry metal objects like mechanical pencils or rulers that can be dropped accidentally and cause a short circuit.

(h) Before touching a bare high-voltage terminal, wear insulated gloves and use a tester to make sure that the terminal voltage is 0 V.

(i) After disconnecting or exposing a high-voltage connector or terminal, insulate it immediately using insulating tape.





(j) Bolts and nuts for high-voltage terminals should be tightened firmly to the specified torque. Both insufficient and excessive torque can cause failure.

(k) Use the "CAUTION: HIGH VOLTAGE DO NOT TOUCH" sign to notify other technicians that the high-voltage system is being inspected and/or repaired.





(l) After servicing the high-voltage system and before reinstalling the service plug, check again that you have not left a part or tool inside, that the high-voltage terminals are firmly tightened, and that the connectors are correctly connected.

(m) When installing hybrid system components such as the HV battery, make sure that the polarity of all connections is correct.

3. PRECAUTIONS TO BE OBSERVED WHEN INSPECTING OR SERVICING ENGINE COMPARTMENT

(a) The vehicle automatically turns the engine on and off when the READY light on the instrument panel is illuminated. To avoid injury, make sure that both the indicator on the power switch and the READY light on the meter are off.

4. ACTIONS TO BE TAKEN WHEN A WARNING LIGHT IS ILLUMINATED





Text in Illustration





(a) If one of the warning lights (2) to (4) illuminates, connect the Techstream to the DLC3 to check the DTCs (Diagnostic Trouble Codes). Then, refer to the applicable troubleshooting steps in this manual to inspect and repair the affected area. The foregoing actions are also required if the READY light does not illuminate when attempting to turn the power switch on (READY).





5. ACTIONS TO BE TAKEN WHEN BATTERIES ARE DISCHARGED

HINT
The vehicle uses a 12 V auxiliary and a 201.6 V hybrid vehicle battery. Therefore, there are 2 recharging methods when the batteries are discharged.

(a) Perform this procedure when the auxiliary battery is fully discharged.

HINT
The following problems indicate that the auxiliary battery is discharged:

* No display appears on the instrument panel when the power switch is turned on (IG).
* The hybrid system does not start.
* The headlights are dim.
* The sound from the horn is weak.
* Park (P) cannot be disengaged.

NOTICE:
Never use a quick charger.

(1) Engage the parking brake.

(2) Turn the power switch off and remove the key from the interior detection area.

(3) Remove the No. 1 relay block cover.

(4) Using booster cables, connect the 12 V battery of the rescue vehicle and the auxiliary battery of the stalled vehicle as shown in the illustration.

HINT
Use the booster terminal in the engine compartment.









(5) Start the engine of the rescue vehicle and run the engine at a speed slightly higher than usual.

(6) Turn the power switch on (READY).

NOTICE:
Immediately disconnect the booster cables in the reverse order of connection after the hybrid system has started. Do not leave the booster cables connected because they are not designed for recharging purposes.

If the hybrid system fails to start and the HV battery warning illuminates, the HV battery may be discharged.





Text in Illustration





(b) When the hybrid vehicle battery is discharged:

(1) Using the THS charger, charge the hybrid vehicle battery.

HINT
Perform this operation when the hybrid vehicle battery is discharged or low, or if Low Traction Battery is displayed and DTC P3000-388 or 389 is stored in the power management control ECU (HV CPU).

6. ACTIONS TO BE TAKEN FOR VEHICLES DAMAGED BY IMPACT

CAUTION:
The vehicle has a hybrid system that operates at voltages of up to 650 V. The hybrid system uses an HV battery that contains an electrolyte which is a strong alkali solution that includes potassium hydroxide. Be sure to follow the instructions in this manual to handle the system correctly. Failure to do so may result in serious injury or electrocution.

(a) Items to be prepared for the accident site

* Protective clothing (insulated gloves, rubber gloves, goggles, and safety shoes)

* Saturated boric acid solution 20 liter (21.1 US qts, 17.6 Imp.qts) (obtain 800 g (1.76 lb) of boric acid powder, put it into a container, and dissolve it in water)

* Red litmus paper

* ABC fire extinguisher (effective against both oil flames and electrical flames)

* A shop rag or piece of cloth (for wiping off the electrolyte)

* Insulating tape (for insulating cable)

* Electrical tester

(b) Actions to be taken at the accident site

CAUTION:
* Do not touch any bare cables that may have high-voltage. If a cable must be touched or if accidental contact is possible, wear insulated gloves and insulate the cable using insulating tape.
* If the vehicle catches on fire, use an ABC fire extinguisher to extinguish the fire. Trying to extinguish a fire using only a small amount of water can be more dangerous than effective. Use a substantial amount of water or wait for fire fighters.
* Visually check the HV battery and the immediate area for any electrolyte leakage. Do not touch any leaked liquid because it could be highly alkaline electrolyte.
* Work on the vehicle only after the vehicle has been pulled out of the water.
(1) Check the vicinity of the hybrid vehicle battery for any leakage of the electrolyte.

CAUTION:
Do not touch any leaked liquid because it could be highly alkaline electrolyte. Wear rubber gloves and goggles, neutralize the liquid with saturated boric acid solution, and then apply red litmus paper to the liquid. Check that the paper does not turn blue. Wipe up the neutralized liquid with a shop rag or piece of cloth.

(2) If damage to any of the high-voltage components and cables is suspected, cut the high-voltage circuit using the following procedure.

CAUTION:
Be sure to wear insulated gloves, goggles and safety shoes.





Text in Illustration





(3) Turn the power switch off.





Text in Illustration





HINT
If the power switch cannot be turned off, remove the IGCT fuse and AM2 fuse from the engine room junction block assembly. Confirm that the READY light is off.

(4) Disconnect the cable from the negative terminal of the auxiliary battery.

(5) Wear insulated gloves, and then remove the service plug.

NOTICE:
After removing the service plug grip, do not turn the power switch on (READY), unless instructed by the repair manual because this may cause a malfunction.

(c) Moving the damaged vehicle

If any of the following conditions is met, tow the vehicle away using a tow truck.

* One or more of the high-voltage components and cables are damaged.

* Components related to driving, the transaxle, or the fuel system are damaged.

* The master warning light is on.

* The READY light does not come on when attempting to turn the power switch on (READY).

CAUTION:
Before towing the vehicle away using a tow truck, disconnect the cable from the negative (-) terminal of the auxiliary battery and remove the service plug.

NOTICE:
Perform the procedure below if the READY light turns off, or there are abnormal noises, unusual smells, or strong vibrations while driving:

(1) Park the vehicle in a safe place.

(2) Apply the parking brake, and then push the P position switch.

(3) Turn the power switch off, and disconnect the cable from the negative (-) terminal of the auxiliary battery.

(4) Remove the service plug while wearing insulated gloves.

(d) Actions required after moving the damaged vehicle

(1) Procedure

If you see any liquid on the road surface, it could be highly alkaline electrolyte leakage.

Wear rubber gloves and goggles, neutralize the liquid with saturated boric acid solution, and then apply red litmus paper to the liquid. Check that the paper does not turn blue. Wipe up the neutralized liquid with a shop rag or piece of cloth.

(e) Items to be prepared (when repairing a damaged vehicle)

* Protective clothing (insulated gloves, rubber gloves, goggles and safety shoes)

* Saturated boric acid solution 20 liter (21.1 US qts, 17.6 Imp.qts) (obtain 800 g (1.76 lb) of boric acid powder, put it into a container, and dissolve it in water)

* Red litmus paper

* A shop rag or piece of cloth (for wiping off the electrolyte)

* Insulating tape (for insulating cables)

* Electrical tester

(f) Precautions to be observed when servicing a damaged vehicle

CAUTION:
Always follow instructions to ensure safety.

(1) Wear insulated or rubber gloves, goggles, and safety shoes.

(2) Check the HV battery and immediate area for any electrolyte leakage.

CAUTION:
* Do not touch any leaked liquid because it could be highly alkaline electrolyte. Wear rubber gloves and goggles, neutralize the liquid with saturated boric acid solution, and then apply red litmus paper to the liquid. Check that the paper does not turn blue. Wipe the neutralized liquid with a shop rag or piece of cloth.
* If the electrolyte comes in contact with your skin, use a saturated boric acid solution or a large amount of water to wash it off. If the electrolyte comes in contact with an article of clothing, take it off immediately.
* If the electrolyte comes in contact with your eyes, call out loudly for help. Do not rub your eyes. Wash them immediately with a large amount of water and seek medical care.
(3) Do not touch any bare cables that could be high voltage cables. If a cable must be touched or if accidental contact is possible, follow the following instructions: 1) wear insulated gloves and goggles, 2) measure the voltage between the cable and body ground using an electrical tester, and 3) insulate the cable using insulating tape.

(4) If damage to any of the high-voltage components and cables is suspected, cut the high-voltage circuit using the procedure below.

CAUTION:
Do not touch any bare cables that may have high-voltage. If a cable must be touched or if accidental contact is possible, wear insulated gloves and insulate the cable using insulating tape.

(5) Turn the power switch off.





Text in Illustration





HINT
If the power switch cannot be turned off, remove the IGCT fuse and AM2 fuse from the engine room junction block assembly. Confirm that the READY light is off.

(6) Disconnect the cable from the negative (-) terminal of the auxiliary battery.

(7) Wear insulated gloves, and then remove the service plug.

NOTICE:
After removing the service plug grip, do not turn the power switch on (READY), unless instructed by the repair manual because this may cause a malfunction.

(g) Precautions to be taken when disposing of the vehicle

(1) Disposing of HV battery

When scrapping the vehicle, remove the HV battery from the vehicle and return it to the location specified by the manufacturer. Any damaged HV battery should also be returned to the specified location.

CAUTION:
* After removing the HV battery, keep it away from water. Water may heat the battery, resulting in a fire.
* Accidents such as electric shocks could result if the vehicle and its HV battery are disposed of improperly or abandoned. Therefore, make sure to return any HV battery using the prescribed recovery route through an authorized dealer.
(h) Precautions to be observed when towing

(1) Tow the damaged vehicle with its front and rear wheels lifted off the ground.

CAUTION:
Towing the damaged vehicle with its front wheels on the ground will cause the motor to generate electricity. This electricity could, depending on the nature of the damage, leak and cause a fire.

(i) Towing with the 4 wheels on the ground

CAUTION:
* If the vehicle needs to be towed using a rope with all 4 wheels on the ground, do not exceed 30 km/h (19 mph) and tow only for a short distance and then have the vehicle towed by a truck.
* Turn the power switch on (IG) and move the shift lever to N.
* If any abnormality is present in the damaged vehicle during towing, stop towing immediately.
HINT
* Neutral (N) cannot be selected if the auxiliary battery is disconnected.
* There is a possibility that neutral (N) cannot be selected when parts related to the transmission control ECU have a malfunction.