Curiosii for ever!: Car repair manuals for everyone.

Open in CAN Main Bus Line





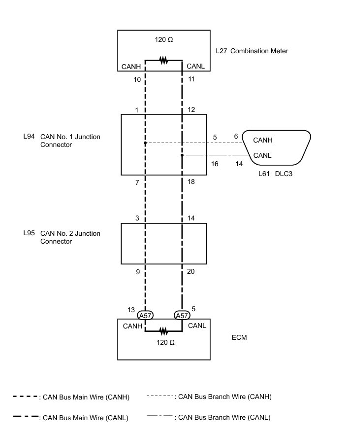
NETWORKING: CAN COMMUNICATION SYSTEM: Open in CAN Main Bus Line
- Open in CAN Main Bus Line

DESCRIPTION

There may be an open circuit in the CAN bus main wire and/or the DLC3 branch wire when the resistance between terminals 6 (CANH) and 14 (CANL) of the DLC3 is 70 Ohms or higher.





WIRING DIAGRAM





INSPECTION PROCEDURE

NOTICE:
* Turn the power switch off before measuring the resistances between CAN bus main wires and between CAN bus branch wires.
* Turn the power switch off before inspecting CAN bus wires for a ground short.
* After the power switch is turned off, check that the key reminder warning system and light reminder warning system are not operating.
* Before measuring the resistance, leave the vehicle as is for at least 1 minute and do not operate the power switch, any other switches or the doors. If any doors need to be opened in order to check connectors, open the doors and leave them open.

HINT
* Operating the power switch, any other switches or a door triggers related ECU and sensor communication on the CAN. This communication will cause the resistance value to change.
* Even after DTCs are cleared, if a DTC is stored again after driving the vehicle for a while, the malfunction may be occurring due to vibration of the vehicle. In such a case, wiggling the ECUs or wire harness while performing the inspection below may help determine the cause of the malfunction.

PROCEDURE

1. CHECK FOR OPEN IN CAN BUS WIRE (DLC3 BRANCH WIRE)

(a) Turn the power switch off.

(b) Measure the resistance according to the value(s) in the table below.





Standard Resistance:





Text in Illustration





NOTICE:
When the measured value is 133 Ohms or higher and a CAN communication system DTC is output, there may be a fault besides disconnection of the DLC3 branch wire. For that reason, troubleshooting should be performed again from How to Proceed with Troubleshooting after repairing the trouble area How to Proceed With Troubleshooting.

NG -- REPAIR OR REPLACE CAN BRANCH WIRE CONNECTED TO DLC3
OK -- Continue to next step.

2. CHECK FOR OPEN IN CAN BUS WIRE (ECM)

(a) Disconnect the ECM connector.





Text in Illustration





(b) Measure the resistance according to the value(s) in the table below.

Standard Resistance:





NG -- CHECK FOR OPEN IN CAN BUS WIRE (COMBINATION METER)

OK -- REPLACE ECM Removal

3. CHECK FOR OPEN IN CAN BUS WIRE (COMBINATION METER)

(a) Reconnect the ECM connector.

(b) Disconnect the combination meter connector.





Text in Illustration





(c) Measure the resistance according to the value(s) in the table below.

Standard Resistance:





NG -- CHECK FOR OPEN IN CAN BUS WIRE (CAN NO. 1 J/C)

OK -- REPLACE METER CIRCUIT PLATE NO. 3 (COMBINATION METER ECU) Disassembly

4. CHECK FOR OPEN IN CAN BUS WIRE (CAN NO. 1 J/C)

(a) Reconnect the combination meter connector.

(b) Disconnect the CAN No. 1 junction connector.





Text in Illustration





(c) Measure the resistance according to the value(s) in the table below.

Standard Resistance:





NG -- REPAIR OR REPLACE CAN BUS MAIN WIRE OR CONNECTOR (CAN NO. 1 J/C - COMBINATION METER)
OK -- Continue to next step.

5. CHECK FOR OPEN IN CAN BUS WIRE (CAN NO. 1 J/C - CAN NO. 2 J/C)

(a) Measure the resistance according to the value(s) in the table below.





Standard Resistance:





Text in Illustration





NG -- CHECK FOR OPEN IN CAN BUS WIRE (CAN NO. 2 J/C)

OK -- REPLACE CAN NO. 1 JUNCTION CONNECTOR

6. CHECK FOR OPEN IN CAN BUS WIRE (CAN NO. 2 J/C)

(a) Reconnect the CAN No. 1 junction connector.

(b) Disconnect the CAN No. 2 junction connector.





(c) Measure the resistance according to the value(s) in the table below.

Standard Resistance:





Text in Illustration





Result:





B -- REPAIR OR REPLACE CAN BUS MAIN WIRE OR CONNECTOR (CAN NO. 2 J/C - ECM)

C -- REPAIR OR REPLACE CAN BUS MAIN WIRE OR CONNECTOR (CAN NO. 1 J/C - CAN NO. 2 J/C)

A -- REPLACE CAN NO. 2 JUNCTION CONNECTOR