Curiosii for ever!: Car repair manuals for everyone.

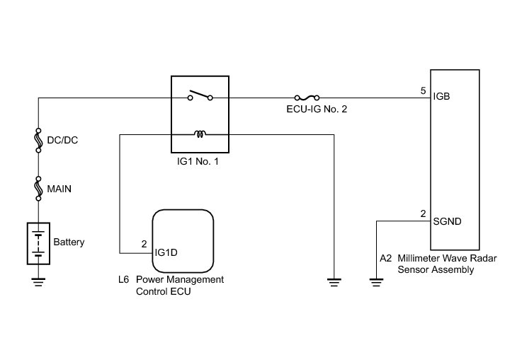
Millimeter Wave Radar Sensor Power Source Circuit





CRUISE CONTROL: DYNAMIC RADAR CRUISE CONTROL SYSTEM: Millimeter Wave Radar Sensor Power Source Circuit
- Millimeter Wave Radar Sensor Power Source Circuit

DESCRIPTION

When the power switch is turned on (IG), battery voltage is applied to terminal IGB of the millimeter wave radar sensor assembly.

This circuit provides power to the millimeter wave radar sensor. The millimeter wave radar sensor emits radio waves towards an object in front and measures the distance and direction of the object by receiving the beam reflections. Based on the reflections, the sensor calculates the difference in speed between the vehicle and the object in front. This data is transmitted to the distance control ECU.

WIRING DIAGRAM





INSPECTION PROCEDURE

PROCEDURE

1. CHECK MILLIMETER WAVE RADAR SENSOR ASSEMBLY (IGB VOLTAGE)





(a) Disconnect the millimeter wave radar sensor assembly connector.

(b) Turn the power switch on (IG).

(c) Measure the voltage according to the value(s) in the table below.

Standard Voltage:





Text in Illustration





(d) Reconnect the millimeter wave radar sensor assembly connector.

NG -- CHECK HARNESS AND CONNECTOR (MILLIMETER WAVE RADAR SENSOR ASSEMBLY - BODY GROUND)

OK -- PROCEED TO NEXT SUSPECTED AREA SHOWN IN PROBLEM SYMPTOMS TABLE Dynamic Radar Cruise Control System

2. CHECK HARNESS AND CONNECTOR (MILLIMETER WAVE RADAR SENSOR ASSEMBLY - BODY GROUND)

(a) Disconnect the millimeter wave radar sensor assembly connector.





(b) Measure the resistance according to the value(s) in the table below.

Standard Resistance (Check for Open):





Text in Illustration





(c) Reconnect the millimeter wave radar sensor assembly connector.

NG -- REPAIR OR REPLACE HARNESS OR CONNECTOR (MILLIMETER WAVE RADAR SENSOR ASSEMBLY - BODY GROUND)

OK -- REPAIR OR REPLACE HARNESS OR CONNECTOR (MILLIMETER WAVE RADAR SENSOR ASSEMBLY - IG1 NO. 1 RELAY)