Curiosii for ever!: Car repair manuals for everyone.

Part 1





E351 MANUAL TRANSMISSION / TRANSAXLE: MANUAL TRANSAXLE UNIT: REASSEMBLY

1. INSTALL SYNCHRONIZER PULL RING

(a) Install the No. 5 synchronizer ring middle, No. 5 synchronizer ring outer, and synchronizer pull ring to the No. 5 synchronizer ring inner. Using a screwdriver, secure them with the snap ring.





2. INSTALL NO. 3 SYNCHROMESH SHIFTING KEY SPRING

(a) Install the No. 3 synchromesh shifting key spring to the No. 3 transmission clutch hub.





NOTICE:
Align the projection of the shifting key spring with the hole of the No. 3 clutch hub.

(b) Install the synchronizer ring set and No. 3 synchromesh shifting key spring to the No. 3 transmission clutch hub.

NOTICE:
* Engage the shifting key spring claw to the center of the teeth of the synchronizer ring.
* Align the projection of the shifting key spring with the hole of the No. 3 clutch hub.

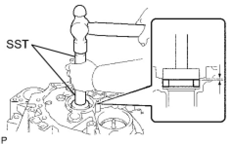
3. INSTALL TRANSAXLE CASE OIL SEAL

(a) Coat a new transaxle case oil seal lip with MP grease.





(b) Using SST and a hammer, install a transaxle case oil seal.

SST : 09608-10010

SST : 09950-70010

09951-07200

Oil seal installation depth:

-0.5 to 0.5 mm (-0.0197 to 0.0197 in.)

4. INSTALL FRONT DIFFERENTIAL CASE FRONT TAPERED ROLLER BEARING

(a) Using SST and a hammer, install the front differential case front tapered roller bearing (outer race) to the manual transaxle case.





SST : 09950-60020

09951-00910

SST : 09950-70010

09951-07100

09951-07150

(b) Using SST and a press, install the front differential case front tapered roller bearing (inner race) to the front differential case.





SST : 09608-10010

SST : 09950-70010

09951-07100

09951-07150

5. INSTALL FRONT DIFFERENTIAL CASE REAR TAPERED ROLLER BEARING

(a) Install the front differential case rear shim.





(b) Using SST and a hammer, install the front differential case rear tapered roller bearing (outer race).

SST : 09950-60020

09951-00890

SST : 09950-70010

09951-07100

(c) Using SST and a press, install the front differential case rear tapered roller bearing (inner race).





SST : 09631-12090

SST : 09950-60010

09951-00600

SST : 09950-70010

09951-07100

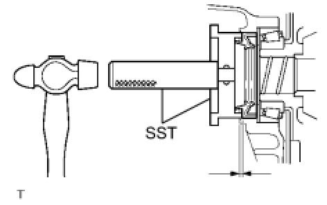
6. INSTALL TRANSMISSION CASE OIL SEAL

(a) Using SST and a hammer, install a transmission case oil seal to the manual transmission case.





SST : 09608-32010

SST : 09950-70010

09951-07150

Oil seal installation depth:

3.0 to 4.0 mm (0.1181 to 0.1575 in.)

(b) Coat the transmission case oil seal lip with MP grease.

7. INSTALL OUTPUT SHAFT REAR BEARING

(a) Using SST and a hammer, install the output shaft rear bearing (outer race) to the manual transmission case.





SST : 09950-60020

09951-00680

SST : 09950-70010

09951-07100

Clearance:

3.8 to 4.4 mm (0.150 to 0.173 in.)

8. INSTALL OUTPUT SHAFT COVER

(a) Coat the output shaft cover with MP grease, and install it to the manual transaxle case.





NOTICE:
Align the projection of the output shaft cover with the transmission groove.

9. INSTALL OUTPUT SHAFT FRONT BEARING

(a) Using SST and a hammer, install a new output shaft front bearing (outer race).





SST : 09950-60020

09951-00730

SST : 09950-70010

09951-07100

10. ADJUST OUTPUT SHAFT BEARING PRELOAD

(a) Install the output shaft to the manual transaxle case.





(b) Install the transmission case to the manual transaxle case with the 14 bolts.





Torque : 29 Nm (296 kgf-cm, 21 ft-lbf)

(c) Install the 3 bolts to the manual transaxle case.





Torque : 29 Nm (296 kgf-cm, 21 ft-lbf)

(d) Install the output shaft rear bearing case shim to the output shaft.





(e) Using a "TORX" socket wrench (T45), install the rear bearing retainer to the manual transmission case with the 7 screws.





Torque : 43 Nm (438 kgf-cm, 32 ft-lbf)

(f) Turn the output shaft in both directions to make sure that it starts to turn smoothly.





(g) Using a socket wrench and torque wrench, inspect the preload.

Preload:





(h) If preload is not as specified, select a proper output shaft rear bearing shim and adjust it.

HINT
The preload of all the output shaft rear bearing shims varies in torque from about 0.04 to 0.06 N*m (0.408 to 0.612 kgf*cm, 0.35 to 0.53 in.*lbf).

Shim:





(i) Remove the output shaft rear set nut from the output shaft.

(j) Using a "TORX" socket wrench (T45), remove the 7 screws and rear bearing retainer from the manual transmission case.





(k) Remove the output shaft rear bearing shim from the output shaft.





(l) Remove the 3 bolts.





(m) Remove the 14 bolts and manual transmission case from the manual transaxle case.





(n) Remove the output shaft assembly from the front manual transaxle case.





11. ADJUST TAPERED ROLLER BEARING PRELOAD

(a) Install the differential case assembly to the manual transaxle case.





(b) Install the 14 bolts and manual transmission case to the manual transaxle case.





Torque : 29 Nm (296 kgf-cm, 21 ft-lbf)

(c) Install the 3 bolts to the manual transaxle case.





Torque : 29 Nm (296 kgf-cm, 21 ft-lbf)

(d) Using SST, turn the differential case in both directions to make sure that it starts to turn smoothly.

SST : 09564-32011

(e) Using SST and a torque wrench, inspect preload.





SST : 09564-32011

Preload:





If preload is not as specified, select a proper front differential case rear shim and adjust it.

HINT
The preload of all the front differential case rear shims varies in torque from about 0.04 to 0.06 N*m (0.408 to 0.612 kgf*cm, 0.35 to 0.53 in.*lbf).

Shim:





(f) Remove the 3 bolts.





(g) Remove the 14 bolts and manual transmission case from the manual transaxle case.





(h) Remove the differential case assembly from the manual transaxle case.





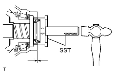
12. INSTALL FRONT TRANSAXLE CASE COVER OIL SEAL

(a) Coat the lip of a new front transaxle case cover oil seal with MP grease.

(b) Using SST and a hammer, install a new front transaxle case cover oil seal to the manual transaxle case.





SST : 09950-60010

09951-00420

SST : 09950-70010

09951-07150

Clearance:

1.0 to 2.0 mm (0.0394 to 0.0787 in.)

13. INSTALL INPUT SHAFT FRONT BEARING

(a) Coat a new input shaft front bearing with gear oil.

(b) Using SST and a hammer, install the oil seal to the manual transaxle case.





SST : 09950-60010

09951-00570

SST : 09950-70010

09951-07150

Clearance:

4.28 to 4.60 mm (0.169 to 0.181 in.)

14. INSTALL MANUAL TRANSAXLE CASE RECEIVER

(a) Install the manual transaxle case receiver to the manual transaxle case with the 3 bolts.





Torque : 7.0 Nm (71 kgf-cm, 62 in-lbf)

15. INSTALL DIFFERENTIAL CASE ASSEMBLY

(a) Coat the differential case tapered roller bearing with gear oil, and install the differential case assembly to the manual transaxle case.





16. INSTALL OUTPUT SHAFT ASSEMBLY

(a) Apply gear oil to each sliding part of the output shaft assembly.





(b) Lift the differential case assembly with the output shaft assembly leaned, and install it to the manual transaxle case.

17. INSTALL INPUT SHAFT ASSEMBLY

(a) Apply gear oil to each sliding part of the input shaft assembly.





(b) Install the input shaft assembly to the manual transaxle case while tilting the output shaft assembly.

18. INSTALL NO. 2 GEAR SHIFT FORK

(a) Coat the No. 2 gear shift fork with gear oil, and install it to the input shaft assembly.





19. INSTALL NO. 3 GEAR SHIFT FORK

(a) Install the No. 3 gear shift fork to the No. 3 gear shift fork shaft.





(b) Using a brass bar and a hammer, install the 2 shift fork shaft snap rings to the gear shift fork shaft.

(c) Apply gear oil to each sliding part of the No. 3 gear shift fork shaft, and install it to the manual transaxle case.





20. INSTALL NO. 1 GEAR SHIFT FORK

(a) Apply gear oil to each sliding part of the No. 1 gear shift fork, and install it to the output shaft assembly.





21. INSTALL NO. 2 GEAR SHIFT FORK SHAFT

(a) Install the No. 1 gear shift head to the No. 2 gear shift fork shaft.





(b) Apply gear oil to each sliding part of the No. 2 gear shift fork shaft, and install it to the manual transaxle case.

(c) Install the shift fork set bolt and shift head set bolt to the No. 1 gear shift head.





Torque : 24 Nm (245 kgf-cm, 18 ft-lbf)

22. INSTALL REVERSE SHIFT FORK ROLLER

(a) Using a magnetic pick-up tool, install the reverse shift fork roller to the reverse shift fork.





23. INSTALL NO. 1 GEAR SHIFT FORK SHAFT

(a) Using a brass bar and a hammer, install the shift fork shaft snap ring to the No. 1 gear shift fork shaft.





(b) Install the No. 1 gear shift fork shaft to the manual transaxle case.





(c) Install the shift fork set bolt to the No. 1 gear shift fork.





Torque : 24 Nm (245 kgf-cm, 18 ft-lbf)

24. INSTALL REVERSE SHIFT ARM BRACKET ASSEMBLY

(a) Install the reverse shift arm bracket assembly to the manual transaxle case with the 2 bolts.





Torque : 17 Nm (173 kgf-cm, 13 ft-lbf)

25. INSTALL REVERSE IDLER GEAR SUB-ASSEMBLY

(a) Coat the reverse idler gear and reverse idler thrust washer with MP grease, and install them to the reverse idler gear shaft.





(b) Install the reverse idler gear to the manual transaxle case.





HINT
Align the mark of the reverse idler gear shaft with the hole of the bolt.

26. INSTALL TRANSMISSION MAGNET

(a) Clean the transmission magnet and install it to the manual transaxle case.