Curiosii for ever!: Car repair manuals for everyone.

Part 2





U250E AUTOMATIC TRANSMISSION / TRANSAXLE: AUTOMATIC TRANSAXLE UNIT: REASSEMBLY - (Continued)

34. INSTALL OVERDRIVE DIRECT CLUTCH DISC

(a) Coat the 3 discs with ATF.





(b) Install the 3 plates, 3 discs and flange to the intermediate shaft.

NOTICE:
Be sure to install the plates, discs and flange in the correct order.

(c) Using a screwdriver, install the snap ring.





NOTICE:
The snap ring should be securely engaged in the groove of the drum.

35. INSTALL DIRECT MULTIPLE DISC CLUTCH DISC

(a) Coat the 3 discs with ATF.





(b) Install the cushion plate, 3 plates, 3 discs and flange to the intermediate shaft.

NOTICE:
* Install the cushion plate with the mark on the white surface facing the plate.
* Be sure to install the cushion plate, plates, discs and flange in the correct order.

(c) Using a screwdriver, install the snap ring.





NOTICE:
The snap ring should be securely engaged in the groove of the drum.

36. INSPECT PACK CLEARANCE OF DIRECT CLUTCH Transaxle Unit

37. INSPECT PACK CLEARANCE OF OVERDRIVE CLUTCH Transaxle Unit

38. INSTALL DIRECT CLUTCH ASSEMBLY

(a) Coat the thrust bearing with ATF.





(b) Install the direct clutch assembly and thrust bearing to the rear planetary sun gear assembly.

NOTICE:
The discs in the direct clutch should be completely matched with the hub attached outside the rear planetary sun gear. Otherwise, the rear cover cannot be installed.

(c) Clean the contact surfaces of the transaxle case and the rear cover.





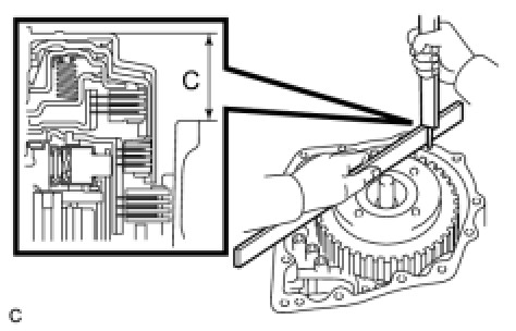
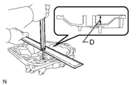
(d) As shown in the illustration, place a straightedge on the direct clutch drum and measure the distance between the transaxle case and the straightedge using a vernier caliper (Dimension C).

(e) Using a vernier caliper and a straightedge, measure the dimension shown in the illustration.





(f) Calculate the end play value using the following formula. Select a thrust bearing which satisfies the specified end play value and install it.

End play:

0.199 to 0.970 mm (0.00783 to 0.0382 in.)

NOTICE:
Make sure that the uncolored race side is facing the direct clutch assembly.

HINT
End play = Dimension D - Dimension C

Bearing Thickness and Diameter





39. INSTALL NO. 1 GOVERNOR APPLY GASKET

(a) Install 3 new No. 1 governor apply gaskets to the transaxle case.





40. INSTALL BRAKE APPLY TUBE

(a) Install the clamp to the brake apply tube.





NOTICE:
Make sure to install the clamp to the apply tube before installing the apply tube to the transaxle case. This prevents the apply tube from being deformed or damaged.

(b) Install the clutch apply tube.

(c) Install the brake apply tube to the transaxle case with the bolt.





Torque : 5.4 Nm (55 kgf-cm, 48 in-lbf)

NOTICE:
Each pipe should be securely inserted until it reaches the stopper.

41. INSTALL NEEDLE ROLLER BEARING

(a) Using SST and a press, install the needle roller bearing to the transaxle rear cover.





SST : 09950-60010

09951-00230

09951-00360

09952-06010

Press fit depth:

20.55 to 21.25 mm (0.8091 to 0.8366 in.)

NOTICE:
* Face the inscribed side of the bearing race up.
* Keep pressing until the specified value is obtained.

(b) Coat the needle roller bearing with ATF.

42. INSTALL REAR CLUTCH OIL SEAL RING

(a) Coat 3 new rear clutch oil seal rings with ATF, and install them to the transaxle rear cover.





NOTICE:
The rear clutch oil seal rings should be securely engaged in the grooves of the drum.

43. INSTALL NO. 1 TRANSAXLE CASE PLUG

(a) Install a new O-ring to each No. 1 transaxle case plug.





(b) Install the 4 No. 1 transaxle case plugs to the transaxle rear cover.

Torque : 7.4 Nm (75 kgf-cm, 65 in-lbf)

44. INSTALL TRANSAXLE REAR COVER SUB-ASSEMBLY

(a) Remove any packing material and keep the contact surfaces of the transaxle rear cover and the transaxle case away from oil.





(b) Apply FIPG to the cover.

FIPG:

Toyota Genuine Seal Packing 1281, Three Bond 1281 or Equivalent

NOTICE:
Apply FIPG in a continuous bead (width 1.2 mm (0.0472 in.)) along the sealing surface.

(c) Apply adhesive to the threads of bolt A.





Sealant:

Toyota Genuine Adhesive 1344, Three Bond 1344 or Equivalent

(d) Install the 11 bolts.

Bolt A - Torque : 19 Nm (190 kgf-cm, 14 ft-lbf)

Other bolts - Torque : 25 Nm (250 kgf-cm, 18 ft-lbf)

45. INSTALL NO. 2 UNDERDRIVE CLUTCH DISC

(a) Coat the 3 discs with ATF.





(b) Install the 3 discs, 3 plates and flange to the transaxle case.

NOTICE:
Be sure to install the discs, plates and flange in the correct order.

(c) Using a screwdriver, install the snap ring.





NOTICE:
The snap ring should be securely engaged in the groove of the drum.

46. INSPECT PACK CLEARANCE OF UNDERDRIVE BRAKE Transaxle Unit

47. INSPECT UNDERDRIVE ONE-WAY CLUTCH ASSEMBLY Transaxle Unit

48. INSTALL UNDERDRIVE ONE-WAY CLUTCH ASSEMBLY

(a) Install the outer race retainer to the one-way clutch.





NOTICE:
Securely install the outer race retainer onto the tooth of the one-way clutch.

(b) Install the one-way clutch to the transaxle case.





NOTICE:
Ensure that the outer race retainer and the mark on the transaxle case are aligned.

(c) Using a screwdriver, install the snap ring to the transaxle case.





NOTICE:
The snap ring should be securely engaged in the groove of the transaxle case.

49. INSTALL UNDERDRIVE CLUTCH DRUM O-RING

(a) Coat a new O-ring with ATF, and install it to the underdrive clutch drum.





NOTICE:
Install the O-ring carefully so that it is not twisted or pinched.

50. INSTALL UNDERDRIVE CLUTCH PISTON SET

(a) Coat the underdrive clutch piston with ATF, and install it to the underdrive clutch piston drum.





NOTICE:
* Be careful not to damage the O-ring.
* Be careful not to damage the lip seal of the piston.

51. INSTALL UNDERDRIVE CLUTCH RETURN SPRING SUB-ASSEMBLY

(a) Install the return spring to the underdrive clutch drum.





NOTICE:
After installing the spring sub-assembly, check all of the springs are fitted in the piston correctly.

(b) Coat the clutch balancer with ATF.

(c) Install the clutch balancer to the underdrive clutch drum.





NOTICE:
Be careful not to damage the lip seal of the clutch balancer.

(d) Place SST on the clutch balancer and compress the piston return spring with a press.





SST : 09350-32014

09351-32070

(e) Using a snap ring expander, install the snap ring to the underdrive clutch drum.

NOTICE:
* Stop the press when the spring seat is lowered 1 to 2 mm (0.0393 to 0.0787 in.) from the snap ring groove. This prevents the spring seat from being deformed.
* Do not expand the snap ring excessively.

(f) Position the end gap of the snap ring in the underdrive clutch drum as shown in the illustration.





NOTICE:
The end gap of the snap ring should not be aligned with any of the stoppers.

52. INSTALL NO. 1 UNDERDRIVE CLUTCH DISC

(a) Coat the 3 discs with ATF.

(b) Install the 3 plates, 3 discs, and flange to the underdrive clutch drum.





NOTICE:
Ensure that the discs, plates, and flange are in the correct order.

53. INSTALL NO. 2 UNDERDRIVE CLUTCH FLANGE HOLE SNAP RING

(a) Using a screwdriver, install the No. 2 underdrive clutch flange hole snap ring.





(b) Check that the end gap of the snap ring is not aligned with one of the cutouts.

NOTICE:
The snap ring should be securely engaged in the groove of the drum.

54. INSTALL UNDERDRIVE CLUTCH ASSEMBLY

(a) Coat the bearing and bearing race with ATF, and install them onto the underdrive clutch.





Bearing and Race Diameter





(b) Install the underdrive clutch assembly to the transaxle case.

NOTICE:
When installing the underdrive clutch drum sub-assembly, do not damage the oil seal ring.

55. INSTALL PARKING LOCK PAWL

(a) Install the pawl pin and spring to the parking lock pawl.





(b) Temporarily install the parking lock pawl, pin and spring to the transaxle case as shown in the illustration.





56. INSTALL UNDERDRIVE PLANETARY RING GEAR

(a) Install a new snap ring to the outer race of the tapered roller bearing.





HINT
If replacing the bearing, also replace the counter driven gear with a new one.

(b) Using a piston ring compressor, squeeze the snap ring.





(c) Using SST and a press, press in the outer race of the angular ball bearing.





SST : 09950-60020

09951-00890

SST : 09950-70010

09951-07100

NOTICE:
Do not damage the snap ring during installation of the outer race.

(d) Install the underdrive planetary ring gear to the counter driven gear.





(e) Using snap ring pliers, install the snap ring.





57. INSTALL UNDERDRIVE PLANETARY GEAR ASSEMBLY

(a) Using a press, press the angular ball bearing inner race (rear side) into the underdrive planetary gear.





SST : 09726-40010

SST : 09950-60010

09951-00260

SST : 09950-70010

09951-07100

(b) Install the counter driven gear with planetary ring gear to the underdrive planetary gear.





(c) Using SST and a press, press in the angular ball bearing inner race (front side).





SST : 09726-40010

SST : 09950-60010

09951-00260

SST : 09950-70010

09951-07100

NOTICE:
Rotate the counter driven gear while pressing.

(d) Using a press, press in the parking lock gear.





SST : 09316-20011

SST : 09950-60010

09951-00260

SST : 09950-70010

09951-07100

NOTICE:
Rotate the counter driven gear while pressing.

58. INSTALL DIFFERENTIAL DRIVE PINION

(a) Using a press, press in the differential drive pinion.





SST : 09726-40010

SST : 09950-60010

09951-00260

SST : 09950-70010

09951-07100

NOTICE:
Rotate the counter driven gear while pressing.

59. INSTALL CYLINDRICAL ROLLER BEARING RACE INNER

(a) Using a press, press in the cylindrical roller bearing race inner.





SST : 09515-21010

SST : 09950-60010

09951-00260

SST : 09950-70010

09951-07100

NOTICE:
Rotate the counter driven gear while pressing.

60. INSTALL FRONT PLANETARY GEAR NUT

(a) Clamp the underdrive planetary gear in a soft jaw vise.





NOTICE:
Be careful not to damage the differential drive pinion.

(b) Using a socket wrench, install a new gear nut.

Torque : 280 Nm (2855 kgf-cm, 207 ft-lbf)

HINT
Use a torque wrench with a fulcrum length of 750 mm (29.53 in.).

(c) Using a chisel and hammer, stake the gear nut.





CAUTION:
Be sure that there are no cracks on the nut.

61. INSTALL UNDERDRIVE PLANETARY GEAR ASSEMBLY

(a) Install the underdrive planetary gear assembly to the transaxle case.





NOTICE:
Firmly engage all the discs of the underdrive clutch with the hub splines of the underdrive planetary gear assembly.

(b) Install the parking lock pawl shaft.





(c) Install the pawl shaft clamp with the bolt.





Torque : 9.8 Nm (100 kgf-cm, 87 in-lbf)

(d) Using a straightedge and a vernier caliper as shown in the illustration, measure the gap between the top of the differential drive pinion in the underdrive planetary gear and contact surface of the transaxle case and housing (Dimension E).





NOTICE:
Take a note of dimension E because it is necessary for the following process.

(e) As shown in the illustration, measure the 2 places of the transaxle housing, and calculate dimension F using the following formula:





NOTICE:
Take a note of dimension F because it is necessary for the following process.

HINT
Dimension F = Dimension (1) - Dimension (2)

62. INSTALL MULTIPLE DISC CLUTCH HUB

(a) Install the No. 1 thrust bearing race to the transaxle case in the correct direction.





Bearing Race Diameter





(b) Coat the thrust needle roller bearing and race with ATF, and install them onto the multiple disc clutch hub.





Thrust Bearing Diameter





(c) Coat the needle roller bearing with ATF.

(d) Install the needle roller bearing to the multiple disc clutch hub.





Bearing Diameter





(e) Install the multiple disc clutch hub to the transaxle case.

63. INSTALL INPUT SHAFT OIL SEAL RING

(a) Compress a new input shaft oil seal ring from both sides to adjust dimension A.





Dimension A:

5 mm (0.197 in.)

(b) Coat the oil seal ring with ATF and install it to the input shaft.

NOTICE:
Do not expand the gap of the oil seal ring excessively. Securely engage the hooks.

64. INSTALL FORWARD CLUTCH PISTON SUB-ASSEMBLY

(a) Coat the forward clutch piston with ATF, and install it to the input shaft.





NOTICE:
Be careful not to damage the lip seal of the forward clutch piston.

65. INSTALL FORWARD CLUTCH RETURN SPRING SUB-ASSEMBLY

(a) Install the return spring to the input shaft.





NOTICE:
After installing the spring sub-assembly, check that all of the springs are fitted to the piston correctly.

(b) Coat the clutch balancer with ATF.

(c) Install the clutch balancer to the input shaft.





NOTICE:
* Be careful not to damage the lip seal of the forward clutch balancer.
* Install the clutch balancer carefully not to pinch or damage at the sealing lip.
* Apply sufficient ATF to the sealing lip prior to installation.

(d) Place SST on the clutch balancer, and compress the clutch balancer with a press.





SST : 09387-00020

(e) Install the snap ring with a snap ring expander.

NOTICE:
* Stop the press when the spring seat is lowered 1 to 2 mm (0.0393 to 0.0787 in.) from the snap ring groove. This prevents the spring seat from being deformed.
* Do not expand the snap ring excessively.

(f) Position the end gap of the snap ring in the piston as shown in the illustration.





NOTICE:
The end gap of the snap ring should not be aligned with any of the stoppers.

66. INSTALL FORWARD MULTIPLE DISC CLUTCH DISC

(a) Coat the 5 discs with ATF.

(b) Install the 5 plates, 5 discs, and flange to the input shaft.





NOTICE:
Ensure that the discs, plates, and flange are in the correct order.

(c) Using a screwdriver, install the snap ring.





(d) Check that the end gap of the snap ring is not aligned with one of the cutouts.

NOTICE:
The snap ring should be securely engaged in the groove of the drum.

67. INSPECT PACK CLEARANCE OF FORWARD CLUTCH Transaxle Unit

68. INSPECT FORWARD MULTIPLE DISC CLUTCH DISC Transaxle Unit

69. INSTALL FORWARD CLUTCH ASSEMBLY

(a) Coat the thrust needle roller bearing with ATF.





(b) Install the thrust needle roller bearing to the forward clutch assembly.

Thrust Bearing Diameter





NOTICE:
Confirm that the thrust bearing is installed properly with the uncolored race visible.

(c) Install the forward clutch assembly to the multiple clutch hub assembly.





NOTICE:
* Align the splines of all discs in the forward clutch with those of the multiple clutch hub to assemble them securely.
* Be careful not to damage the bushing inside the multiple clutch hub during installation.

70. INSTALL OVERDRIVE BRAKE GASKET

(a) Install 2 new overdrive brake gaskets.