Curiosii for ever!: Car repair manuals for everyone.

Cylinder Head Assembly

CYLINDER HEAD SET BOLT






CYLINDER HEAD SET BOLT

Standard bolt length 84.3 to 85.7 mm (3.3189 to 3.3740 in.)

Maximum bolt length 86.7 mm (3.4134 in.)

CYLINDER HEAD SUB-ASSEMBLY

The cylinder head bolts are tightened in 2 progressive steps.

Using several steps, uniformly install and tighten the 10 cylinder head bolts and 10 plate washers with a 10 mm bi-hexagon wrench in the order shown in the illustration.






Torque 49 Nm (500 kgf-cm, 36 ft-lbf)

Mark the front side of the cylinder head bolts with paint.






Retighten the cylinder head bolts an additional 90°, then once more 45° as shown in the illustration.

Check that the paint mark is now at a 135° angle to the front.


SURFACE VARIATION







CAMSHAFT BEARING CAP

Tighten the 10 bolts in the order shown in the illustration.






Torque 16 Nm (163 kgf-cm, 12 ft-lbf)

CAMSHAFT BEARING CAP


Install the bearing caps with the bolts in the order shown in the illustration






Text in Illustration






Torque 27 Nm (275 kgf-cm, 20 ft-lbf)

Tighten the 10 bolts in the order shown in the illustration.






Torque 16 Nm (163 kgf-cm, 12 ft-lbf)

CAMSHAFT HOUSING SUB-ASSEMBLY

Bead diameter 3.5 to 4.0 mm (0.138 to 0.158 in.)

Set the camshaft and No. 2 camshaft as shown in the illustration.






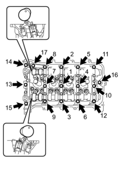
Install the camshaft housing and tighten the 17 bolts in the order shown in the illustration.

Torque 27 Nm (275 kgf-cm, 20 ft-lbf)


INTAKE MANIFOLD TORQUE & SEQUENCE Specifications

EXHAUST MANIFOLD TORQUE & SEQUENCE Specifications

CAMSHAFT GEAR/SPROCKET TORQUE Specifications