Curiosii for ever!: Car repair manuals for everyone.

Reassembly





2ZR-FE ENGINE MECHANICAL: CYLINDER BLOCK: REASSEMBLY

1. INSTALL NO. 1 OIL NOZZLE SUB-ASSEMBLY

(a) Using a 5 mm socket hexagon wrench, install the oil nozzles with the bolts.





Torque : 10 Nm (102 kgf-cm, 7 ft-lbf)

2. INSTALL PISTON

(a) Using a screwdriver, install a new snap ring at one end of the piston pin hole.





HINT
Make sure that the end gap of the snap ring is not aligned with the pin hole cutout portion of the piston.

(b) Gradually heat the piston to approximately 80 to 90°C (176 to 194°F).

(c) Align the front marks of the piston and connecting rod, and push in the piston by hand.





HINT
The piston and pin are a matched set.

(d) Using a screwdriver, install a new snap ring on the other end of the piston pin hole.

HINT
Make sure that the end gap of the snap ring is not aligned with the pin hole cutout portion of the piston.

(e) Check the fitting condition between the piston and piston pin by trying to move the piston back and forth on the piston pin.





3. INSTALL PISTON RING SET

(a) Install the oil ring expander and oil ring rail by hand.





NOTICE:
* Install the expander and oil ring so that their ring ends are at opposite sides.
* Securely install the expander to the inner groove of the oil ring.

(b) Using a piston ring expander, install the 2 compression rings so that the paint marks are positioned as shown in the illustration.





NOTICE:
* Install the compression ring No. 1 with the code mark (T) facing upward.
* Install the compression ring No. 2 with the code mark (2T) facing upward.
* Paint marks can only be checked on new piston rings. When reusing piston rings, check each piston ring profile in order to install them into the correct positions.

(c) Position the piston rings so that the ring ends are as shown in the illustration.





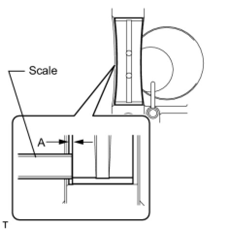
4. INSTALL CRANKSHAFT BEARING

(a) Install the upper bearing (for except No. 3 journal).





(1) Install the upper bearing with an oil groove on the cylinder block.

(2) Using a scale, measure the distance between the cylinder block edge and the upper bearing edge.

NOTICE:
Do not apply engine oil to the bearing inner surface or journal contact surfaces.

Dimension (A):

0.5 to 1.0 mm (0.020 to 0.039 in.)

(b) Install the upper bearing (for No. 3 journal).





(1) Install the upper bearing with an oil groove on the cylinder block.

(2) Using a vernier caliper, measure the distance between the cylinder block edge and the upper bearing edge.

NOTICE:
Do not apply engine oil to the bearing inner surface or journal contact surfaces.

Dimension (A - B):

0.5 mm (0.0197 in.) or less

(c) Install the lower bearing.

(1) Install the lower bearing onto the bearing cap.

(2) Using a vernier caliper, measure the distance between the bearing cap edge and the lower bearing edge.





Dimension (A - B):

0.5 mm (0.0197 in.) or less

NOTICE:
Do not apply engine oil to the bearing inner surface or bearing cap contact surfaces.

5. INSTALL UPPER CRANKSHAFT THRUST WASHER

(a) Install the 2 thrust washers under the No. 3 journal of the cylinder block with the oil grooves facing outward.





(b) Apply engine oil to the crankshaft thrust washer.

6. INSTALL CRANKSHAFT

(a) Apply engine oil to the upper bearing and install the crankshaft on the cylinder block.

(b) Apply engine oil to the lower bearing.

(c) Examine the number marks and install the bearing caps on the cylinder block.





(d) Apply a light coat of engine oil to the threads and under the bearing cap bolts.

(e) Temporarily install the 10 main bearing cap bolts.





(f) Insert the main bearing cap by hand until the clearance between the main bearing cap and the cylinder block is less than 5 mm (0.20 in.) using the 2 internal bearing cap bolts as guides.





(g) Using a plastic hammer, lightly tap the bearing cap to ensure a proper fit.





(h) Install the crankshaft bearing cap bolts.

NOTICE:
Tighten the main bearing cap bolts in 2 progressive steps.

(i) Step 1

(1) Install and uniformly tighten the 10 main bearing cap bolts in the sequence shown in the illustration.





Torque : 40 Nm (408 kgf-cm, 30 ft-lbf)

(j) Step 2

(1) Mark the front of the bearing cap bolts with paint.





(2) Further tighten the bearing cap bolts an additional 90° in the numerical order shown in the previous illustration.

(k) Check that the paint mark is now at a 90° angle to the front.

(l) Check that the crankshaft turns smoothly.

(m) Check the crankshaft thrust clearance Testing and Inspection.

7. INSTALL CONNECTING ROD BEARING

(a) Install the connecting rod bearing to the connecting rod and bearing cap.

(b) Using a vernier caliper, measure the distance between the connecting rod and bearing cap edges and the connecting rod bearing edge.





Dimension (A - B):

0.7 mm (0.0276 in.) or less

NOTICE:
Do not apply engine oil to the bearing inner surface or connecting rod contact surfaces.

8. INSTALL PISTON SUB-ASSEMBLY WITH CONNECTING ROD

(a) Apply engine oil to the cylinder walls, the pistons, and the surfaces of the connecting rod bearings.

(b) Position the piston rings so that the ring ends are as shown in the illustration.





NOTICE:
Do not align the ring ends.

(c) Using a piston ring compressor, push the correctly numbered piston and connecting rod assembly into the cylinder with the front mark of the piston facing forward.





NOTICE:
* When inserting the piston with connecting rod, do not allow it to make contact with the oil nozzle.
* Match the numbered connecting rod cap with the connecting rod.

(d) Check that the protrusion of the connecting rod cap is facing in the correct direction.





(e) Apply a light coat of engine oil to the threads and under the heads of the connecting rod cap bolts.

(f) Install the connecting rod cap bolts.

NOTICE:
Tighten the connecting rod cap bolts in 2 progressive steps.

(g) Step 1

(1) Using SST, install and alternately tighten the bolts of the connecting rod cap in several steps.





SST : 09205-16010

Torque : 20 Nm (204 kgf-cm, 15 ft-lbf)

(h) Step 2

(1) Mark the front of the connecting rod cap bolts with paint.





(2) Further tighten the cap bolts an additional 90° as shown in the illustration.

(i) Check that the crankshaft turns smoothly.

(j) Check the connecting rod thrust clearance Testing and Inspection.

9. INSTALL NO. 1 VENTILATION CASE

(a) Apply seal packing in a continuous bead as shown in the illustration.





Seal packing:

Toyota Genuine Seal Packing Black, Three Bond 1207B or equivalent

Bead diameter:

2.0 mm (0.0787 in.)

NOTICE:
* Remove any oil from the contact surface.
* Install the No. 1 ventilation case within 3 minutes and tighten the bolts and nuts within 15 minutes after applying seal packing.
* Do not start the engine for at least 2 hours after installing.

(b) Install the No. 1 ventilation case with the 6 bolts and 2 nuts.





Torque : 10 Nm (102 kgf-cm, 7 ft-lbf)