Curiosii for ever!
: Car repair manuals for everyone.
Home
>>
Toyota
>>
2012
>>
Matrix FWD L4-1.8L (2ZR-FE)
>>
Repair and Diagnosis
>>
Brakes and Traction Control
>>
Antilock Brakes / Traction Control Systems
>>
Acceleration/Deceleration Sensor
>>
Service and Repair
>>
Components
Components
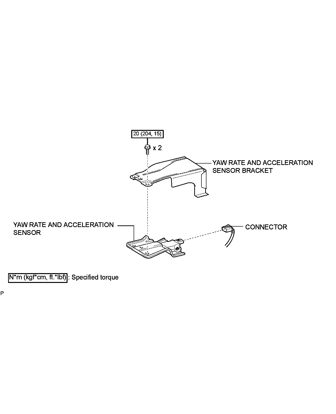
BRAKE CONTROL / DYNAMIC CONTROL SYSTEMS: YAW RATE AND ACCELERATION SENSOR: COMPONENTS