Curiosii for ever!: Car repair manuals for everyone.

Part 1





U341E AUTOMATIC TRANSMISSION / TRANSAXLE: AUTOMATIC TRANSAXLE UNIT: REASSEMBLY

1. BEARING POSITION

(a) Check each bearing position and installation direction.





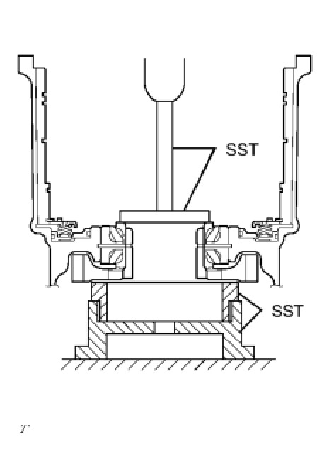
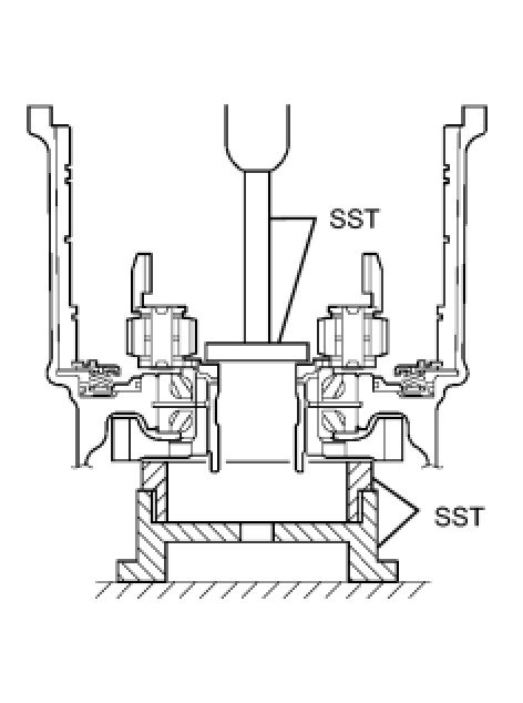
2. INSPECT DIFFERENTIAL CASE TAPERED ROLLER BEARING PRELOAD

(a) Coat the front differential case and bearing with ATF and install them to the transaxle case.

(b) Install the transaxle housing with the 14 bolts.





Bolt A - Torque : 29 Nm (296 kgf-cm, 21 ft-lbf)

Bolt B - Torque : 22 Nm (224 kgf-cm, 16 ft-lbf)

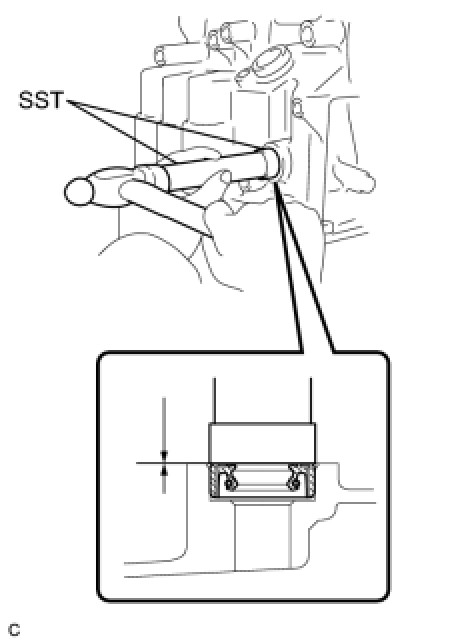
(c) Using SST and a small torque wrench, measure the preload of the differential gear.





SST : 09564-32011

Preload:





If the preload is not within the specifications, remove the differential from the transaxle case.

Select a new transaxle case side adjusting shim in accordance with the following table.

Adjusting Shim Thickness:





3. INSTALL NO. 1 TRANSAXLE CASE OIL SEAL

(a) Coat the lip of a new No. 1 transaxle case oil seal with MP grease.





(b) Using SST and a hammer, drive in the No. 1 transaxle case oil seal.

SST : 09387-00010

SST : 09950-70010

09951-07100

Oil seal driven in depth:

-0.5 to 0.5 mm (-0.0197 to 0.0197 in.)

4. INSTALL NO. 2 TRANSAXLE CASE OIL SEAL

(a) Coat the lip of a new No. 2 transaxle case oil seal with MP grease.





(b) Using SST and a hammer, drive in the No. 2 transaxle case oil seal.

SST : 09726-27012

09726-02041

SST : 09950-70010

09951-07150

Oil seal driven in depth:

2.2 to 3.2 mm (0.0866 to 0.126 in.)

5. INSTALL FRONT DRIVE PINION REAR TAPERED ROLLER BEARING

(a) Install the No. 1 transaxle case plate onto the transaxle case.





(b) Using SST and a hammer, install a new front drive pinion rear tapered roller bearing to the transaxle case.





SST : 09950-60010

09951-00610

SST : 09950-70010

09951-07150

6. INSTALL FRONT DRIVE PINION FRONT TAPERED ROLLER BEARING

(a) Install the thrust bearing to the transaxle housing.

(b) Using SST and a press, install a new front drive pinion front tapered roller bearing to the transaxle housing.





SST : 09950-60010

09951-00650

SST : 09950-70010

09951-07150

7. INSTALL DIFFERENTIAL GEAR LUBE APPLY TUBE

(a) Install the differential gear lube apply tube to the transaxle housing.





8. INSTALL BEARING LOCK PLATE

(a) Install the bearing lock plate to the transaxle housing with the bolt.





Torque : 11 Nm (112 kgf-cm, 8 ft-lbf)

9. INSTALL COUNTER DRIVE GEAR HOLE SNAP RING

(a) Using a screwdriver, install the counter drive gear hole snap ring to the transaxle case.





10. INSTALL COUNTER DRIVE GEAR BEARING LH

(a) Using SST and a hammer, install the counter drive gear bearing outer race LH to the transaxle case.





SST : 09950-60020

09951-00890

SST : 09950-70010

09951-07150

(b) Install the counter drive gear bearing inner race LH and angular ball to the transaxle case.

11. INSTALL COUNTER DRIVE GEAR BEARING RH

(a) Using SST and a hammer, install the counter drive gear bearing outer race RH to the transaxle case.





SST : 09950-60020

09951-00890

SST : 09950-70010

09951-07150

(b) Install the counter drive gear bearing RH to the transaxle case.

12. INSTALL MANUAL VALVE LEVER SHAFT OIL SEAL

(a) Coat the lip of a new manual valve lever shaft oil seal with MP grease.

(b) Using SST and a hammer, install the new manual valve lever shaft oil seal.





SST : 09950-60010

09951-00220

SST : 09950-70010

09951-07100

Oil seal driven in depth:

-0.5 to 0.5 mm (-0.0197 to 0.0197 in.)

13. INSTALL DIFFERENTIAL DRIVE PINION

(a) Using SST and a press, install the differential drive pinion to the counter driven gear.





SST : 09950-60010

09951-00350

SST : 09950-70010

09951-07150

NOTICE:
When replacing the counter driven gear, replace the counter drive gear in the transaxle case as well.

Press in the differential drive pinion until it comes into contact with the counter driven gear.

14. INSTALL DIFFERENTIAL DRIVE PINION PLUG

(a) Using SST and a plastic hammer, install a new differential drive pinion plug to the differential drive pinion.





SST : 09221-25026

09221-00071

Standard clearance:

2.5 to 3.5 mm (0.0984 to 0.137 in.)

15. INSTALL COUNTER DRIVEN GEAR

(a) Install the counter driven gear and drive pinion thrust bearing LH to the transaxle case.





16. INSTALL PARKING LOCK PAWL

(a) Coat the parking lock pawl shaft with ATF.

(b) Install the parking lock pawl, parking lock pawl shaft torsion spring and parking lock pawl shaft to the transaxle case.





NOTICE:
Check that the parking lock pawl moves smoothly.

17. INSTALL MANUAL VALVE LEVER SHAFT

(a) Install the manual valve lever shaft to the transaxle case.





NOTICE:
Do not damage the oil seal lip.

18. INSTALL PARKING LOCK ROD SUB-ASSEMBLY

(a) Install the parking lock rod to the manual valve lever.





19. INSTALL MANUAL VALVE LEVER SUB-ASSEMBLY

(a) Coat the manual valve lever sub-assembly with ATF.

(b) Install the manual valve lever and a new manual valve lever spacer to the manual valve lever shaft.

(c) Using a pin punch and hammer, drive in the pin.





(d) Turn the spacer and lever shaft to align the small hole for locating the staking position mark on the lever shaft.





(e) Using a pin punch, stake the spacer through the small hole.

(f) Check that the spacer does not turn.

20. INSTALL MANUAL VALVE LEVER SHAFT RETAINER SPRING

(a) Install the manual valve lever shaft retainer spring to the manual valve lever shaft.





21. INSTALL PARKING LOCK PAWL BRACKET

(a) Install the parking lock pawl bracket, parking lock rod and cam guide sleeve to the transaxle case with the 3 bolts.





Torque : 20 Nm (204 kgf-cm, 15 ft-lbf)

22. INSTALL NO. 2 1ST AND REVERSE BRAKE PISTON O-RING

(a) Coat 2 new No. 2 1st and reverse brake piston O-rings with ATF, and install them to the No. 2 1st and reverse brake piston.





23. INSTALL NO. 2 1ST AND REVERSE BRAKE PISTON

(a) Coat the No. 2 1st and reverse brake piston with ATF, and install it to the transaxle case.





NOTICE:
Do not damage the O-ring.

24. INSTALL 1ST AND REVERSE BRAKE RETURN SPRING SUB-ASSEMBLY

(a) Install the 1st and reverse brake return spring sub-assembly to the transaxle case.





(b) Using SST, a press and a screwdriver, install the snap ring.

SST : 09387-00070

25. INSTALL COUNTER DRIVE GEAR

(a) Using SST and a press, install the counter drive gear to the transaxle case.





SST : 09223-15030

SST : 09527-17011

SST : 09950-60010

09951-00650

SST : 09950-70010

09951-07150

26. INSTALL PLANETARY GEAR ASSEMBLY

(a) Using SST and a press, install the planetary gear assembly to the transaxle case.





SST : 09950-60010

09951-00480

SST : 09223-15030

SST : 09527-17011

SST : 09950-70010

09951-07150

27. INSTALL COUNTER DRIVE GEAR NUT

(a) Secure the counter driven gear with the parking lock pawl.





(b) Using SST, install a new lock washer and nut.





SST : 09387-00121

Torque : 280 Nm (2855 kgf-cm, 207 ft-lbf)

(c) Using SST and a small torque wrench, measure the rotating torque while turning the counter drive gear at 60 turns per minute.





SST : 09387-00121

Rotating torque:

0.20 to 0.49 N*m (2.0 to 5.0 kgf*cm, 1.8 to 4.3 in.*lbf)

(d) Using SST and a hammer, stake the lock nut washer.





SST : 09930-00010

28. INSTALL 1ST AND REVERSE BRAKE DISC

(a) Install the 4 plates, 4 discs and flange to the transaxle case.





(b) Using a screwdriver, install the snap ring.

29. INSPECT PACK CLEARANCE OF 1ST AND REVERSE BRAKE

(a) Using SST and a dial indicator, measure the 1st and reverse brake clearance while pressing the discs and plates from the rear side.





SST : 09350-36010

09350-06110

Pack clearance:

0.81 to 1.20 mm (0.0318 to 0.0472 in.)

NOTICE:
If the clearance is not within the specified range, select a new brake flange.

HINT
There are 4 different thicknesses of flanges available.

Flange Thickness:





(b) Check that the 1st and reverse brake piston moves when compressed air (392 kPa, 4.0 kgf/cm2, 57 psi) is applied to the oil hole.

30. INSTALL FRONT PLANETARY SUN GEAR

(a) Install the planetary sun gear and needle roller bearing to the planetary gear assembly.





31. INSTALL 2ND BRAKE CYLINDER O-RING

(a) Coat 2 new 2nd brake cylinder O-rings with ATF, and install them into the 2nd brake cylinder.





NOTICE:
Do not damage the O-rings.

32. INSTALL 2ND BRAKE PISTON

(a) Coat the 2nd brake piston with ATF, and install it into the 2nd brake cylinder.





CAUTION:
Do not damage the O-rings when pressing the 2nd brake piston into the 2nd brake cylinder by hand.

33. INSTALL 2ND BRAKE PISTON RETURN SPRING SUB-ASSEMBLY

(a) Install the piston return spring.





(b) Place SST on the piston return spring, and compress the piston return spring with a press.





SST : 09387-00060

(c) Using a screwdriver, install the snap ring.

NOTICE:
Make sure that the end gap of the snap ring is not aligned with the piston return spring claw.

34. INSTALL OUTER RACE RETAINER

(a) Install the outer race retainer to the No. 2 one-way clutch.





35. INSTALL NO. 2 ONE-WAY CLUTCH

(a) Install the No. 2 one-way clutch and 2nd brake piston assembly to the rear planetary gear assembly.