Curiosii for ever!: Car repair manuals for everyone.

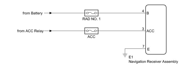
Radio Receiver Power Source Circuit





AUDIO / VIDEO: AUDIO AND VISUAL SYSTEM (w/ Multi-display): Radio Receiver Power Source Circuit
- Radio Receiver Power Source Circuit

DESCRIPTION

This is the power source circuit to operate the navigation receiver assembly.

WIRING DIAGRAM





INSPECTION PROCEDURE

NOTICE:
Inspect the fuses for circuits related to this system before performing the following inspection procedure.

PROCEDURE

1. INSPECT NAVIGATION RECEIVER ASSEMBLY (NAVIGATION RECEIVER ASSEMBLY POWER SOURCE)

(a) Disconnect the E1 navigation receiver assembly connector.

(b) Measure the resistance according to the value(s) in the table below.

Standard Resistance:





(c) Measure the voltage according to the value(s) in the table below.

Standard Voltage:





NG -- REPAIR OR REPLACE HARNESS OR CONNECTOR

OK -- PROCEED TO NEXT SUSPECTED AREA SHOWN IN PROBLEM SYMPTOMS TABLE Problem Symptoms Table