Curiosii for ever!: Car repair manuals for everyone.

Front Passenger Side Door Entry Lock Function Does Not Operate





THEFT DETERRENT / KEYLESS ENTRY: SMART KEY SYSTEM (for Entry Function): Front Passenger Side Door Entry Lock Function does not Operate
- Front Passenger Side Door Entry Lock Function does not Operate

DESCRIPTION

If the entry lock function does not operate for the front passenger door only, but the entry unlock function operates, the request code is being transmitted properly from the front passenger door. In this case, there may be a problem related to the front door outside handle assembly RH (for front passenger door) (lock sensor) (connection between the certification ECU (smart key ECU assembly) and front door outside handle assembly RH (for front passenger door) [lock sensor]).

WIRING DIAGRAM





INSPECTION PROCEDURE

NOTICE:
* The smart key system (for Entry Function) uses a multiplex communication system (LIN communication system) and the CAN communication system. Inspect the communication function by following How to Proceed with Troubleshooting How To Proceed With Troubleshooting. Troubleshoot the smart key system (for Entry Function) after confirming that the communication systems are functioning properly.
* When using the Techstream with the power switch off to troubleshoot:
Connect the Techstream to the DLC3 and turn a courtesy light switch on and off at 1.5-second intervals until communication between the Techstream and vehicle begins.
* Check that there are no electrical key transmitter sub-assemblies in the vehicle.
* Before performing the inspection, check that DTC B1242 (wireless door lock control) is not output Reading and Clearing Diagnostic Trouble Codes.
* Before replacing the certification ECU (smart key ECU assembly), refer to the smart key system (for Entry Function) precaution Smart Key System (for Entry Function).
* After repair, confirm that no DTCs are output by performing the "DTC Output Confirmation Operation".

PROCEDURE

1. CHECK POWER DOOR LOCK CONTROL SYSTEM

(a) When the door control switch on the multiplex network master switch assembly is operated, check that the doors unlock and lock according to the switch operation Operation Check.

OK:

Door locks operate normally.

NG -- GO TO POWER DOOR LOCK CONTROL SYSTEM How To Proceed With Troubleshooting
OK -- Continue to next step.

2. READ VALUE USING TECHSTREAM (LOCK SENSOR)

(a) Connect the Techstream to the DLC3.

(b) Turn the power switch on (IG).

(c) Turn the Techstream on.

(d) Enter the following menus: Body Electrical / Smart Key or Main Body / Data List.

(e) Read the Data List according to the display on the Techstream.

Smart Key





OK:

The Techstream display changes correctly in response to the operation of the front door outside handle assembly RH (for front passenger door).

NG -- CHECK HARNESS AND CONNECTOR (FRONT DOOR OUTSIDE HANDLE ASSEMBLY RH - CERTIFICATION ECU)

OK -- REPLACE CERTIFICATION ECU (SMART KEY ECU ASSEMBLY) Removal

3. CHECK HARNESS AND CONNECTOR (FRONT DOOR OUTSIDE HANDLE ASSEMBLY RH - CERTIFICATION ECU)

(a) Disconnect the V1 front door outside handle assembly RH (for front passenger door) connector.

(b) Disconnect the I86 and I87 certification ECU (smart key ECU assembly) connectors.

(c) Measure the resistance according to the value(s) in the table below.

Standard Resistance:





NG -- REPAIR OR REPLACE HARNESS OR CONNECTOR
OK -- Continue to next step.

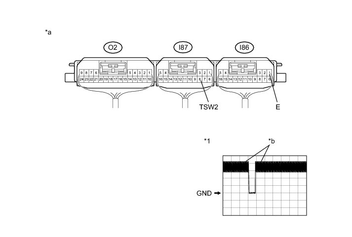
4. CHECK FRONT DOOR OUTSIDE HANDLE ASSEMBLY RH (FOR FRONT PASSENGER DOOR) (FRONT PASSENGER DOOR LOCK SENSOR SIGNAL INPUT)

(a) Connect the V1 front door outside handle assembly RH (for front passenger door) connector.





Text in Illustration





(b) Connect the I86 and I87 certification ECU (smart key ECU assembly) connectors.

(c) Using an oscilloscope, check the waveform.

OK:





NG -- REPLACE FRONT DOOR OUTSIDE HANDLE ASSEMBLY RH (FOR FRONT PASSENGER DOOR RH) Disassembly

OK -- REPLACE CERTIFICATION ECU (SMART KEY ECU ASSEMBLY) Removal