Curiosii for ever!: Car repair manuals for everyone.

Starter Relay: Testing and Inspection





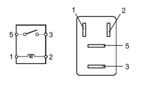
2AR-FE STARTING: RELAY: ON-VEHICLE INSPECTION

1. INSPECT STARTER RELAY

(a) Measure the resistance according to the value(s) in the table below.





Standard Resistance:





If the resistance is not as specified, replace the relay.