Curiosii for ever!: Car repair manuals for everyone.

VC Output Circuit





2AR-FE ENGINE CONTROL: SFI SYSTEM: VC Output Circuit
- VC Output Circuit

DESCRIPTION

The ECM constantly generates a 5 V power source voltage from the battery voltage supplied to the +B (BATT) terminal to operate the microprocessor. The ECM also provides this power source voltage to the sensors through the VC output circuit.





When the VC circuit is short-circuited, the microprocessor in the ECM and the sensors that are supplied with power through the VC circuit are inactivated because power is not supplied from the VC circuit. Under this condition, the system does not start up and the MIL does not illuminate even if the system malfunctions.

HINT
Under normal conditions, the MIL is illuminated for several seconds when the ignition switch is first turned to ON. The MIL goes off when the engine is started.

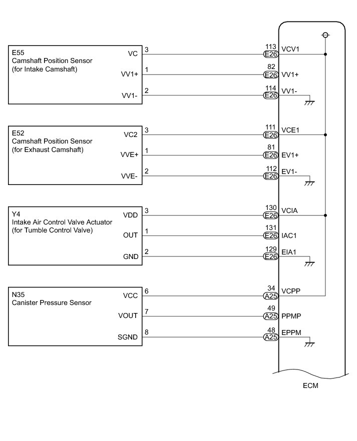
WIRING DIAGRAM









INSPECTION PROCEDURE

PROCEDURE

1. CHECK MIL

(a) Check that the Malfunction Indicator Lamp (MIL) lights up when the ignition switch is turned to ON.

OK:

MIL lights up.

NG -- CHECK COMMUNICATION BETWEEN TECHSTREAM AND ECM

OK -- PROCEED TO NEXT SUSPECTED AREA SHOWN IN PROBLEM SYMPTOMS TABLE Symptom Related Diagnostic Procedures

2. CHECK COMMUNICATION BETWEEN TECHSTREAM AND ECM

(a) Connect the Techstream to the DLC3.

(b) Turn the ignition switch to ON.

(c) Turn the Techstream on.

(d) Check the communication between the Techstream and ECM.

Result





B -- GO TO MIL CIRCUIT MIL Circuit
A -- Continue to next step.

3. CHECK MIL (THROTTLE POSITION SENSOR)

(a) Disconnect the throttle with motor body assembly connector.

(b) Turn the ignition switch to ON.

(c) Check the MIL.

Result





HINT
Perform "Inspection After Repair" after replacing the throttle with motor body assembly Programming and Relearning.

B -- REPLACE THROTTLE WITH MOTOR BODY ASSEMBLY Removal
A -- Continue to next step.

4. CHECK MIL (ACCELERATOR PEDAL POSITION SENSOR)

(a) Disconnect the accelerator pedal sensor assembly connector.

(b) Turn the ignition switch to ON.

(c) Check the MIL.

Result





B -- REPLACE ACCELERATOR PEDAL SENSOR ASSEMBLY Removal
A -- Continue to next step.

5. CHECK MIL (CANISTER PUMP MODULE)

(a) Disconnect the canister pump module connector.

(b) Turn the ignition switch to ON.

(c) Check the MIL.

Result





B -- REPLACE CANISTER PUMP MODULE Removal
A -- Continue to next step.

6. CHECK MIL (INTAKE AIR CONTROL VALVE ACTUATOR (FOR TUMBLE CONTROL VALVE))

(a) Disconnect the intake air control valve actuator (for tumble control valve) connector.

(b) Turn the ignition switch to ON.

(c) Check the MIL.

Result





B -- REPLACE INTAKE AIR CONTROL VALVE ACTUATOR (FOR TUMBLE CONTROL VALVE) Removal
A -- Continue to next step.

7. CHECK MIL (CAMSHAFT POSITION SENSOR FOR INTAKE CAMSHAFT)

(a) Disconnect the camshaft position sensor (for intake camshaft) connector.

(b) Turn the ignition switch to ON.

(c) Check the MIL.

Result





B -- REPLACE CAMSHAFT POSITION SENSOR (FOR INTAKE CAMSHAFT) Removal
A -- Continue to next step.

8. CHECK MIL (CAMSHAFT POSITION SENSOR FOR EXHAUST CAMSHAFT)

(a) Disconnect the camshaft position sensor (for exhaust camshaft) connector.

(b) Turn the ignition switch to ON.

(c) Check the MIL.

Result





B -- REPLACE CAMSHAFT POSITION SENSOR (FOR EXHAUST CAMSHAFT) Removal
A -- Continue to next step.

9. CHECK HARNESS AND CONNECTOR

(a) Disconnect the throttle with motor body assembly connector.

(b) Disconnect the accelerator pedal sensor assembly connector.

(c) Disconnect the canister pump module connector.

(d) Disconnect the intake air control valve actuator (for tumble control valve) connector.

(e) Disconnect the camshaft position sensor (for intake camshaft) connector.

(f) Disconnect the camshaft position sensor (for exhaust camshaft) connector.

(g) Disconnect the ECM connectors.

(h) Measure the resistance according to the value(s) in the table below.

Standard Resistance:





NG -- REPAIR OR REPLACE HARNESS OR CONNECTOR

OK -- REPLACE ECM Removal