Curiosii for ever!: Car repair manuals for everyone.

Part 2





NETWORKING: CAN COMMUNICATION SYSTEM: TERMINALS OF ECU - (Continued)



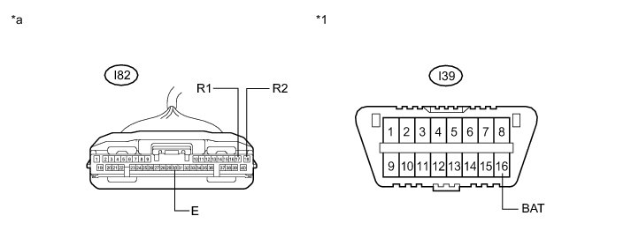
14. POWER STEERING ECU ASSEMBLY (for 2AR-FE w/o Wireless Door Lock)





Text in Illustration





(a) Disconnect the cable from the negative (-) battery terminal.

(b) Disconnect the power steering ECU assembly connectors.





Text in Illustration





(c) Measure the resistance according to the value(s) in the table below.

Standard Resistance:





15. POWER STEERING ECU WITH MOTOR ASSEMBLY (for 2AR-FE w/ Wireless Door Lock)





Text in Illustration





(a) Disconnect the cable from the negative (-) battery terminal.

(b) Disconnect the power steering ECU with motor assembly connectors.





Text in Illustration





(c) Measure the resistance according to the value(s) in the table below.

Standard Resistance:





16. POWER STEERING ECU ASSEMBLY (for 2GR-FE w/ Wireless Door Lock)





Text in Illustration





(a) Disconnect the cable from the negative (-) battery terminal.

(b) Disconnect the power steering ECU assembly connectors.





Text in Illustration





(c) Measure the resistance according to the value(s) in the table below.

Standard Resistance:





17. AIRBAG SENSOR ASSEMBLY





Text in Illustration





(a) Disconnect the cable from the negative (-) battery terminal.

(b) Disconnect the airbag sensor assembly connector.

(c) Measure the resistance according to the value(s) in the table below.

Standard Resistance:





18. SMART KEY ECU ASSEMBLY (CERTIFICATION ECU) (w/ Smart Key System)





Text in Illustration





(a) Disconnect the cable from the negative (-) battery terminal.

(b) Disconnect the smart key ECU assembly connector.





Text in Illustration





(c) Measure the resistance according to the value(s) in the table below.

Standard Resistance:





19. RADIO AND DISPLAY RECEIVER ASSEMBLY (for Radio and Display Type w/o Intuitive Parking Assist System)





Text in Illustration





(a) Disconnect the cable from the negative (-) battery terminal.

(b) Disconnect the radio and display receiver assembly connectors.





Text in Illustration





(c) Measure the resistance according to the value(s) in the table below.

Standard Resistance:





* *1: for 6 speakers

* *2: for 10 speakers

20. NAVIGATION ECU SUB-ASSEMBLY (for Radio and Display Type w/ Intuitive Parking Assist System)





Text in Illustration





(a) Disconnect the cable from the negative (-) battery terminal.

(b) Disconnect the navigation ECU sub-assembly connectors.





Text in Illustration





(c) Measure the resistance according to the value(s) in the table below.

Standard Resistance:





21. NAVIGATION ECU SUB-ASSEMBLY (for Navigation Receiver Type)





Text in Illustration





(a) Disconnect the cable from the negative (-) battery terminal.

(b) Disconnect the navigation ECU sub-assembly connectors.





Text in Illustration





(c) Measure the resistance according to the value(s) in the table below.

Standard Resistance:





22. AIR CONDITIONING AMPLIFIER ASSEMBLY (for Automatic Air Conditioning System)





Text in Illustration





(a) Disconnect the cable from the negative (-) battery terminal.

(b) Disconnect the air conditioning amplifier assembly connector.





Text in Illustration





(c) Measure the resistance according to the value(s) in the table below.

Standard Resistance:





23. AIR CONDITIONING AMPLIFIER ASSEMBLY (for Manual Air Conditioning System)





Text in Illustration





(a) Disconnect the cable from the negative (-) battery terminal.

(b) Disconnect the air conditioning amplifier assembly connector.





Text in Illustration





(c) Measure the resistance according to the value(s) in the table below.

Standard Resistance:





24. CLEARANCE WARNING ECU ASSEMBLY (w/ Intuitive Parking Assist System)





Text in Illustration





(a) Disconnect the cable from the negative (-) battery terminal.

(b) Disconnect the clearance warning ECU assembly connector.

(c) Measure the resistance according to the value(s) in the table below.

Standard Resistance:





25. NETWORK GATEWAY ECU (w/ Blind Spot Monitor System)





Text in Illustration





(a) Disconnect the cable from the negative (-) battery terminal.

(b) Disconnect the network gateway ECU connector.





Text in Illustration





(c) Measure the resistance according to the value(s) in the table below.

Standard Resistance:

V bus Branch Lines





Sub bus 2 Main Lines





26. BLIND SPOT MONITOR SENSOR LH (w/ Blind Spot Monitor System)





Text in Illustration





(a) Disconnect the cable from the negative (-) battery terminal.

(b) Disconnect the blind spot monitor sensor LH connector.





Text in Illustration





(c) Measure the resistance according to the value(s) in the table below.

Standard Resistance:





27. BLIND SPOT MONITOR SENSOR RH (w/ Blind Spot Monitor System)





Text in Illustration





(a) Disconnect the cable from the negative (-) battery terminal.

(b) Disconnect the blind spot monitor sensor RH connector.





Text in Illustration





(c) Measure the resistance according to the value(s) in the table below.

Standard Resistance: