Curiosii for ever!: Car repair manuals for everyone.

Yaw Rate Sensor Communication Stop Mode





NETWORKING: CAN COMMUNICATION SYSTEM: Yaw Rate Sensor Communication Stop Mode
- Yaw Rate Sensor Communication Stop Mode

DESCRIPTION





*1: Separate type yaw rate sensor

WIRING DIAGRAM





INSPECTION PROCEDURE

NOTICE:
* Before measuring the resistance of the CAN bus, turn the ignition switch off and leave the vehicle for 1 minute or more without operating the key, switches or opening or closing the doors. After that, disconnect the cable from the negative (-) battery terminal and leave the vehicle for 1 minute or more before measuring the resistance.
* After turning the ignition switch off, waiting time may be required before disconnecting the cable from the negative (-) battery terminal. Therefore, make sure to read the disconnecting the cable from the negative (-) battery terminal notices before proceeding with work Service Precautions.
* Because the order of diagnosis is important to allow correct diagnosis, make sure to begin troubleshooting using How to Proceed with Troubleshooting when CAN communication system related DTCs are output How to Proceed With Troubleshooting.
* After performing repairs, perform the DTC check procedure and confirm that the DTCs are not output again.
* DTC check procedure: Turn the ignition switch to ON, and then drive the vehicle at a speed of 6 km/h (4 mph) or more for at least 3 seconds. Check that the warning light remains off after turning off following the initial light check.
* After the repair, perform Communication Bus Check and check that all the ECUs and sensors connected to the CAN communication system are displayed Diagnosis System.

HINT
* Operating the ignition switch, any other switches or a door triggers related ECU and sensor communication on the CAN. This communication will cause the resistance value to change.
* Even after DTCs are cleared, if a DTC is stored again after driving the vehicle for a while, the malfunction may be occurring due to vibration of the vehicle. In such a case, wiggling the ECUs or wire harness while performing the inspection below may help determine the cause of the malfunction.

PROCEDURE

1. CHECK FOR OPEN IN CAN BUS LINES (YAW RATE SENSOR BRANCH LINE)

(a) Disconnect the cable from the negative (-) battery terminal.

(b) Turn the ignition switch off.

(c) Disconnect the connector of the yaw rate sensor.





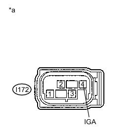
Text in Illustration





(d) Measure the resistance according to the value(s) in the table below.

Standard Resistance:





NG -- REPAIR OR REPLACE CAN BRANCH LINE OR CONNECTOR (YAW RATE SENSOR)
OK -- Continue to next step.

2. CHECK HARNESS AND CONNECTOR (POWER SOURCE CIRCUIT)

(a) Measure the resistance according to the value(s) in the table below.





Standard Resistance:





Text in Illustration





(b) Connect the cable to the negative (-) battery terminal.

(c) Measure the voltage according to the value(s) in the table below.





Standard Voltage:





Text in Illustration





NG -- REPAIR OR REPLACE HARNESS OR CONNECTOR (POWER SOURCE CIRCUIT)

OK -- REPLACE YAW RATE SENSOR Removal