Curiosii for ever!: Car repair manuals for everyone.

All Door Entry Lock/Unlock Functions Do Not Operate, But Wireless Functions Operate





THEFT DETERRENT / KEYLESS ENTRY: SMART KEY SYSTEM (for Entry Function): All Door Entry Lock/Unlock Functions do not Operate, but Wireless Functions Operate
- All Door Entry Lock/Unlock Functions do not Operate, but Wireless Functions Operate

DESCRIPTION

When the wireless operation can be used to lock and unlock the doors, communication between the door control receiver and certification ECU (smart key ECU assembly) is normal. If the entry lock and unlock functions do not operate, the entry cancel function may be set through the customize function, there may be communication problems between the electrical key transmitter sub-assembly and vehicle, or there may be wave interference.

INSPECTION PROCEDURE

NOTICE:
* The smart key system (for Entry Function) uses a multiplex communication system (LIN communication system) and the CAN communication system. Inspect the communication function by following How to Proceed with Troubleshooting How To Proceed With Troubleshooting. Troubleshoot the smart key system (for Entry Function) after confirming that the communication systems are functioning properly.
* When using the Techstream with the engine switch off to troubleshoot:
Connect the Techstream to the DLC3 and turn a courtesy light switch on and off at 1.5-second intervals until communication between the Techstream and vehicle begins.
* Check that there are no electrical key transmitter sub-assemblies in the vehicle.
* Before performing the inspection, check that DTC B1242 (wireless door lock control) is not output Reading and Clearing Diagnostic Trouble Codes.
* Before replacing the certification ECU (smart key ECU assembly), refer to the smart key system (for Entry Function) precaution Smart Key System (for Entry Function).
* After repair, confirm that no DTCs are output by performing the "DTC Output Confirmation Operation".

PROCEDURE

1. CHECK FOR DTC

(a) Check for DTCs Smart Key System (for Entry Function).

OK:

DTC is not output.

NG -- GO TO DIAGNOSTIC TROUBLE CODE CHART Smart Key System (for Entry Function)
OK -- Continue to next step.

2. READ VALUE USING TECHSTREAM (ENTRY CANCEL)

(a) Connect the Techstream to the DLC3.

(b) Turn the engine switch on (IG).

(c) Turn the Techstream on.

(d) Enter the following menus: Body Electrical / Smart Key / Data List.

(e) Read the Data List according to the display on the Techstream.

Smart Key





HINT
If the Data List cannot be read, check the value by performing manual operation of the customize function Customize Parameters.

Result:





B -- PERFORM CUSTOMIZE SETTING Customize Parameters
A -- Continue to next step.

3. CHECK WAVE ENVIRONMENT

(a) Move the electrical key transmitter sub-assembly as described below and perform the operation inspection Operation Check.

HINT
* When the electrical key transmitter sub-assembly is brought near the front door outside handle assembly (for driver door) or electrical key antenna, the possibility of wave interference decreases, and it can be determined if wave interference is causing the problem symptom.
* The transmitting wave of the wireless function and entry function are the same, but the wave logic is different. As a result, it is possible that only the wireless function or only the entry function is affected by wave interference.

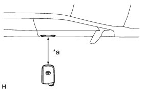
(1) Bring the electrical key transmitter sub-assembly approximately 0.3 m (0.984 ft.) from the front door outside handle assembly (for driver door) and perform a driver door entry lock and unlock operation check.





Text in Illustration





NOTICE:
If the electrical key transmitter sub-assembly is brought within 0.2 m (0.656 ft.) of the door handle, communication may not be possible.

(2) Bring the electrical key transmitter sub-assembly approximately 0.3 m (0.984 ft.) from the front door outside handle assembly (for front passenger door) and perform a front passenger door entry lock and unlock operation check.





Text in Illustration





NOTICE:
If the electrical key transmitter sub-assembly is brought within 0.2 m (0.656 ft.) of the door handle, communication may not be possible.

(3) Bring the electrical key transmitter sub-assembly approximately 0.3 m (0.984 ft.) from the electrical key antenna (outside luggage) and perform a luggage compartment door open function check.





Text in Illustration





NOTICE:
If the electrical key transmitter sub-assembly is brought within 0.2 m (0.656 ft.) of the rear bumper, communication may not be possible.

HINT
* If the inspection result is that the problem only occurs in certain locations or at certain times of day, the possibility of wave interference is high. Also, added vehicle components may cause wave interference. If installed, remove them and perform the operation check.
* If wave interference seems to be the likely cause of the problem, ask the customer if the problem occurs in specific locations.
* Move the vehicle to a different location, perform the following procedure and check if the symptoms can be reproduced.
* If a tool for checking electric waves, such as a signal strength meter, is available, move around the area while observing both the LF band (used by the vehicle antenna to form the detection area) and RF band (used by the electrical key transmitter sub-assembly for transmission) to check for locations where there is wave interference.

Result:





B -- AFFECTED BY WAVE INTERFERENCE

C -- GO TO OTHER PROBLEM (PROCEED TO PROBLEM SYMPTOMS TABLE FOR EACH DOOR) Problem Symptoms Table
A -- Continue to next step.

4. CHECK KEY DIAGNOSTIC MODE

(a) Check the following antennas in the key diagnostic mode Operation Check.

(b) Select either channel 1 or channel 2 and inspect the key diagnostic mode for each channel.

HINT
If the buzzer sounds with [CH1] displayed but not with [CH2], the electrical key transmitter sub-assembly cannot be detected by channel 2 due to a malfunction, such as wave interference.

(1) Check the electrical key antenna (for driver door):





Text in Illustration





When the electrical key transmitter sub-assembly is brought within 0.7 to 1 m (2.30 to 3.28 ft.) of the front door outside handle assembly (for driver door), check that the wireless door lock buzzer sounds.

(2) Check the electrical key antenna (for front passenger door):





Text in Illustration





When the electrical key transmitter sub-assembly is brought within 0.7 to 1 m (2.30 to 3.28 ft.) of the front door outside handle assembly (for front passenger door), check that the wireless door lock buzzer sounds.

(3) Check the No. 3 indoor electrical key antenna (inside luggage compartment):





Text in Illustration





When the electrical key transmitter sub-assembly is at the inspection point, check that the wireless door lock buzzer sounds.

(4) Check the No. 1 indoor electrical key antenna (front floor):





Text in Illustration





When the electrical key transmitter sub-assembly is at the inspection point, check that the wireless door lock buzzer sounds.

(5) Check the No. 2 indoor electrical key antenna (rear floor):





Text in Illustration





When the electrical key transmitter sub-assembly is at the inspection point, check that the wireless door lock buzzer sounds.

(6) Check the electrical key antenna (outside luggage):





Text in Illustration





When the electrical key transmitter sub-assembly is brought within 0.7 to 1 m (2.30 to 3.28 ft.) of the electrical key antenna (outside luggage), check that the wireless door lock buzzer sounds.

OK:

Wireless door lock buzzer sounds.

Result:





B -- GO TO OTHER PROBLEM (PROCEED TO PROBLEM SYMPTOM PROBLEM FOR EACH DOOR) Problem Symptoms Table

C -- GO TO OTHER PROBLEM Room Oscillator Does Not Recognize Key

D -- GO TO OTHER PROBLEM Luggage Compartment Door Entry Unlock Function Does Not Operate When Key Is Outside Luggage Compartment

E -- REPLACE CERTIFICATION ECU (SMART KEY ECU ASSEMBLY) Removal
A -- Continue to next step.

5. INSPECT ELECTRICAL KEY TRANSMITTER SUB-ASSEMBLY

(a) Check if there is another electrical key transmitter sub-assembly available that is already registered to the vehicle.

Result:





B -- CHECK ENTRY DOOR LOCK OPERATION
A -- Continue to next step.

6. ELECTRICAL KEY TRANSMITTER SUB-ASSEMBLY REGISTRATION (NEW ELECTRICAL KEY TRANSMITTER SUB-ASSEMBLY)

(a) Register a new electrical key transmitter sub-assembly Engine Immobilizer System (w/ Smart Key System).

NEXT -- Continue to next step.

7. CHECK ENTRY DOOR LOCK OPERATION

(a) Check the operation of the entry lock function Operation Check.

OK:

Entry lock function operates normally.

NG -- REPLACE CERTIFICATION ECU (SMART KEY ECU ASSEMBLY) Removal

OK -- END (ELECTRICAL KEY TRANSMITTER SUB-ASSEMBLY WAS DEFECTIVE)