Curiosii for ever!: Car repair manuals for everyone.

Operation Check





THEFT DETERRENT / KEYLESS ENTRY: SMART KEY SYSTEM (for Start Function): OPERATION CHECK

1. OPERATION DESCRIPTION

(a) Push-button start function:

(1) When the key is in a detection area inside the vehicle and the brake pedal is depressed, the engine is started by pressing the engine switch.

(2) When the key is in a detection area inside the vehicle and the brake pedal is not depressed, the power source mode is changed by pressing the engine switch. The power source mode changes in the following order every time the engine switch is pressed: off -> on (ACC) -> on (IG) -> off.

(3) After getting into the vehicle while carrying the key when the engine switch is off, if the engine switch is pressed while not depressing the brake pedal, the power source mode changes to on (ACC).

(4) After getting into the vehicle while carrying the key when the engine switch is off, if the engine switch is pressed 2 times without depressing the brake pedal, the power source mode changes to on (IG).

(5) After getting into the vehicle while carrying the key when the engine switch is off, if the brake pedal is depressed while the shift lever is in P or N, the smart warning light illuminates green*1 or the smart warning light is displayed*2.

HINT
* *1: w/o Multi-information Display
* *2: w/ Multi-information Display





(6) The engine starts if the engine switch is pressed when the smart warning light illuminates green*1 or the smart warning light is displayed*2.

Text in Illustration





HINT
* *1: w/o Multi-information Display
* *2: w/ Multi-information Display

(b) Changing the power source mode when the key does not operate correctly due to wave interference or key battery depletion:

(1) Unlock the door using the built-in mechanical key and get into the vehicle while carrying the key.

(2) While depressing the brake pedal, and facing the logo side of the key towards the engine switch, hold the key near the engine switch.

(3) A buzzer in the combination meter assembly sounds and the power source mode changes to on (IG). Pressing the engine switch without depressing the brake pedal turns the power source mode from on (IG) to off.

(c) Starting the engine when the key does not operate correctly due to wave interference or key battery depletion:

(1) Unlock the door using the built-in mechanical key and get into the vehicle while carrying the key.

(2) While depressing the brake pedal with the shift lever in P or N*, while facing the logo side of the key towards the engine switch, hold the key near the engine switch.

HINT
*: This is only applicable when the steering wheel unlocked.

(3) A buzzer in the combination meter assembly sounds, the power source mode changes to on (IG) and the smart warning light illuminates green*1 or the smart warning light is displayed*2.

HINT
* *1: w/o Multi-information Display
* *2: w/ Multi-information Display

(4) Press the engine switch with the brake pedal depressed to start the engine.

2. CHECK PUSH-BUTTON START FUNCTION

(a) Check the push-button start function:

(1) w/o Multi-information Display:

Get into the vehicle while carrying the key with the engine switch off. With the shift lever in P, check that the smart warning light illuminates green when the brake pedal is depressed. Then check that the engine starts when the engine switch is pressed after the smart warning light illuminates green.

(2) w/ Multi-information Display:

Get into the vehicle while carrying the key with the engine switch off. With the shift lever in P, check that the smart warning light is displayed when the brake pedal is depressed. Then check that the engine starts when the engine switch is pressed after the smart warning light is displayed.

(3) While the brake pedal is released and the key is being carried, check that the power source mode changes in the following order when the engine switch is pressed: off -> on (ACC) -> on (IG) -> off.

HINT
When the engine switch is pressed with the engine switch on (IG) and the shift lever not in P, the power source mode does not change to off, but changes to on (ACC).

(4) With the shift lever in P, check that the steering lock operates when a door is opened.

HINT
When the engine switch is pressed after the vehicle is stopped, the engine stops and all the power turns off. However, if the shift lever is not in P when the engine switch is pressed with the vehicle stopped, the power source mode does not change to off, but changes to on (ACC).

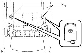
(5) Check the push-button start function operation range for the front side. Place the key in either of the two locations making sure that the key is oriented as shown in the illustration, and then check that the engine can be started.





Text in Illustration





NOTICE:
* Even if the key is in a vehicle interior key detection area, the key may not be properly detected if the key is on the instrument panel, in the glove box or on the floor.
* If the key is within 0.2 m (0.66 ft.) of the shift lever, communication may not be possible.

HINT
Perform this inspection for both inspection points.

(6) Check the push-button start function operation range for the rear side. Place the key in either of the two locations making sure that the key is oriented as shown in the illustration, and then check that the engine can be started.





Text in Illustration





NOTICE:
* Even if the key is in a vehicle interior key detection area, the key may not be properly detected if the key is on the instrument panel, in the glove box or on the floor.
* If the key is within 0.2 m (0.66 ft.) of the center of the rear seat, communication may not be possible.

HINT
Perform this inspection for both inspection points.

3. CHECK TRANSMITTER BATTERY SAVING FUNCTION

(a) Check the transmitter battery saving function:

(1) Press the unlock button of the electrical key transmitter sub-assembly twice while pressing the lock button and check that the electrical key transmitter sub-assembly LED blinks 4 times and enters transmitter battery saving mode.

(2) Check that the smart key system does not operate while in transmitter battery saving mode.

HINT
To cancel transmitter battery saving mode, press a button of the electrical key transmitter sub-assembly.

4. CHECK POWER SOURCE MODE CHANGING FUNCTION

(a) Check the engine switch.

(1) Check that the power source mode changes according to the chart below.





HINT
* *1: This situation is only applicable when the power source mode has changed from on (IG) to on (ACC) (Excludes an emergency stop by pressing the engine switch 3 times quickly or pressing and holding the engine switch for 2 or 3 seconds or more).
* *2: This situation is only applicable when the steering is unlocked.

5. CHECK POWER SOURCE MODE INDICATION

(a) Check the smart warning light (w/o Multi-information Display).





Text in Illustration





Indicator Inspection





(b) Check the smart warning (w/ Multi-information Display).





Text in Illustration





Multi-information Display Inspection





HINT
*1: Indicates the condition in which the engine can be started by pressing the engine switch while either of the following conditions is met:

* Condition 1
All of the following conditions are met:
* The power source mode was turned from on (IG) to on (ACC).
* Key verification is OK*2 or immobiliser is unset (engine switch is on (ACC) or on (IG)).
* The shift lever is in N and the steering is unlocked.
* The stop light switch is on.
* Condition 2
All of the following conditions are met:
* The power source mode was not turned from on (IG) to on (ACC).
* Key verification is OK*2 or immobiliser is unset (engine switch is on (ACC) or on (IG)).
* The stop light switch is on.
* The shift lever is in P, or the shift lever is in N with the steering unlocked.
*2: When the key is in the vehicle, the ID code sent as a result from communication between the key and certification ECU (smart key ECU assembly) and the ID code calculated by the certification ECU (smart key ECU assembly) are compared. If the ID codes match each other, the vehicle recognizes that the key is in the vehicle.