Curiosii for ever!: Car repair manuals for everyone.

System Description





THEFT DETERRENT / KEYLESS ENTRY: SMART KEY SYSTEM (for Entry Function): SYSTEM DESCRIPTION

1. SYSTEM DESCRIPTION

The following pattern will be used: "Operation" indicates user operation using the smart key system. "Expected operation of the vehicle" indicates how a known good vehicle will react in accordance with each operation. "Suspected Area/Diagnosis" indicates suspected malfunctioning areas and tips for each diagnosis if the vehicle did not react as expected.

(a) Example: Operation No.









2. BASIC PRECAUTIONS

(a) DTC numbers and ECU Data Lists of the smart key system can be checked using the Techstream.

(b) Check for DTCs using the following procedure. If any DTCs are output, diagnose those DTCs first.

(1) Connect the Techstream to the DLC3.

(2) Turn the engine switch on (IG).

(3) Enter the following menus: Body Electrical / Smart Key, Power Source Control or Starting Control / Trouble Codes.

(c) If the engine switch cannot be turned on (IG), follow the procedure below to start communication between the Techstream and vehicle.

(1) Connect the Techstream to the DLC3 and turn a courtesy light switch on and off at 1.5-second intervals until communication between the Techstream and vehicle begins (the Techstream screen changes when communication begins).

(d) If cancel is selected for the smart key system customize setting, cancel the smart key cancel setting Customize Parameters.

3. DIAGRAM OF SMART KEY SYSTEM













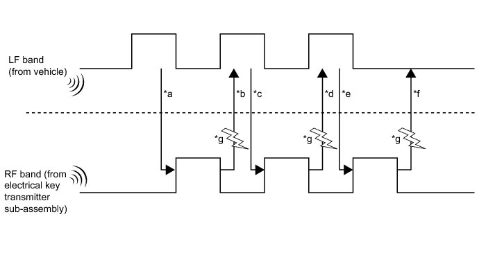
4. MULTI CHANNEL FUNCTION

(a) The electrical key transmitter sub-assembly and door control receiver can operate on two different RF channels. When an electrical key transmitter sub-assembly is brought within an exterior detection area, key verification begins. If key verification fails due to wave interference, the channel will be switched and key verification will be performed again.

The multi channel system begins verification using the channel on which the last verification was successfully performed. When verification fails, the system switches to the other channel.





Text in Illustration





The multi channel system changes the channels when the RF band (*b, *d and *f) is interrupted by wave interference.

Refer to the table below to confirm when the system changes the channels.





* *: The channels are not switched during vehicle interior verification after an entry lock operation is performed.

HINT
When the channels are switched, the history will be stored in the certification ECU (smart key ECU assembly). This history can be read using the Techstream. Operation History List

5. DIAGNOSIS IN ACCORDANCE WITH USER OPERATION

(a) Operation 1





* *: Smart Key System (for Entry Function)

(b) Operation 2





* *: Smart Key System (for Entry Function)









* *1: w/o Multi-information Display

* *2: w/ Multi-information Display

(c) Operation 3





* *: Smart Key System (for Entry Function)





(d) Operation 4





* *1: w/o Multi-information Display

* *2: w/ Multi-information Display

* *3: Smart Key System (for Entry Function)





HINT
The electrical key transmitter sub-assembly, the transmitter battery and the vehicle battery have already been inspected in the previous operation steps. However, if they have not been inspected, inspect them.

(e) Operation 5





* *1: w/o Multi-information Display

* *2: w/ Multi-information Display





(f) Operation 6









(g) Operation 7





(h) Operation 8









(i) Operation 9





6. VEHICLE BATTERY SAVING FUNCTION

(a) When the smart key system is operating, the vehicle performs key detection operations every 0.25 seconds. Therefore, if the vehicle is left as is for a long period of time, the vehicle battery may become fully discharged. The following controls help reduce the rate at which the vehicle battery is discharged.

(1) If the smart key system is not operated for 5 days or more, periodic signal transmission from the electrical key antennas stops. However, the doors can still be unlocked by touching the unlock sensor of a front door outside handle assembly.

(2) If the smart key system is not operated for 14 days or more, the lock and unlock sensors of the front passenger door outside handle assembly are disabled. Therefore, only the unlock sensor of the front door outside handle assembly of the driver door can be used to unlock the doors.

(3) If 10 minutes or more elapse while the electrical key transmitter sub-assembly is in an exterior detection area, the front door outside handle assembly (electrical key antenna) detecting the electrical key transmitter sub-assembly will stop operating.

(b) To restore operation of the smart key system, perform any of the following operations.

(1) While carrying the electrical key transmitter sub-assembly, touch the lock or unlock sensor of the front door outside handle assembly of the driver side door and perform a door lock or unlock operation.

(2) Lock or unlock the doors with the wireless operation.

(3) Insert the mechanical key into the door key cylinder of the driver door and lock or unlock the doors.

7. WIRELESS DOOR LOCK BUZZER VOLUME ADJUSTMENT FUNCTION

(a) The volume of the wireless door lock buzzer can be changed through the customize function.

HINT
The volume of the following wireless door lock buzzer operations cannot be adjusted.

* Warning function buzzer operations
* Customize function buzzer operations
* Buzzer operations for key diagnostic mode using the Techstream
* Key registration buzzer operations

8. WARNING FUNCTION

(a) Warning

(1) When any of the situations below occur, the smart key system causes the certification ECU (smart key ECU assembly) to sound the wireless door lock buzzer and a buzzer in the combination meter assembly a message to appear on the multi-information display*1, and the smart warning light in the combination meter assembly*2 to illuminate in order to alert the driver.

* *1: w/ Multi-information Display

* *2: w/o Multi-information Display

(2) Situation: The engine is left running and the shift lever is in a position other than P when the driver gets out of the vehicle.

* There are 2 patterns for this situation.

* Pattern 1:

When the engine is left running and the shift lever is in a position other than P, the driver opens the door and attempts to get out of the vehicle.

In this situation, the following control is performed:





*: w/ Multi-information Display

* Pattern 2:

Under the situation of pattern 1, the driver closes the door and attempts to leave the vehicle while holding the electrical key transmitter sub-assembly.

In this situation, the following control is performed:





*1: w/ Multi-information Display

*2: w/o Multi-information Display

(3) Situation: The key reminder sounds.

* When the driver door is open, the driver turns the engine switch on (ACC) and attempts to leave the vehicle.





(4) Situation: The engine is left running with the shift lever in P when the driver gets out of the vehicle.

* There are 2 patterns for this situation.

* Pattern 1:

When the engine is left running with the shift lever in P, the driver closes the driver door and attempts to leave the vehicle while carrying the electrical key transmitter sub-assembly.

In this situation, the following control is performed:





*1: w/ Multi-information Display

*2: w/o Multi-information Display

* Pattern 2:

Under the situation of pattern 1, the driver touches the lock sensor on the door outside handle assembly.

In this situation, the following control is performed:





*1: w/ Multi-information Display

*2: w/o Multi-information Display

(5) Situation: The engine is left running when a passenger gets out of the vehicle while carrying the electrical key transmitter sub-assembly.

* When the engine is left running, a passenger leaves the vehicle while carrying the electrical key transmitter sub-assembly.

In this situation, the following control is performed:





*1: w/ Multi-information Display

*2: w/o Multi-information Display

(6) Situation: The electrical key transmitter sub-assembly is not in the detection areas.

* When the electrical key transmitter sub-assembly is not in the vehicle or the transmitter battery is depleted, the driver attempts to start the engine or turn the engine switch on (IG).

In this situation, the following control is performed:





*1: w/ Multi-information Display

*2: w/o Multi-information Display

(7) Situation: The vehicle is driven without an electrical key transmitter sub-assembly.

* When the vehicle starts moving without the registered electrical key transmitter sub-assembly in the vehicle.

In this situation, the following control is performed:





*1: w/ Multi-information Display

*2: w/o Multi-information Display

(8) Situation: The electrical key transmitter sub-assembly is left in the vehicle.

The lock sensor on a door outside handle assembly is touched to perform entry lock with the electrical key transmitter sub-assembly left in the vehicle.

In this situation, the following control is performed:





*: w/ Multi-information Display

(9) Situation: Door is ajar.

* The lock sensor on the door outside handle assembly is touched to perform entry lock with a door open.

In this situation, the following control is performed:





(10) Situation: The electrical key transmitter sub-assembly is left in the luggage compartment door.

* The luggage compartment door is closed with the electrical key transmitter sub-assembly left in the luggage compartment.

In this situation, the following control is performed:





(11) Situation: The electrical key transmitter sub-assembly is locked inside the vehicle.

With a door open and the electrical key transmitter sub-assembly in the vehicle, the lock knob is locked and then the door is closed with the door handle being pulled.

In this situation, the following control is performed:





*: w/ Multi-information Display

(12) Situation: The transmitter battery is weak.

* The vehicle is driven using an electrical key transmitter sub-assembly that has a low transmitter battery.

In this situation, the following control is performed:





*1: w/ Multi-information Display

*2: w/o Multi-information Display

(13) Situation: The steering wheel cannot be released.

* The steering wheel cannot be released, thus the engine is prevented from starting.

The shift lever is moved to a position other than P before the steering wheel is unlocked.

In this situation, the following control is performed:





*1: w/ Multi-information Display

*2: w/o Multi-information Display

(14) Situation: The smart key system is malfunction.

* An IG circuit malfunction, vehicle speed signal malfunction or malfunction that interferes with steering lock ECU (steering lock actuator assembly) operation, has been detected.

In this situation, the following control is performed:





*1: w/ Multi-information Display

*2: w/o Multi-information Display

(15) Situation: The engine does not start. (Situation A)

* When the engine switch is pressed, the electrical key transmitter sub-assembly cannot be detected in the vehicle two times in a row.

In this situation, the following control is performed:





*1: w/ Multi-information Display

*2: w/o Multi-information Display

(16) Situation: The engine does not start. (Situation B) [w/ Multi-information Display]

* There are two patterns for this situation.

* Pattern 1:

A warning message appears on the multi-information display when the driver does not follow the proper procedure to start the vehicle.

In this situation, the following control is performed:





* Pattern 2:

A message indicating how to start the engine appears on the multi-information display when the shift lever is in a position in which the engine cannot be started.

In this situation, the following control is performed:





(17) Situation: The engine switch cannot be turned off. (w/ Multi-information Display)

* There are 2 patterns for this situation.

* Pattern 1:

A warning message appears on the multi information display when the driver attempts to turn the engine switch off with the shift lever in any position other than P or N

In this situation, the following control is performed:





* Pattern 2:

Under the situation of pattern 1, the shift lever is moved to P.

In this situation, the following control is performed:





(18) Situation: Auto power off operation occurs.

* A warning message appears on the multi-information display when automatic power off operation occurs.

In this situation, the following control is performed:





* *: w/ Multi-information Display

(19) Situation: Engine immobiliser system certification completion occurs. [w/ Multi-information Display]

* When an electrical key transmitter sub-assembly with a depleted transmitter battery is held near to the engine switch while depressing the brake.

In this situation, the following control is performed: